在一幢办公大楼内,或者相邻的住宅间有时为了想安装几只电铃,需要围绕房屋架挂许多电线,这样,既不美观又不经济。这里介绍一种不用电线的电铃,可以克服以上缺点。
当按下发送器的电源开关(SW)后,发送器就产生高频振荡(约625千周),经电灯线送出。
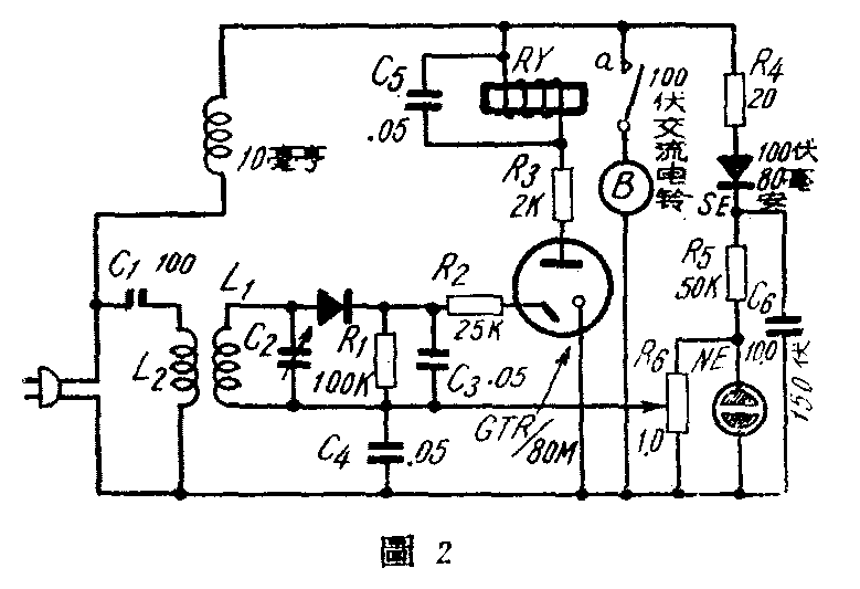
接收器经常处于待收状态,当收到高频电流后继电器Ry动作,接点a闭合,沟通电铃电路,电铃振鸣。
当开关SW释放后,发送器停止工作,接收机的继电器复原,接点a断开,电铃停止振鸣。
电路说明发送器使用一只直热管(3S4或3V4)作高频振荡,利用硒整流器整流后得到80毫安100伏的直流电压供给灯丝和屏压。L\(_{1}\)、L2、L\(_{3}\)为普通空心线圈。C3是固定电容器,容量为300微微法,它与线圈构成谐振电路。R\(_{3}\)是固定电阻,作为灯丝的降压电阻。L4是10毫亨的扼流圈。
当SW按下后,C\(_{6}\)的两端约有100伏的直流电压,电子管即起振荡,振荡电势经线圈L9、C\(_{4}\)输送到电灯线。
接收器电路中C\(_{2}\)是100-6O0微微法的可变电容器,用晶体检波,触发管V1为GTR/80M,V\(_{1}\)管屏极电 路中串接的继电器Ry的电阻为5000欧。硒整流器输出的整流电压也是100伏80毫安,作为V1的栅偏压。NE是氖灯,它和R\(_{6}\)的作用是保持V1起动极栅偏压的稳定。
接通电源后,交流电源经10毫亨高频扼流圈,硒整流器SE加到C\(_{6}\)的两端(约100伏),氖灯通常放电时电压维持在60伏左右,调整R6取得适当偏压,以使V\(_{1}\)起动极在获得一定的信号电压时便开始放电。
由发送器送来的高频信号经晶体检波后,在R\(_{1}\)两端即出现直流电压,因它和栅偏压串联。V1起动极电压上升,于是V\(_{1}\)开始放电。V1屏路继电器Ry动作,接点a闭合,电铃振鸣。
和Ry并联的电容器C\(_{5}\)的作用,是用来防止半波整流后的直流通过继电器产生抖动。R2是防止起动极电流过大。
应用上的几个问题:1.触发管V\(_{1}\)产生赤橙色表示放电正常。
2.整流器极性不能接反。
3.接收器在待收状态只消耗1毫安的电流,所以消耗不大。
4.3S4或SV4输出只有数百毫瓦,在市电电源合用一只屋外变压器的相邻住宅间使用时效果尚佳,距离再远可改用输出电力较大的直热管。
5.这种装置除去呼铃以外,还可以推广到其他如收音机或扩音机的遥控等等各个方面。(张洪泰节译日本“无线与实验”1957年第8期)

