最近我把原有的一部矿石、单管再生式收音二用机改装成矿石、单管再生式收音、低频振荡和低频放大四用机。本机的构造较简单,大部分另件都是共用。若原来有一灯机,只需要增加一块矿石、一个低频变压器、一个四刀三掷三波段开关、一个双刀双掷开关和几个接线柱就行。
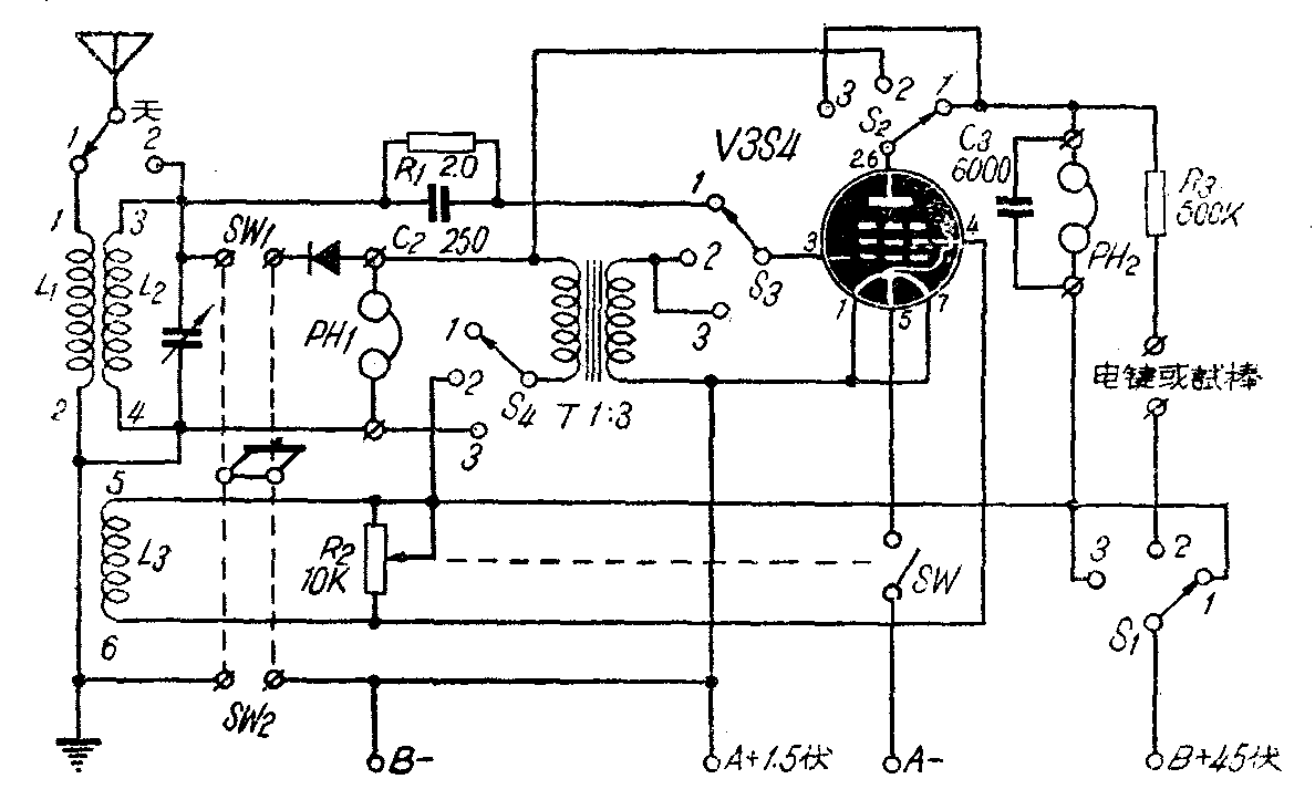
从电路图1可以看出:当耳机接PH\(_{1}\)时,接上天地线,使SW1闭合便成一部矿石收音机,这时SW开路,四刀三掷开关S掷于“2”。如果把耳机接在PH\(_{2}\)处,接好天地线和电池(天线应接在天1处),然后将开关SW\(_{2}\)和SW闭合,这时SW开路,把S掷到“1”处,便成一部再生式收音机,本机是用电位器与帘栅极并联方法控制再生,效果很好。如果将S掷到“2”处,闭合SW(SW1开路),接上电键(或试验棒)就成为一部低频振荡器。可以用来作电码练习,如果是接上校验棒,那么可以用来检查各种线圈,电路是否接通,电容器是否失效。如果将S掷到“3”处,闭合SW\(_{1}\),(SW2开路)调好矿石,便成一部矿石收音机的低频放大器,用矿石检波,经过放大后,将耳机接在PH\(_{2}\)处收听,如听本地电台时可用喇叭代替耳机。

本机另件排列可参考图2、图3和照片,在焊接和使用时需注意下列几点:
一、为了便于控制和使用,本机采用了一只四刀三掷三波段开关S,在接线时要认清各个接头的方向,接线的方向要一致,否则不能工作。

二、焊接可按下列次序进行:
1.焊接低频振荡部分(即S的第2个接头)。
2.焊接低频放大和矿石收音部分(即S的第3个接头)。
3.焊接单管机部分(即S的第1个接头)。每一部分的接线最好是用不同颜色的线,同时每焊好一部分即可开始校验和试听,如果发现毛病,应纠正后也继续焊接其他部分。
三、双刀双掷开关的接头要认清楚,不能接错,否则矿石和单管收音部分不能工作。
本机所用的线圈是一般的再生式三回路线圈,电子管除3S4外,还可以用ZΠ2Π、1S4、3Q4、1C5GT/G、1A5GT/G等电子管代替,代替时需按代用管的管脚接线,线路不改动。 (蔡宣展)
