无线电爱好者和从事维修工作的电信技术人员,常常需要很快的知道某一些电阻、线圈或电容器的数值。除了电阻可以用欧姆表迅速测得外,测量电感量或电容量一般都是利用阻抗电桥。电桥的准确度虽然很高,可是测量的手续比较复杂,使用很不方便,特别在环境噪音较大的场合下,使用听筒来辨别电桥平衡点是非常困难的。这里介绍一个直读式电感电容表的制造方法,虽说在准确度方面比不上电桥,但它却具有普通欧姆表简单迅速的优点,对于一般的测试工作是完全可以满意的。
简单原理
电表所根据的原理和欧姆表相同。欧姆表是比较通过被测电阻和电表内标准电阻的电流值而求得被测电阻的数值的,根据这个原理,也可以比较通过不同电抗的电流(或电压降)来求得被测电抗的数值。

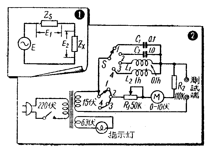
这架电表的设计原理见图1。Z\(_{s}\)为电表内标准电感线圈或电容器的阻抗,Zx为被测电感或电容的阻抗,I为通过Z\(_{s}\)和Zx的电流,E\(_{1}\)、E2分别为I通过时在Z\(_{s}\)和Zx上产生的电压降。由上图可知:
E=E\(_{1}\)+E2=IZ\(_{s}\)+IZx,
如果把Z\(_{x}\)短路,即Zx=0,这时E\(_{1}\)=E,也就是电表满度时的读数。则:
实用上绕圈和电容器的直流电阻(正确地说应当是低频交流的耗阻)很小,可以忽略,即:
│Z│≈│X│.
故:\(\frac{D}{_{s}}\)D0=1;1+\(\frac{X}{_{x}}\)Xs,
在测量电感时:
同理,测量电容时:
式中L\(_{s}\)、 Cs为表内标准电感量和电容量,L\(_{x}\)、Cx为被测线圈和被测电容的电感量和电容量。
具体制作
这架电表测量范围:电感是0—5亨和0—50亨两档,电容是0—5微法和0—50微法两档。具体线路见图2。电源变压器的铁心截面为25×25公厘,初级220伏用中规0.125号(相当于SWG40号)漆包线绕1760圈,次级15伏用中规0.56或0.710(22或24号)号线绕120圈,次级6伏用中规0.45(26或28号)号线绕48圈。铁心也可以用22×22公厘的,不过圈数照上面数字加1/4。铁心的窗口愈狭愈好,以恰能绕满最为理想。
电容器C\(_{1}\)、 C3 的耐压均为250伏,最好用密封式腊质或矿油浸的,国货中有很多种是用篦麻油浸的,损耗大,不能应用。这两个电容器的电容量要求很准确,最好事先用阻抗电桥测过。
标准电感线圈L\(_{1}\)、L2有国货供应,也可以自制。材料可利用旧的小型音频变压器铁心,不论是口字形或日字形都可应用,但坡膜合金片(白色铁片)的铁心效果好,硅钢片勉强可用,截面积有15公厘见方就够了。1亨的线圈约绕1200圈,0.1亨的约绕400圈,尽可能用较粗的漆包线绕制以降低直流电阻。绕成后的线圈在铁心之间应留一间隙,用硬纸或云母片填塞,利用阻抗电桥调整间隙宽度和线圈圈数,达到要求的电感量,然后将铁心夹紧再用沥青地腊浇注封牢以防变值。
电表表头是10公分见方氧化铜整流式的,灵敏度为交流每伏10千欧,倍率电阻可以不用,如倍率器系装在电表内部,则R\(_{2}\)可改用10千欧1瓦的。
图中R\(_{1}\)为电表零点调节器,S为测量范围的选择开关,应该注意,这个开关要用双刀四掷旋转式波段开关,如用单刀四掷式,有损坏电表之虞。
校验与分度
电源变压器制成后,要先测量一下它的漏感,方法是把初级线圈短路,用电桥测量15伏次级线圈的残余电感量,交压器愈好,漏感愈小。这个漏感要从标准电感量或电容量中除去,否则会影响到电表读数的准确度,即:实用的标准电感量(亨)= 规定的电感量-漏感量;实用的标准电容量(微法)=11;C\(_{s}\)+\(\frac{漏感量}{10}\)Cs为规定的标准电容量,在一般情形下漏感对电容量的影响很小,可以不计。
电表表面可以利用原表面的0—10伏交流电压分度,根据公式,令D\(_{0}\)=10,Ls=C\(_{s}\)=1,则电感量的分度为:
D\(_{x}\)=\(\frac{10}{1+L}\)x
电容量的分度为:
D\(_{x}\)=\(\frac{10}{1+}\)1;Cx.

如果找不到0—10伏的交流电表,其它数值的也可应用,但要求的灵敏度是100微安左右。先用适当的电压和分压器将它校核到0—10伏的分度,再行推算。设电压表的读数是从左到右,电容量的分度也是从左到右,但电感量的分度相反,是从右到左(图3)。如电感和电容的数值相同,它们在电压表上的分度有下列关系,即:电感分度=10-电容分度,也就是说它们的度数在0—10伏的表面上正好彼此翻一个身,在绘制表面时是很简单的。
电表可以装在薄铁皮箱里,尺寸并无规定,主要看所用另件的大小;能做得小巧轻便些,使用起来比较方便。(介子)