在有交流市电的小市镇,可以利用交流5灯收音机,当有线广播转播站用。
我们曾经试验用一部交流5灯收音机带动了20-25只舌簧喇叭(最长的喇叭线应不超过2公里),既可以转播中央人民广播电台和省台的无线电广播节目,又可以转播县里有线广播站的节目。要做到这一点,必须照下面的办法把收音机稍为改装一下。

首先把收音机上输出变压器初级的两个头拆下,这个变压器仍原封不动地留在喇叭上,另外再加上一只输出变压器,这只新的输出变压器可以用普通5灯机里输出变压器的现成铁心,初级用中规0.16号(相当于SWG1138号)漆包线绕2000圈(5000欧),次线用同号线绕630圈(500欧)。改装好以后,这部收音机就能够带动20-25只舌簧喇叭了。改装后的线路如图1。
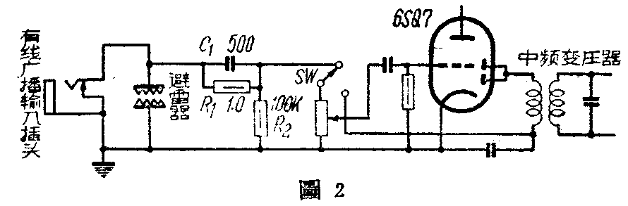
其次,为了转播有线广播,还必须在收音机控制音量的电路上加一个开关SW、两只电阻R\(_{1}\)、R2和一只小电容器C\(_{1}\)(图2)。接到收音机上的有线广播线,要用软质绝缘线。

这样改装对收音机并没有什么害处,但必须有人管理,按时开放广播。广播站还要负责维护和修理。另外,用户喇叭线可采用1.6或2.0公厘单铁线,照一般有线广播线路处理,最长的喇叭线不要超过2公里。每个喇叭要安装限流电阻和避雷器,以免遭受雷击,同时可预防因为一个喇叭坏了而影响全部喇叭不响。
这里要说明的是:当收音机改接成有线转播机以后,用户喇叭必须经常接上,如需单独用机内喇叭收听时,应加用一只5瓦500欧的电阻代替用户喇叭。(方锡)