音调控制在电声设备,广播设备、高级收音机中应用很广,它可以使音乐动听,语言清晰,提高传输的真实度,增加改变频率特性的灵活性。
听觉与音色有什么关系
声音的三个要素是响度、音调和音色。响度就是声音幅度的大小;音调就是基音频率的高低;每一个声音都有波幅最大的基音和许多谐波,语言和乐器的谐波成份都不相同,我们所以能辨别出演奏各种同样音调的乐器是小提琴或钢琴,就是因为各种乐器发出的声音里所包含的谐波成份不同,这样就构成了各种声音的音色。
人耳对于不同的音色虽有辨别力,但就听觉本身来说还是有一定的畸变存在着,对于在同一音压下的不同音调具有不同的灵敏度。人耳对中音(50—4000周)的感觉最灵敏,低于或高于中音的音调感觉较差,特别是低音的感觉比高音更差,所以往往在音量降低时便感到低音缺乏。例如,同是100分贝音量水平的100周和1000周的声音听起来一样响,便当音量水平降低到40分贝时,100周的声音就比1000周轻24分贝,如果要维持一样的轻响,100周的声音就只能降低到64分贝。高音的情形也是这样,不过没有低音那样严重吧了。
每个人对高低音的感觉是不同的,就是我们两个耳朵的听觉也都有显著的差别。同时音色的好坏也并不是绝对的,某人喜爱的音乐对另一个人来说可能就感到并不悦耳。高音过强了,音乐就感到刺耳、啸叫、咝咝声等噪声;高音弱了就感到沉闷,语言不易听清,往往在听音乐时低音加强一些可以显得柔和,在听京剧时高音加强一些就显得清脆。
频率响应对音色的影响
频率响应对音色的影响好坏占据了重要的地位,有人做了一种试验,证明在正确选择频率范围的上下边界时,频率范围越宽音色越好。例如频率范围50—10000周时是很好的,70—7000周和100—5000周都还好,甚至50或150到3500周的范围也还能算满意,而200—10000周却感到不好,原因是低音相对的不够。所以频率范围高频边缘与低频边缘的乘积适于选在450000—600000周,这时的高低边缘频率称为平衡边界。当然,过狭的频率范围(如像200—2500周)音色是不会好的。
音色与频率曲线的形状有密切的关系,有时频率曲线很不平坦,或者就是存在着很大的频率畸变,但听起来感到音色仍然是很优美的,这就是由于上述听觉本身就存在着畸变的缘故。通常音色畸变要等到频率畸变超过一定范围时才能感觉到。所谓音色畸变就是由于四种频率畸变引起的:高低音的提升和衰减,频率曲线的尖峰和深谷。
频率曲线高低音两端很陡峭的截止,比慢慢地衰减音色要好些。所以从经济的观点看,我们希望得到近于п形频率曲线,而不必去单纯地追求频率范围的加宽。同时在频率范围中最好尽量平坦,即使有提升也不宜提升过大,而在高低音两端同时有提升倒是可以增进音色的。
频率曲线上有很大的尖峰或深谷就要使音色变坏。中音时由于人耳较灵敏,影响较大,有时会使字音的特性发生改变;高低音时影响较小。但高音时出现过大的尖峰会产生啸声或咝声,低音时出现过大的尖峰会生隆隆声。一切峰点和谷点都是不希望有的,所以频率曲线要尽可能少波动。
音调控制器的作用
在收音机和放大器中,频率曲线不一定是十分理想的,许多电声元件,像微音器、拾音器、扬声器等,都存在着频率畸变,并且会产生尖峰。例如动圈式微音器、晶体拾音器在6—7千周时有尖峰,而扬声器频率曲线的波动更大。在电路中也存在着频率畸变,例如谐振电路、中频变压器的耦合程度都要影响频率范围,在选择性很高时截去了很多高低音。又如在低频电路中电子管的极间电容、交连电容器所呈现的阻抗等,都要影响高低音的强弱。音调补偿就是在电路中加入电抗性元件产生一些提升或衰减,用来弥补以上这些缺陷,修正频率畸变以减少这些缺陷造成的严重性,使复合的频率特性近于平坦。
音调控制除了音调补偿作用外,还能任意变化频率响应,以补偿人耳听觉的缺陷。正是由于人耳对音色的鉴别力每人每种节目都不相同,就要求音调控制做得可以随心所欲地灵活调节。并且有时故意人为地使频率特性带入一定的频率畸变,使声音更为动听;有时阻截频率特性的两边缘频率使响应较为平均。音调控制与自动音调补偿也是不同的,后者附属在音量控制器上,只是补偿音量降低时人耳对低音感到不足的缺陷。
要避免采用电感线圈作为音调控制器的电抗性元件,因为电感线圈笨重、价昂、易感受交流声,并且任何铁心的电感线圈,电感量随外加电压、频率和流过的直流电流而变,所以常用RC音调控制器。
RC音调控制器
用RC电路来调节音调,主要是利用电容器的阻抗随频率增减而减增的特性。有时用开关选择不同数值的电容和电阻来改变电路的响应特性,有时改变电位器的阻值来改变电路阻抗,而达到连续改变频率特性的目的。
简单的控制器是由电容器和电位器串联组成的二端网络,这种控制器不能真正的提升低音,而只是阻塞高音来达到提升低音的目的。因为它简单,所以还能采用。高音和低音的音调控制,最好能有分开的调节,调节时又要没有相互间的联系,并且能平滑地改变频率曲线。
作者曾搜集了数十种音调控制器电路,觉得音调控制器最宜装在级与级之间,并且由四端网络组成的较为理想,装在负回授网络中的音调控制虽然有效,但对原放大器的稳定度要求很高,调节范围由回授级数所限制,有时因调节范围过大,或因装置欠佳,易使相位特性改变而引起怪叫。利用改变第二级中频变压器线圈的耦合程度,可以很好地调节频率通带,与高音控制器机械连结后可以得到较好的高音调节。

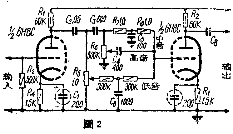
最为有效的音调控制器是经过RC选带滤波器把高、中、低音分成三路分别放大,图1就是这种线路的变形。适当选择R\(_{5}\)与R11的比值可以确定中音电平和调节范围;并且R\(_{5}\)愈比R11大,高低音的提升也就愈大,R\(_{1}\)、R11、C\(_{1}\)和C8的数值可以在收听时改变,求出最适宜的数值。这个电路中电子管的放大量正好用来弥补网络的衰耗,所以实际上没有什么放大作用。图2的电路约有50倍的放大量,它的频率特性曲线见图3。


用比较复杂的RC修正网络组成的音调控制器可以使频率特性曲线光滑地变化,可称是满意的,如苏联“列宁格勒-50”、“里加-10”、“留克斯”、“爱沙尼亚”牌收音机中所用的(图4)。图5是这类调节器的典型电路,低音控制器由R\(_{7}\)、R5、R\(_{8}\)、C5、C\(_{6}\)组成,高音控制器由C3、R\(_{6}\)、C1组成。图6是它的频率曲线。调节R\(_{5}\)能使低音产生衰减(旋到下面位置时)或提升(旋到上面位置时),调节R6能使高音产生衰减(旋到下面位置时)或提升(旋到上面位置时),中音强度受到这两个电位器旋动的影响而变动的范围很小。



现在我们来解释这种音调控制器所以能发生衰减和提升的原因。
在图5里,当低音控制器R\(_{5}\)旋到最低位置时C6短路,通过R\(_{9}\)加到Л2栅极上的是并联在栅极间阻值很小的电阻R\(_{3}\)上的电压降,而和栅极串联的是R7、R\(_{5}\)和C5。由于R\(_{5}\)很大,高音和中音主要依靠C5通过;对低音来说,音调愈低,C\(_{5}\)的阻抗愈大,愈难通过,而另一条路又是阻值很大的R5,所以低音衰减最大。如果R\(_{5}\)旋到最高位置把C5短路,和Л\(_{2}\)栅极串联的只有R7,R\(_{7}\)不随频率而增减,和栅极并联支路的阻抗由于R5、C\(_{6}\)的加入而增大,C6和C\(_{5}\)一样,对低音的阻抗远较对高音的阻抗为大,因此,相对地说,加到Л2栅极上的低音比高音和中音为大,低音得到了提升。
高音控制器的情形,R\(_{6}\)在最低位置时,和Л2栅极串联的是C\(_{3}\)和很大的电阻R6,C\(_{3}\)的作用不显著,并联的是C1,音调愈高,它的阻抗愈小,加到Л\(_{2}\)栅极上的电压愈小,高音被衰减得最大;R6旋到最高位置时,加到栅极上的是R\(_{6}\)和C1两端的电压,C\(_{1}\)的作用不显著,音调愈高,愈易通过C3,这时高音提升到最大。
当R\(_{5}\)、R6旋在中间位置时,作用就介于最大提升和最大衰减之间。通常电位器旋向最高位置的85%(这个位置要看电位器两端对称连接的两个电阻或电容器的比值而定)时,高低音和中音的响应相同,这时频率范围又宽又平。
在实际应用时,选用图5所示的数值并不一定最适当,原因是:使用的扬声器特性各有不同,木箱和房间的声学特性不同,放大器或收音机其他电路的频率特性也不相同,总的特性就不会完全一样,所以另件数值最好还是试听后再来修正。
电位器两端对称连接的两个电阻或电容,它们的数值都有一定的比值。当需要提高提升或衰减的陡度,即急剧的变化调节范围时,可以改变C\(_{1}\)/C3或C\(_{6}\)/C5的比值,增大比值则加高提升,减小比值则衰减。中音电平可由R\(_{7}\)、R8的比值决定。如果C\(_{1}\)/C3或C\(_{6}\)/C5的比值太大,也会增大中音的衰减,并使中音的波动增大,所以不宜超过10。如果提升或衰减还嫌不够,那么可以连接两个同型的控制电路。
选定C\(_{3}\)、R7、C\(_{5}\)时,应该考虑到这网络在中音段的输入阻抗不能拉低,免使上级放大管过荷而生非线性失真,或过多地降低了放大量,所以在电位器旋到任何位置时,输入阻抗的最小值应该比并联在网络输入端上的阻抗大10—20倍。同时,为了使下级电子管的输入电容C0 不致影响到修正性能,输入阻抗的最大值应该比C\(_{0}\)在高音时的阻抗还要小些。
最后要指明:由于加接了这种控制器,就要添增放大级来弥补损失。在希望增大调节范围时,也要考虑到放大器是否有足够的放大倍数和电力的储存量,例如中音输出1瓦时,在某频率上要提升10分贝,放大器就要输出10瓦,这时放大器可能会过负或产生大量失真;如果在某频率上要衰减10分贝,输出就只有0.1瓦了。相反,在最大提升10分贝时要有1瓦输出,中音就只有0.1瓦了,所以没有足够的电力储存量就只好减小调节提升范围。(龚方雅)