音响的一般概念
人耳能听闻的频率范围在20到20000周以内,而日常收听的无线电广播节目,它的音频范围如能从60到5000周内变化时,正负相差三分贝则已可视为上品。其中,低音频部分给人的强而有力的感觉,富于感情,而高音频部分则给人以清晰感。
一般超外差式广播收音机全机的音频响应在100周和400O周左右即开始下跌,如图1所示。图1的曲线称为频率响应特性曲线,它的不均匀性称为频率失真。由经验得知,这不均匀性在所需音频范围内有正负1至2分贝的变化可认为是容许的,因为这些变化人耳还感觉不出。频率失真由整个传送系统所形成,包括:传音器、拾音器、放大器、发射机和传输线,在收音机内主要是调谐回路、音频放大部分以及扬声器等。可以想像,这个综合的响应特性是不能满足听众的要求的,例如喜好音乐的听众大都希望有丰富的低音(常称培司)以求浑厚轻快;喜好戏剧等节目的听众又要求有足够的高音以求真实清晰。但一般收音机中的音调控制是用衰减高音的办法来相对显示出低音的提高,这样乐器的不少高音部分被抑制了,失去了乐曲原有的优美,听起来沉闷黯哑。笔者要介绍的是一架高低音可随意调节的6管超外差式收音机,如利用已有5灯收音机加以改装也并不困难,根据试验得到的结果极为满意。

线路介绍
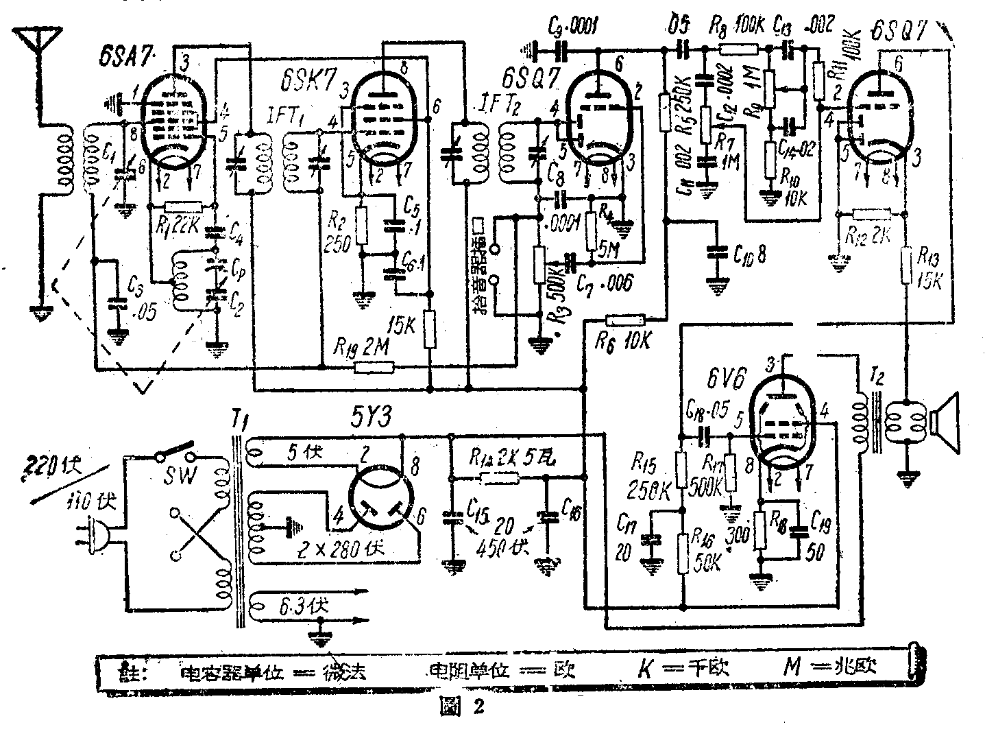
图2为一架有高低音调节的6管收音机,所用电子管见图注,只比一般5灯超外差式收音机多用了一只6SQ7。就线路而言却多了音调补偿,去耦回路,负回授等,现就这几方面来加以说明。

音调补偿回路
音调补偿回路采用了高音及低音分别补偿的电阻电容衰减器,该类型式的衰减器因没有电感故最为经济实用。图2中电位器R\(_{7}\)及R9分别为高音及低音控制器,当R\(_{7}\)旋到最上端时,高音最大,旋到最下端时高音最小;而R9旋到最上端时低音最大,旋到最下端时低音最小。这个音调补偿回路总的频率特性见图3,衰减约-20分贝,故再增一级音频放大加以弥补。如图2所选择的阻容数值经6SQ7三极部分放大后,增益约提升20余分贝,这样输出音量就不会减低,而高低音调则可随意调节。

负回授
本机由输出变压器T\(_{2}\)次级一端到第二级6SQ7的阴极端接有-15千欧电阻R13;来取得负回授效应,以进一步改善音调并减小放大器的内部杂音。R\(_{13}\)可见在15千欧到20千欧任意选用,以不致因负回授过强而减低音量为度。
去耦回路
收音机里的各极电子管的乙电,一般都由公用的整流电源供给,但整流器的内阻不等于零而为各放大级的公共回路,故有可能成为回授元件,产生自激振荡。常见的5管收音机里低频放大不过两极,它们的相位关系是反相的,不致因回授而引起振荡,而变频和中频各级间,又因各自放大的频率不同;故引起振荡的可能性更小。现在参加了一级音频放大,三级低频放大间的相位关系就有正有负,不加去耦回路必然会引起低频振荡,发出“扑扑”的汽船声。因此,两级6SQ7 屏极回路中均装有由R\(_{6}\)、C10和R\(_{16}\)、R17组成的去耦回路,以保证工作的稳定性。同时6V6的屏极电源直接由整流管灯丝引出而不经滤波电阻R\(_{l4}\),这样可增强去耦效应并可减少滤波电阻的瓦数。滤波电容器C15、C\(_{16}\)可用16-32微法的,以减少交流音。
注意事项

1.底板零件排列请参着图4,高音和低音补偿用的电位器R\(_{7}\)、R9如受收音机木箱及底板的限制,也可装在底板后面,不过调节起来不大方便。电位器的连接线不宜过长,并应用金属隔离线。所有补偿回路的电阻电容尽可能选用体积小的并排列整齐,切忌东一个西一个,接线交叉杂乱,以免引起不必要的感应和振荡。
2.第二级6SQ7的两个小屏这里没有作用,故把它接地。如有高放大系数三极管如6SL7等亦可代替6SQ7。
3.变频和中频等部分与一般线路相同,图2中只给出广播波段,也可根据需要装成两波段或三波段的。
4.这架收音机最好能配一直径16公分以上的扬声器,这样效果才更显著,如能配接直径20公分或25公分的扬声器,并单独装人宽敞的喇叭箱,则声音更为柔和动听。
5.一般5灯变压器用在本机内稍嫌负荷重些,但尚无大碍,最好把度盘指示灯减少一只,以减轻灯丝电源负荷。(小英根据日本“无线与实验” 1957年第2号编写)