现代的收音机为了改善音质,大都采用各种型式负回授。因此,无线电爱好者们就很需要知道负回授一些主要线路和它的简单的计算方法。
什么是负回授
负回授就是从放大器的输出端取出一部分电压加到放大器的输入端,来改善放大器的特性。例如图1是音频放大器中常用的线路,这里加到输入端的回授电压U\(_{β}\)和输出端的电压U2成比例,叫做“电压负回授”。
另有一种叫做“电流负回授”,其中回授电压流过负荷的电流成比例,这种回授有一些缺点,音频放大器中很少采用,因此本文将不加讨论。
图1的回授线路中,加到前级放大电子管栅极上的电压U\(_{g}\)是信号电压U1和回授电压U\(_{β}\)之和,由于同授电压和信号电压相位不同,Uβ和U\(_{1}\)相加的结果,Ug可能比U\(_{1}\)大,也可能反而比U1小。如果相加的结果U\(_{g}\)大于U1,叫做“正回授”,可以提高放大器的增益,但失真将大大增加并引起振荡;反之,如相加的批果,使U\(_{g}\)小于U1,叫做负回授,可以抑制各种失真,使放大器工作稳定。

放大器的失真主要有雨种:一种是非线性失真,另一种是频率失真。
非线性失真
非线性失真是由于电子管特性曲线或音频变压器铁心磁化曲线的参数之间不是线性关系所引起的。以电子管为例,当栅极上加有信号电压后,屏流变化的波形和加到栅极上电压的波形有些差别(图2),它不仅含有和输入的信号电压波形以及频率相同的基波,并且还含有输入端所没有的新的高次谐波,输出和输入信号波形的不一致,也就是说产生了非线性失真。

放大器加接了负回授,让一部分输出电压(包括基波和高次谐波)反过来加到输入端电子管的栅极上,如果相位和大小调整适当,就相应地削弱了放大器所产生的高次谐波和输入的信号电压,当然,高次谐波的削弱,可以减小失真,但输入信号的削弱,意味着输出功率减小,固此,在采用负回授的同时,还必需按放大器增益减弱的倍数比例地提高输入的信号电压,才可以保持输出功率不变。此外,接用了负回授后,还可以减弱放大器的内部杂音和交流声。
采用负回授后,放大器的增益K\(_{f}\)、非线性失真rf 和内部杂音U\(_{nf}\)的减弱,可以用下式表示,即
K\(_{f}\)=K/1+Kβ;rf=r/1+Kβ;U\(_{nf}\)=Un/1+Kβ。
式中K、r、U\(_{n}\)是放大器没有加负回授时的增益、非线性失真率和内部杂音电压,β是回授电压和输出电压之比(β=Uβ/U\(_{2}\))。
从上式可以看出,K\(_{f}\)、rf、U\(_{nf}\)和1+Kβ=A成比,A值一般取3—4,过大时不仅过份降低了放大器的灵敏度,也增加了产生自振的可能。
频率失真
理想的放大器,对所放大的音频范围内各个频率的增益应核相同,也就是说频率响应特性曲线是一条水平直线,但由于电路内存在有电感或电容性元件,使音频特性变坏,特别在频带两端f\(_{1}\)和f2处最为严重,曲线呈下降形状(图3a),引起了频率失真。
当放大器加用了负回授后,各频率的增益普遍降低,在f\(_{1}\)和f2两端处,由于放大器输出电压较低,回授电压(U\(_{β}\)=β·U2)相对减小,因此,在这两端附近增益降低得较少,使特性曲线趋近平坦(图3б),频率失真就减小了。

回授级数一多,或回授电路中含有电感和电容性元件时,回授电压和输入电压的相位偏移很大,可能形成正间授。此时f\(_{1}\)和f2两端的增益不仅不降低,反而有提高的趋势(图4),却好用来矫正频率失真,有些收音机的音调补偿就是利用这种方法来实现的。但是设计不善,常常有引起强烈交流声的危险。

在末级输出是甲类放大的小功率放大器中(包括收音机音频放大部分),加用一级回授已经足够,因为输出管的波幅最高,工作条件最坏,失真最厉害。如果末极采用甲乙\(_{2}\)类或乙类放大,此时应用二级回授,但至多不超过二级,以免引起自振。
一级负回授
图5、6、7、8是简单的一级负回授级路,输出管可以是五极管,也可以是束射管、四极管或三极管。




图5中回授电压由输出变压器TP上的附加线圈供给,这个线圈可以绕在初、次级线圈的外层,圈数计算如下:
因为
A=1+Kβ=1+\(\frac{U}{_{a}}\)Ug·Nβ;N\(_{1}\),
式中K是输出级增益,不包括输出变压器T\(_{P}\)的变压比;Ua是输出音频电压的峰值;U\(_{g}\)是输入到栅极的信号电压的峰值;N1和N\(_{β}\)是TP初级圈和回授线圈的圈数。
解上式可求得回授线圈
N\(_{β}\)=N1(A-1)·\(\frac{U}{_{g}}\)Ua=N\(_{1}\)A-1;K。
比值U\(_{a}\)/Ug=K通常为10左右(K不是电子管特性表上的静态放大系数),可从电子管特性曲线上求得,也可以直接计算,即U\(_{a}\)=/2PRa(P—输出功率,R\(_{a}\)—负荷电阻)。计算Nβ时N\(_{1}\)应为已知,A的数值通常取3-4。
例如电子管6Ф6的额定工作数据为:U\(_{g}\)=15伏,Ua=200伏,取A=3,可以求得
N\(_{β}\)=N17。
为了使输出功率不变,前级放大管的输出电压必须提高A倍,即从15伏提高到45伏,以弥补由于负回授引起的增益的减低。
回授线圈导线的截面积可以和初级线圈的相同。如果装好后放大器失真增加或发出吼叫声,那就是线头接反了,可以对调改正,声音就特别清晰。
这种线路用的另件最少,效果也很好,必要时也可以设计成二级负回授。
图6是并联回授线路,虽和图5的串联线路不同,但效果一样。并联线路同样使增益减低A倍,为了补偿增益减低,可以适当提高前级放大管的负荷电阻R\(_{a}\)(图6)。如果前级放大管的屏阻很高,超过了它的负荷电阻许多倍,并联回授的效果很好。例如用6Ж7来做音频的前级放大,就能满足这个条件。
图6中的R\(_{β}\)的求法如下:
β=\(\frac{R}{_{a}}\)Rβ,
A=1+K\(_{β}\)==1+K·RaK\(_{β}\)
因此,
R\(_{β}\)=Ra\(\frac{K}{A-1}\)。
通常K=10,A=3,故
R\(_{β}\)=5Ra。
图7是图6的变形,计算程序相同。β值可近似地按下式计算:
β=\(\frac{R}{_{g2}}\)Rg2+R\(_{β}\)·Ra;R\(_{a}\)+Rg1。
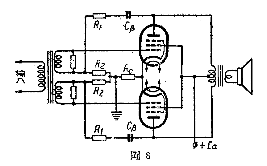
图8是甲类放大的推挽输出回授线路,回授电压从屏极经分压电阻R\(_{1}\)、R2加到栅极上去,电容器C\(_{β}\)是用来把屏极与栅极隔开,对音频说,容抗很小可以忽略,线路中分压电阻R1和R\(_{2}\)的计算如下:
令R\(_{1}\)+R2为R\(_{β}\),则
β=\(\frac{R}{_{2}}\)R1+R\(_{2}\),
A=1+Kβ=1+K\(\frac{R}{_{2}}\)R1+R\(_{2}\),
R\(_{2}\)=Rβ\(\frac{A-1}{K}\),
R\(_{1}\)=Rβ-R\(_{2}\)。
R\(_{β}\)通常取100千欧—200千欧,K值求法同前(K=UaU\(_{g}\))。
C\(_{β}\)的选择,应使它对整个频带的容抗都比Rβ小,可用下式求得:
C\(_{β}\)=\(\frac{10}{^{4}}\)Rβ微法。
如果求得的C\(_{β}\)不是整数,可选较大的容量。上式同样适用于图7、8、9、11中的Cβ。
二级负回授
如果希望同时减弱前级放大器中所产生的失真和杂音,回授电压应加到前级电子管的输人端,如图9、10、11。

图9中回授电压从输出管屏极以C\(_{β}\)、Rβ加到前级电子管的阴极电阻R\(_{c}\)上。电阻Rc同时用来产生栅偏压,它的数值可用普通方法计算:
R\(_{c}\)=EgL\(_{a}\)+I9,
式中E\(_{g}\)是电子管的额定栅偏压,Ia和I\(_{9}\)是屏流和帘栅流。这些数值都可以从电子管特性表中查得。Rβ可用下式求得:
R\(_{β}\)=Rcβ=R\(_{c}\)·K;A-1,
式中K是两级放大的总增益,等于两极增益的乘积,即
K=K\(_{1}\)·K2=S\(_{1}\)·Ra·R\(_{g}\)Ra+R\(_{g}\)·S2·R\(_{az}\),
式中S\(_{1}\)和S2是第一个和第二个电子管的跨导,R\(_{a}\)和Rg是屏路和栅路中的电阻(图9),R\(_{az}\)是反应到末级屏路的负荷电阻,即
R\(_{az}\)=RH(N1N\(_{2}\))\(^{2}\)。
这里R\(_{H}\)是输出变压器次级的负荷电阻(如扬声器音圈阻抗),N1和N\(_{3}\)是输出变压器初级和次级线圈的圈数。
图10 线路和图9大致相同,只是回授电压从输出变压器次级的分压电阻R\(_{β}\)=Rl+R\(_{2}\)上取得。

R\(_{β}\)应当比输出变压器次级的负荷电阻大40-50倍,电阻R1和R\(_{2}\)可用图8线路中的公式来计算:
R\(_{2}\)=Rβ\(\frac{A-1}{K}\);R\(_{1}\)=Rβ-R\(_{2}\)。
这里K是包括输出变压器变压比在内的总增播,即
K=K\(_{1}\)·K2=S\(_{1}\)Ra·R\(_{g}\)Ra+R\(_{g}\)·S2·R\(_{az}\)·N2;N\(_{1}\)。

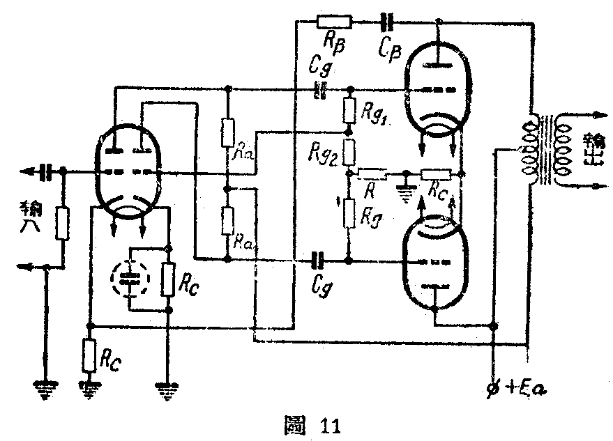
图11是自动平衡倒相级推换挽输出的负回授线路,这种线路仅适用于输出级工作于甲类情形下.这种回线路的计算和图9相同。(张瑞恒摘译)