(冯报本)我们已讲过的各种实用收音机都比较简单,它们的特点是检波以前的线路不改变外来信号的载波频率,我们叫它做“直接放大式”线路。这种收音机存在着若干缺点,首先表现在对各个频带的放大量并不相等,例如在广播段收听靠近1600和550千周的电台时,这两端电台音量的大小会有外来信号,不论它的频率是高是低,在检波以前的线路里经差频作用,先把它交成一个预定的固定频率,并加以放大,这样就解决了上面所说的各个频带的放大量不均匀的问题。把外来信号变换成预定的固定频率的工作称为“交频”。交频后得到的新的频率称为“中间频率”(简级“中频”,因为它比高频低又比低频高)。

超外差式线路的工作程序,可用图1表示:外来信号从天线输入到变频级变为预定的中频,经过中频放大,由检波级将音频信号检出,在第一低放级放大后推动功率放大级,使喇叭将声音重放出来。
由于这种线路只放大一个固定的中频,所以它具备若干优点,例如对各个电台的放大量比较平均,不受频率差异的影响,在收听多波段时尤为相宜;可以选用有利的中频,提高收音质量;可以消除干扰信号,增加收音机的选择性;能够充分保留主频率所包括的两侧频带,所以选择性虽然显著差别,难以兼顾;其次,选择性和灵敏度也不能尽如人意;此外,收音时受到衰落现象的影响也大,所以直接放大式线路应用并不广泛。
超外差式线路基本上避免了直接放大式的缺点,不仅使用手续简便,效率也好。
所谓超外差式线路,是将收到的增高,也不致破坏音质的完美。当然,这种线路也有它的缺点,主要是“像频干扰”,就是一个电台有时会在度盘上的两个刻度上出现,或是一个刻度上重叠着两个电台(这和选择性不佳所发生的原因不同),不过这种现象并不一定昱露,也可以设法避免。其次灵敏度增加,必然使一些杂音干扰随着增加。但是总的来说,它的优点是主要的。
这里简略介绍一下线路中各工作级的工作情况:
1.变频级
差频 变频级是将外来信号变为预定中频的关键。假如线路里本身有一个振荡频率,那末它将和外来信号的频率起作用,它们频率的相差就是差频,可以设法检出。但是两个频率只有在通过“非线性元件’(如半导体、电子管)才能得到这两个频率的差频——一个新的频率。
实用上,变频级包括有一个产生振荡的线路,叫做“本地振荡”。它和外来信号在“混频”装置里产生差频而被检拾出来。这两个工作,可以分别各用一只电子管担任(图2甲),也可用一只专用的“变频管’担任(图2乙)。

统一调谐 变频级像一般收音机一样需要一个调谐回路,好接收外来信号;本地振荡也需要一个调谐回路,以便和外来信号相适应,产生预定的中频。例如我们预先选定的差频(中频)为465千周,当接收1350千周北京人民广播电台时,本地振荡的频率就应为1350+465=1815千周或1350-465=885千周,它比外来信号高于或低于一个差频的数值都能产生相同的差频。不过,收音机总是要接收很多的电台,当外来信号的频率变换时,本地振荡频率也应该相应变换,也就是说,不论外来信号的调谐回路调谐到任何频率,本地振荡必须跟踪着调谐到发生预定差频的频率,它们之间需要永远维持一个固定的差数,才能得到预定的中频。这种跟踪调谐的方法就是统一调谐。
统一调谐的方法一般是使用同轴的双连可变电容器,这个同轴电容器要求两组片子无论旋到任何角度,都能使两个调谐回路的频率恰好维持在预定的差频上。但是这两个调谐回路的波段复盖系数(调谐频率范围内最低和最高频率的比值)是各不相同的,例如预定的中频为465千周,当接收广播波段时,外来信号的波段复盖系数是1600/550≈2.9:1;本地振荡的频率范围相应是550+465到1600+465=1015到2065千周,波段复盖系数是2065/1015≈2:1。但是调谐电容器的复盖系数应为各自的调谐回路波段复盖系数的平方值,即前者的电容复盖为9:1,后者为4:1。因此,双连可变电容器的两组片子就要特殊制造,一组大,一组小,以适应两个不同的电容复盖系数。在多波段的收音机上,因每个波段的复盖系数并不相同,采用这种双连可变电容器还是不大适用。

通常用的双连可变电容器,它的两组片子的形状和容量都完全相等,使用时在本地振荡的调谐回路中串入一只“垫整电容器” C\(_{p}\)(图3),以减低调谐电容器C的最大电容量,使调谐回路低频端的频率稍为升高;又在调谐电容器的两端并联一只半调整电容器G,以增加调整电容器C的最小电容量,使高频端的频率稍为降低。这祥,可以使C上有三点(靠近电容量最大、最小和中点处)恰好比外来信号高一个中频,而在其他位置,虽然不完全恰好高出一个中频,但已很接近,实用上影响不大。用这种调谐回路的多波段收音机,当波段交换时,垫整电容器Cp要随着变换。
变频管现在超外差式收音机里的变频管,大多是一种包括有一组混频和一组振荡的专用电子管、常见的有下列几种:

甲、七极变频管(图4):这是早期的为频管,G\(_{1}\)是振荡栅,它和一对杆子状的“屏栅”G2组成三极振荡部分,振荡频率由外电路调谐。信号栅C\(_{4}\)带有正电的帘栅G3和G\(_{5}\)所包围,从阴极K发射出来的电子,通拉Gl、G\(_{2}\)时受到振荡变化的影响,当这些电子由于G3、G\(_{5}\)的吸引并被屏极P吸收时,加到G4上的外来信号电压对屏流也起到控制作用,使整个屏流受这两种频率的影响而产生差频。这种变频管的缺点是在收听较高频率(波长较短)时,振荡减弱,频率不够稳定。
这类变频管傍热式的有2A7、6A7、6A8、6A8GT等,直热式的有1A6、lA7GT、 CO-242等。

乙、新式七极变频管(图5):这是从上面的变频管改进而来的,基本上免除了上述变频管在高频工作时的缺点,并且有了抑制栅G\(_{5}\)的作用,减少了二次放射电子的影响,使电子管工作得较好。
这类电子管傍热式的有6SA7、6SA7GT、6BE6、7Q7、6A2П等(苏式管6A7=6SA7,6A10C=6SA7GT),直热式的有1R5、1LA6、1LC6、1AlП、1A2П等。

丙、三极六极交频管(图6),这类电子管的在构造上把振荡和混频部分分开,因此牵制效应较小,在高频段工作时效果很好,信号栅上负电压稍有变化也不会影响工作。不过阴极的寿命不太长,三极部分容易振荡引起叫声,在中波广播段工作较上述七极变频管稍逊。
这类变频管有6K8和6KSGT等。

丁、三极七极变频管(图7):它也是混频和振荡分开的,不过与6K8不同,多了一个抑制栅,优点是电源电压或信号栅负电压稍有变化,仍不致影响工作,但振荡不够稳定,在较高频段工作时,受到电子渡越效应的影响也大。
这类电子管有6JSG、7S7、7J7等。
总起来说,各种变频管在中波段工作时效率相差不大,只有在高于14兆周的频带工作时才有显著差别,一般应用不必选择过苛。
变频线路上面说过,只要本地振荡能产生一个高于或低于外来信号的中频,效果相同。但实际上我们采用的本地振荡常比外来信号高出一个中频,这样信号调谐回路可以仍用普通的调谐方法,而将本地振荡采用图3的措施就可得到相当的电容复盖。如果本地振荡改为比外来信号低一个中频,就会使调谐回路的制造增加困难。另外为了维持变频级输出的中频电压稳定,也要采用比外来信号高的本地振荡频率,因为中频电压是和振荡电压的高低有关,而振荡电压在振荡频率范围内的高低两端又有不同,如果振荡频率范围的高低差别过大,将会使振荡电压的变动也大,采用高于外来信号的本地振荡频率,能减小它的波段复盖系数,使输出的中频电压较为稳定。此外对避免象频干扰也是有利的。
我国流行的变频线路有两种:

甲、回授式变频线路:6A8等七极变频管常用这种线路(图8甲)。外来信号经L\(_{1}\)和L2的调谐回路加到信号栅上,振荡屏屏流在回授线圈L\(_{4}\)上产生回授,由L3和C'的回路调谐振荡频率,C\(_{2}\)和R2各是振荡栅的交连电容器和栅漏电阻。为了使帘栅和振荡屏在同一电源上取得不同的正电压,分别串入了降压电阻R\(_{3}\)和R4,并有相应的傍路电容器C\(_{3}\)和C4。输出的中频电压是由已调好在预定频率的中频变压器T交连到中放级去的,阴极回路中有栅偏电阻R\(_{1}\)和傍路电容器C1,使信号栅和振荡栅得到对阴极为负的电位;L\(_{2}\)的下端是接在下面要讲到的自动音量控制(AVC)的负电压上,来自动控制变频管的增益,如不需要这种控制,这一端可以直接通地。
6K8和6J8G等也常采用这种变频电路。
乙、抽头式变频线路:这种线路里本地振汇不用回授线圈,而是利用抽头使阴极电流通过调谐线圈的一部分引起振荡(图8乙),工作比较稳定。这种线路也叫“哈脱莱式”或“三点式”振荡。从图中可以看出,采用这种线路时,垫整电容器C\(_{p}\)必须串联在振荡线圈的上部,以免截断阴极对地的通路。
6SA7等新式七极变频管常用这种线路。
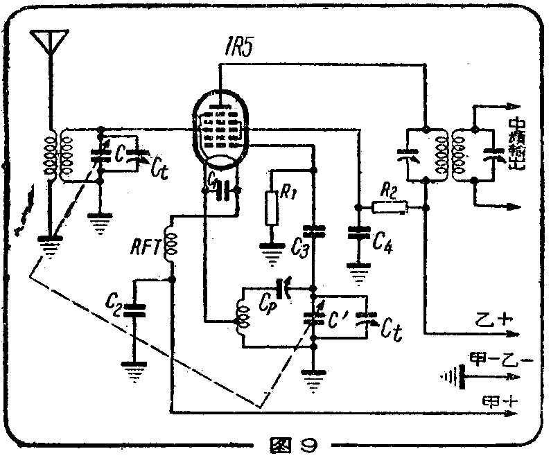
直热式电子管1R5本来也用抽头式振荡线路,但因这种电子管没有阴极,因此,

在灯丝一端要串联一个高频扼流圈R.F.C,以防止线圈下部的高频电流短路,并要加入高频电流的傍路电容器(图9)。但这样装置比较麻烦,又会减低灯丝电压,所以大多数仍然采用回授式振荡。
波段变换 在超外差式线路里改变接收的波段是比较方便的,只要变换外来信号和本地振荡调谐回路的线圈(电感量),仍能统一调谐到预定的中频。当然,变换线圈时也要变换垫整电容器的电容量,这个工作是用“波段开关”完成的。
波段开关上掷刀和接点的数目,要看波段的多少和电路的结构而定。
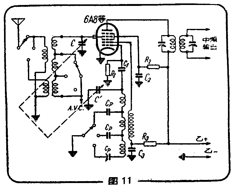
图10是两种常见售品收音机里三波段线圈装置的线路图,波段变换采用“四刀三掷”天关,把它旋到一定的位置上不能接收某一个波段。图11是另一种三波段线圈的装置型式,信号调谐回路和本地振荡调谐回路里三个波段线圈是各自串联着的(也可以看作短汉段线圈是较长波段的一部分),变换波段时将不用的一段线圈短路,这亲可以使接收短波段时比较有利。因为图10里所用的线圈,多是绕在一个线圈筒上的,收听短波时,较长波段的线圈空着不用,它本身存在的潜布电容量和电感量配合,正好谐振于一个短波的频率,收听靠近这个频率的电台时,它就吸收一些电能,使这段频带内电台的音量显得低弱。用图11的方法将这些线圈短路,或者各波段的线圈改用独立的线圈筒,就能避免这个毛病。
