国产Ty250/1000型扩音机,在各地农村广播站采用的很多。该机性能优良,例如失真度低,频率响应平阔等等,非一般机器所能比拟。但是,在实况转播时如果所用增音机没有具备与此相衬的条件,那末播出的效果仍然不好。
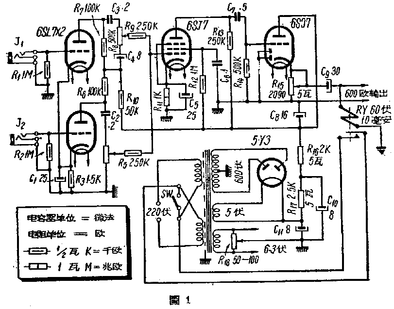
根据传真度要高,并且要配合电话线、控制台的输入阻抗以及适合于县内转播实况时最远距离(一般县城内剧院、礼堂与广播站的距离很少超过二公里)的要求,我们试制了一部转播用的增音机(如图1)。该机末级采用了一只高放大因数三极管6SQ7作阴极输出,偷出电压约1.4伏,阻抗为600欧。Ty型控制台线路输入(线路#1与线路#2)最高输入电压只需0.775伏就够了,所以在两公里内用它来转播是很满意的。如果采用的不是Ty250/1000扩音机,而是一般扩音机,把它接在拾音器输入端也可得到很好的效果。

6SQ7作阴极输出时,R\(_{15}\)既是输出电路的负荷电阻,同时又是输入电路的阴极偏压电阻,工作时便使得输出电压百分之百反向回授,加上不用输出变压器,因而噪音、交流声、失真度都减到极微,频率响应也大大地改善。另外增音机的电源可以利用输出馈线遥控,无需用人管理,经在汉阳站试验,效果很好。
输出阻抗是怎样得来的?
输出管的阴极电阻并非是输出阻抗,实际的输出阻抗是经过负回授后的有效阻抗,可以从下面公式中所需阻抗求出阴极电阻
R\(_{k}\)=ZRpR\(_{p}\)-Z(1+μ),
式中Z——所需输出阻抗,R\(_{p}\)——电子管屏阻,μ——电子管放大因数。阴极电阻求出后,再与输出管需要的负压核对,如果求得的电阻产生的电压降与负压相近,这样就可适用,否则还要重新选择电子管。根据经验,所求电子管的跨异(单位微漠)低于并接近于25×10\(^{4}\)÷Z时,才能使求出的阴极电阻既造合于输出阻抗,又适合于栅负压的要求。下面是我们计算6SQ7作600欧阴极输出的例子:
查特性表该管用250伏屏压时,栅负压为负2伏,放大因数为100,屏阻为85000欧,跨导为1175微漠,屏流为1.1毫安(0.0011安)代人上式:
阴极电阻R\(_{K}\)=\(\frac{85000×600}{85000-600(1+600)}\)≈2090欧。
由此可见输出600欧时,阴极电阻需用2090欧。栅负压E\(_{g}\)=0.0011×2090≈2.299伏,与特性规定2伏相近,因此该管完全适合于作600欧阴极输出用。
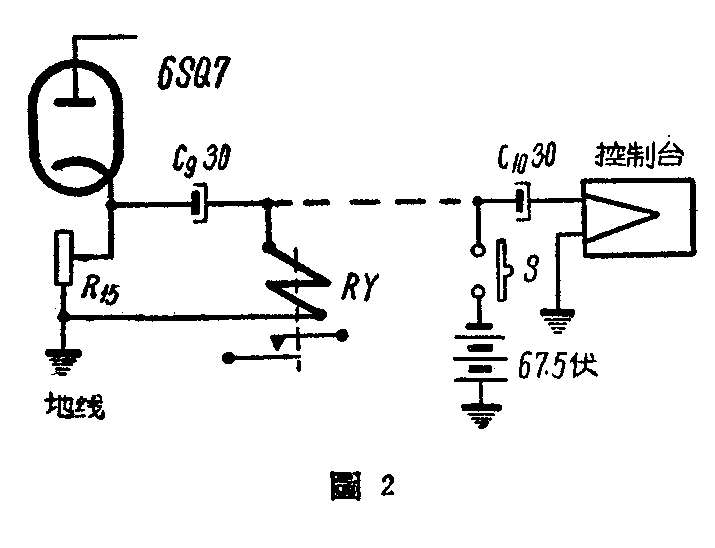
遥控时馈线与控制台输入线路的连接:
用双线时如图2所示;

用单线时如图3,另需将机壳接地;

用一般扩音机时与图3同。
使用时应注意以下两点:
一、该机输出电压受到增益的限制,电源电压不宜过低,否则会感到音量不够;
二、用双线遥控电源时,供给继电器R\(_{y}\)的直流电源不能接错,否则电源开不开。(胡慕民)