检波是收音机中最基本的组成部分,任何简单的收音机也少不了它。检波就是收音机将收到的电磁波重新变为人耳能够听到的声音所必经的过程。
现在的收音机除开矿石机外一般都是用电子管检波,用电子管检波一般分为三种:二极管检波,屏极检波和栅极检波。本文只就二极管检波加以说明。

图1为二极管检波器原理图,L\(_{1}\)C1为高频调谐回路,高频电能由L馈送到L\(_{1}\)C1,二极管上所接的R为负荷电阻,C则为旁路电容器,高频电流经过二极管被整流后,在R\(_{1}\)两端即可得到直流电压,图中的符号“-”和“+”表示直流电压的极性。

已调制的高频信号被检波的过程简示如图2,存在于调谐回路的已调制高频信号如图2a,当此信号作用于二极管时,仅在信号的正半周使二极管的屏极电位较阴极为正,此时二极管能通电流,而在高频的负半周则屏极电位较阴极为负,二极管不通电流,因此二极管的输出仅包含高频信号的正半周,如图2b,这种脉冲波形信号,分析起来它包含有直流成份、高频基波成份、高频谱波以及原来调制高频的音频成份,如果适当选择负荷电阻R和电容C,则可使有用的音频成份经过电阻R在它的两端产生电位降作为输出,而不需要的高频成份及其谐波等则由电容C旁路,R两端产生的电位降波形如图2c,经过交连电容器输出至下一级低频放大器,最后输出的信号即如图2d的音频。
用二极管检波灵敏度是不高的。但在普通超外差式收音机的检波级前有一级或两级中放,输入信号比较强大,检波管的特性主要是不使较强的输入信号失真,而不必具有太高的灵敏度,故通常采用二极管检波。
上面提到R及C选得适当与否直接影响检波效率,一般说来电阻R应选得足够大,理由是:(1)R大时,在它上面的音频电位降大,检波的效率便高;(2)在图1AB两端呈现的电阻称检波器的输入电阻以R'表之,R 大时R'便大,这样检波器所消耗的功率便随R'增大而减小;因为
P\(_{d}\)=UeI\(_{e}\)=\(\frac{UI}{2}\)=U;2·\(\frac{U}{R'}\)=U\(^{2}\);2R',
式中U\(_{e}\)——检波器输入电压有效值,
I\(_{e}\)——电流有效值,U,I各为最大值。
(3)R较小时,检波器的输入电阻R'和二极管内阻相对说来变成不是常数(因二极管内阻在变化),输入电压振幅U便随着改变,产生较大的非线性失真;而且R较小时还严重地使谐振电路旁路,选择性降低。通常R大约为20万—50万欧。电容C也要选得适当,不能太小,否则输入端的高频电压大部分就降落在负荷RC上,而在二极管上的高频电压反而减小,使检波效率减低。电容C应该这样选择:要使它对高频电流的阻抗远小于二极管的阻抗,而对音频电流的阻抗却要求很大,这样才能使检波效率增大。但C的电容量也不能太大,否则对高音的衰耗增大,输出的频率响应的线不够平直。C的数值通常为100—300微微法。

实用上二极管检波的基本回路如图3,大了使检波器不致在高频回路L\(_{1}\)Cl中产生一大的衰耗(衰耗大则选择性差),检波器的输入电阻R'应不低于0.2—0.25兆欧。二极管的输入电阻可以按下式计算:
R′=\(\frac{R}{2}\),
这样可以求出R=0.4-0.5兆欧。R的大小也和后面跟着的低频放大器的栅极电阻有关,它们之间可用下式表示,即:
R\(_{g}\)=9R。
因此可以求出R\(_{g}\)=3.6-4.5兆欧。Rg不能太大,因为电子管工作时,管内的残余气体被电离,正离子跑向栅极。若R\(_{g}\)小,离子电流产生的电位降小,影响不大;但当Rg大时,离子电流所成的电压降可以占基本栅偏压的几分之一,同时离子电流不稳定(每个电子管内残余气体多少不同)因此栅偏压也不能稳定,必然影响到低放级的工作也不能稳定。为了补救这个缺点,可改用图4接法,负荷电阻被分成R\(_{1}\)和R2两个电阻,音频电压只从负荷电阻上取用一部分,这样R\(_{g}\)可以小些(Rg=9R\(_{2}\)),而输入阻抗仍然很大(因负荷电阻仍为R1+R\(_{2}\))。虽然这种线路的缺点是损失了一部分音频电压,但是可以由提高低频放大级的增益来补偿,因为一般收音机低频放大级的增益都设计得比较高。

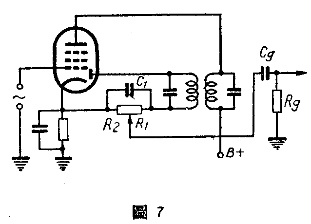
实用的检波级很多是利用二极三极复合管,即利用电子管的二极部分作检波,三极部分作放大,如图5。检波作用和前述二极管相同,检波后输出的音频电压经过C\(_{g}\)加到电子管的三极部分的栅极,再作放大。还有一种是利用二极五极管的,如图6。图中五极管的屏阴部分被用作检波,低频电压经过Cg加到控制栅极,帘栅极作为低放的屏极,放大后经C\(_{5}\)至下一低放级。二极五极管也可以用作高频或中频放大和检波,如图7,五极部分用作高放或中放,然后交连到二极部分进行检波。



以上的二极管检波回路图都有一个特点,即负荷电阻都是与二极管及信号回路相串联的,这种方法直流与交流都在同一回路里流通,叫做串联检波法。在某些情况下也采用负荷电阻与二极管并联,这样检波后直流和信号交流回路可以分开,叫做并联检波法,如图8所示。并联检波法的理论与串联的相同,特点是在负荷电阻上存在着由整个回路来的高频电压,故此法有两个缺点:

1)电阻R把高频回路旁路了,因而降低了检波器的输入电阻。并联时的输入电阻可以近似的认为是R与串联时的输入电阻R'并联,但R'=\(\frac{R}{2}\),因此可以求出并联时的输入电阻。
R"=\(\frac{R′·R}{R′+R}\)=\(\frac{1}{2}\)R·R1;2R+R=\(\frac{1}{3}\)R。
2)高频电压进入低频回路,使低放级电子管过负荷。

苏联出品的祖国牌收音机便是采用并联检波法的,它的线路如图9所示,把屏阴极当作二极管检波,栅极帘栅极阴极当作低频放大。图中R为负荷电阻,R\(_{1}\)Cl是防止高频电压进入低频放大器的滤波器,音频电压就从这个滤波器上取得,经过C\(_{2}\)加到低放的栅极上。R1C\(_{1}\)的乘积不应该太大,否则滤波器将产生显著的频率失真。根据以上分析可以看出,如果让直流和交流在同一回路中通过,则不如采用串联检波,它可以得到较大的输入电阻;但当两者要分开或检渡回路要直接接到前一级的屏极高压回路时,则只好利用并联检波。(温启荣)