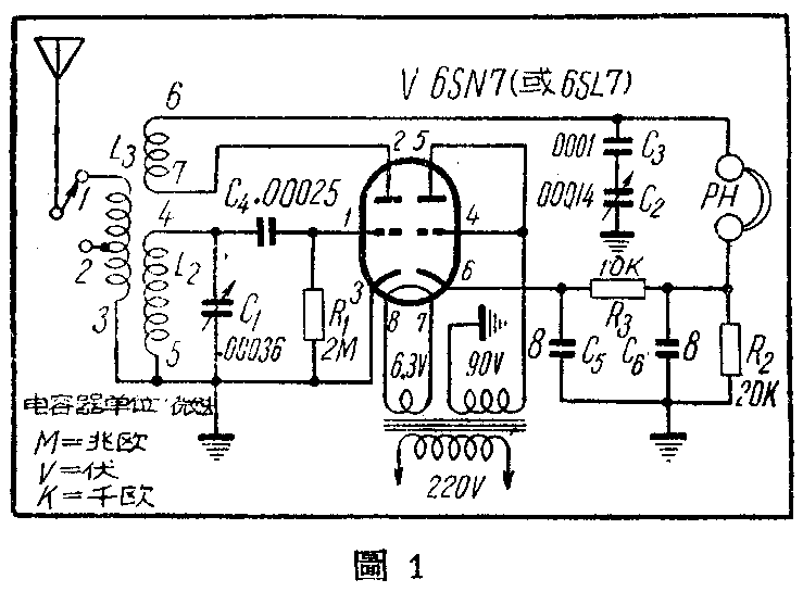
用一只电子管6SN7,装了一架简单交流收音机。它的线路图如图1。

线圈可以买现成的三回路再生线圈,也可以自制。制法如下:用直径38公厘、长75公厘的胶筒或厚纸筒一个,先用直径0.15公厘(38号)的漆包线绕50圈作L\(_{3}\),线头接焊片6、线尾接焊片7。距L3 3公厘处用直径0.32公厘(30号)的漆包线绕80圈作L\(_{2}\),线头接焊片4、线尾接焊片5。距L2 3公厘处用0.15公厘径漆包线绕50圈作L\(_{1}\),在25圈处抽头,线头接焊片3、线尾接焊片1,抽头接焊片2。见图2。


电源变压器若自制时,铁心型式及大小如图3,叠厚25公厘。电压每伏为15圈,初级220代用直径0.12公厘(40号)的漆包线绕3300圈,次级灯丝电源6.3伏线圈用直径0.56公厘(24号)的漆包线绕94圈,高压90伏线圈用0.12公厘径漆包线绕1350圈。

全机实体接线图如图4。这架收音机结构简单、制作容易,性能很好,机壳不带电,所以也比较安全。(陈绳)