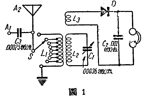
图1是本机线路,图2是线圈图。线圈的绕法是在一个直径38公厘的纸筒上,用直径0.378公厘的漆包线(28号)L\(_{1}\)密绕64圈,每8圈抽一头,尾端接地线;L2密绕56圈,与L\(_{1}\)相距15公厘;L3密绕24圈,与L\(_{2}\)相距6公厘。绕好后,用蜂腊煮一下以后再接线。

本机要用优良的天地线,适用于电台较多的大城市,如北京、上海等地。(黄日昇)

选择性优良的矿石机
图1是本机线路,图2是线圈图。线圈的绕法是在一个直径38公厘的纸筒上,用直径0.378公厘的漆包线(28号)L\(_{1}\)密绕64圈,每8圈抽一头,尾端接地线;L2密绕56圈,与L\(_{1}\)相距15公厘;L3密绕24圈,与L\(_{2}\)相距6公厘。绕好后,用蜂腊煮一下以后再接线。

本机要用优良的天地线,适用于电台较多的大城市,如北京、上海等地。(黄日昇)
