103型三灯收音机是采用国产电子管制成的;结构简单、省电,它的主要技术规格如下:

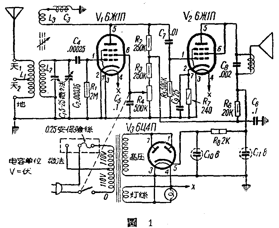
1.电路结构 用一只五极管6Ж1Π检波,一只6Ж1Π接成三极管作音频功率放大。6Ж1Π半波整流。线路见图1。
2.接收频率范围 500—1600千周。
3.音频输出功率 最大0.3瓦。
4.电源 220或110伏,50周交流。功率消耗12瓦。
这个收音机设计的原则是尽可能节约用电,减低成本。因此在电路安排,电子管及零件的选用方面,力求做到省电、效率高,零件少;在机械结构方面也力求简单,便于大量生产。现就检波、音频放大、电源供给和机械结构四个部分说明如下:
检波 再生检波选用锐截止五极管6Ж1Π,它的跨导是5.2毫安/伏(6SJ7只有1.65毫安/伏),所以灵敏度较高,6Ж1Π的灯丝电流只有0.17安,几乎是6SJ7的一半,很省电。
为了提高调谐线圈的品质因数和节省地位,线圈采用蜂房绕法,绕在直径8公厘的塑胶管上,并在线圈管里加用磁性瓷铁粉心。用线和圈数见下表:

L\(_{1}\)绕在L2外面,单层平绕,L\(_{1}\)L2间垫以厚约1公厘的黄蜡布。L\(_{2}\)的电感为255微亨。距L2下边3公厘绕L\(_{8}\)。
L\(_{2}\),C2构成并联谐振回路,变动C\(_{2}\)的容量调谐接收频率,C2的容量最大360微微法,最小10微微法;加上电路中的分布电容(包括线圈L\(_{2}\)的分布电容及6Ж1Π的输入电容在内)约15微微法,实际调谐电路中最大最小电容量的比值为\(\frac{360+15}{10+15}\)=15。根据公式f=1;2π\(\sqrt{LC}\),可以看出,当L的值不变,电容量C最大与最小的比值的开方等于频率f最小与最大的比值,所以频率比=15=3.88。假定C2旋到最大容量时与L\(_{2}\)谐振于500千周,那么 ,C2旋到最小容量时将谐振于500×3.88=1940千周,超出了广播波段的范围。因此增加了一个和C\(_{2}\)并联的半调整电容器C1(容量5—25微微法),使C\(_{2}\)最大最小电容量的比值减小,恰好缩小到广播波段的范围,500—1600千周。在大批生产中,各元件的电气参数(L2的电感,分布电容,C\(_{2}\)的最大最小电容等)不会绝对相同,有了半可变电容器C1和可调节的铁粉心线圈,就可以很方便的校正每个收音机的接收频率范围。C\(_{3}\)是再生电容器,制作方法是用直径0.11公厘(41号)的单丝漆包线绕在直径1.6公厘(16号)的镀银铜线上,共50圈。C3也可以用一只半调整电容器代替。
R\(_{4}\)是调节再生用500千欧电位器(与电源开关装在一起),兼作音量控制。检波管6Ж1Π的帘栅电压对收音标机的灵敏度影响很大,调整时在天2与地间接入2—3毫伏900千周的信号(400周30%调幅),逐渐减少C3的圈数,当6Ж1Π的帘栅电压在20伏左右(用内阻每伏20000欧的电压表测量),音频输出最大(用内阻每伏8000欧的交流电压表串接0.1微法的电容器在扬声器两端测量),这时C\(_{3}\)的容量为30—40微微法。
音频放大 一般用6V6电子管作功率放大的五灯收音机,输出功率虽然大,可是在家庭使用时,常嫌音量过响,把音量控制器开得很小。根据这种情况,再结合省电和减低成本,选用了6Ж1Π作功率放大管。但6Ж1Π的内阻太高(300千欧)不适合配用的1000欧舌簧式喇叭,所以把它接成三极管使用。6Ж1Π接成三极管后功率消耗如下:阴极总电流12毫安,乙电功率消耗2瓦,灯丝功率消耗1瓦,总功率消耗3瓦。不仅用电省,而且可以配用舌簧喇叭,省去输出变压器,减小电源变压器和滤波电阻的容量。
电源供给 全机乙电电压200伏,最大电流14毫安(音频放大12毫安,检波2毫安以下)。用6Ж1Π电子管半波整流,原因是:
1.由于乙电电流很小,电源变压器的高压线圈用线很细(直径0.1公厘,(41号)),采用全波整流后,用线更细,圈数是半波整流的2倍,不如半波整流用线组,圈数少,可以减少绝缘层数和绕线地位,缩小体积。
2.虽然半波整流效率较低,但电源变压器大部分系供给灯丝电源,乙电所占比重不多,仅约1/5。整流管6Ж1Π两个屏极接在一起,最大输出可达140毫安,现只用14毫安,负荷极轻,这样全波整流与半波整流的效率高低差别在全部电源供给中极不显著,所以决定采取半波整流线路。

电源变压器用日字型铁心(图2)硅钢片每片厚度0.35公厘,每个变压器用66片(每三片一叠对插)重0.39公斤。铁心磁束密度按11000高斯平方公分设计,每伏9.1圈。次级无负荷时高压22O伏,灯丝7.0伏。全负荷时电压降落10—12%。次级高压电流按直流电流的两倍计算即28毫安。灯丝电流两个6ж1Π为0.34安,一个6Ж1Π为0.6安,再加指示灯0.25安,共计1.2安。铜线截面按电流密度3—4安/平方公厘计算。用线线径和圈数见下表:
初级 初级 次级 次级
0-110伏 110-220伏 高压220伏 灯丝7.0伏
线径 0.19(36号) 0.15(38号) 0.11(41号) 0.71(22号)
(公里)
圈数 1000 1000 2000 64
电源变压器初级110伏220伏两用,不采用普通五灯机的两个110伏线圈串并联接法,而采用不同线径抽头方式,这也是为了结构比较简单。一方面初级0—110伏与110伏—220伏之间不需另加绝缘,也少用一根引线,另一方面还可以省掉电源电压变换插头及插座,只要变动保险丝管的位置,即可改变电源电压,使用也很方便。
由R\(_{8}\)、C10、C\(_{1}\)组成的滤波器供给音频放大级,再经过R8、C\(_{6}\)滤波后供给检波级。

机械结构 由图3可以看出底板是与扬声器的助声板平行的一块铁板,扬音器助声板的两端有两个木块(见图4),是用来固定底板的,扬声器被紧压在底板与助声板之间,不必另用螺钉固定。C\(_{1}\)、C3和线圈安装在一块长方形胶板上,胶板下面的底板左,上、右三面切开,向内向下与底板折成90°,作为C\(_{2}\)的支架。电位器R4的支架另外焊在底板上。底板左右两端各装有固定条一个,然后再用大螺丝将固定条装在助声板的两个木块上。在拆卸底板时,不必折下木螺钉,只要将底板四角的四个机器螺钉旋下即可。


底板内零件地位见图5,修理时可将助声板取下平放在工作台上,底板两端支持在助声板的两个木块上,作为支架。每个收音机随带5公尺长的软接线一条,一端接在天1上,是为了使用者的方便,只要将这条软接线打开,悬挂室内,即可用作室内天线,不必另外架设天线。如使用室外天线应将这条接线取下。
业余无线电爱好者仿制时,如不能自制蜂房式绕圈,可在直径25公厘的线圈管上用直径0.15公厘的漆包线(38号)绕110圈作为L\(_{2}\),在离L2的近地端2—3公厘处,用同号线绕20圈为L\(_{3}\),在L2近地端外面垫牛皮纸2层,用同号线绕L\(_{1}\);天1到天220圈,天2到地5圈。 (北京公私合营广播器材厂技术科)
