本刊今年第5期上,曾经介绍过关于北京牌收音机交流声突然中断及杂音大的产生原因与修理方法,现继续介绍以下几种现象的产生原因及修理方法。
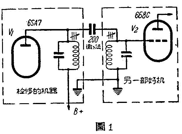
一、收音时声音忽大忽小:这种现象有些类似收听突然中断的现象,但声音仅是变小而不是完全没有,着手检修时发现一切电压电流值均很正常,更换电子管也不解决问题,开始怀疑是变频级有问题,故又用了另一只好收音机,按图1方法接线后,并无此现象发生,证明不是变频级的毛病,又用上述方法去检查本机功率放大级(6V6)也是正常的,这时肯定是来复级(6Б8C)的毛病,经检查结果是因该级帘栅旁路电容器C17内部接触不良,换—个好的电容器后,故障就消失了。

二、无声:这里所谈无声不是一般电压加不上或其他一般机器常见的情况,而是无声时,电压、电流均正常(包括振荡栅压)。用起子接触6V6、6Б8C栅极均有正常的“喀喀”声和“嘟嘟”的低放声,触动双连电容器的两定片组及天线均有“喀喀”声,照理是应当收到信号的,但是在电台的位置上,有时仅有尖叫声,此时若去调整中频变压器的铁粉心,只有T\(_{3}\)及T4的次级有影响,调谐初级时不起作用,故考虑到T\(_{3}\)上并联的一只100微微法云母电容器有问题,拆下换上一只就好了(原来尖叫声是中频差拍而产生),如果没有现成的电容器,可以把机器上C2410O微微法旁路电容器(云母的)拆下来使用。

去掉中频旁路电容器C\(_{24}\),对电路不会有很大影响。从线路上看,当电位器旋至最大音量时C24短路,最小音量时C\(_{24}\)到地。故只有当电位器旋到中点时才起作用。此时C24与Cl6510微微法串联后到地总容量约80微微法,当电位器旋到中点时因中点接线是一根隔离线分布容量约30微微法,对465千周的容抗仅有10千欧左右,还是可以起着一定的傍路作用。实际试验证明,去掉C24后,不会产生任何寄生回授,仅对音量控制特性略有改变(如图2)这是没有多大关系的。(每文)