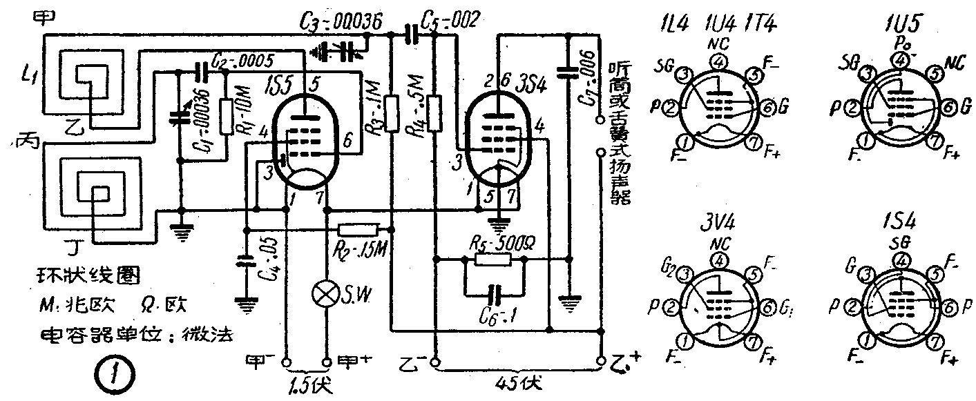
本机线路如图1,用1S5检波、3S4低放。 1S5可用1U5、1U4、 1T4、 1L4等管代替; 3S4可用3Q4、3V4、1S4等管代替。用这些电子管代替时,必须依照图1中各电子管的管脚接线。

木箱尺寸是18公分×4公分×10公分,见图2。

做好木箱后,即可按装另件。首先安装甲电、乙电、电子管座及可变电容器,然后焊接其他另件。本机另件排列见图3。

本机采用环状天线,用33号漆包线(线径0.25公厘)在木箱外边绕制。先绕L\(_{2}\),起点是甲,终点是乙,共11圈。甲点接可变电容器C3定片,乙点接1S5的屏极,不可接反。离开L\(_{2}\)3公厘处绕L1,起点是丙,终点是丁,共20圈。丙点接可变电容器C\(_{1}\)定片,丁点接C1动片。也不要接反。线圈绕好以后,可用蜡封固以免松脱(图4)。

全机装妥后,便可试听。如听见啸叫声,便可旋动C\(_{3}\)使叫车停止。广播声出现,然后转动机箱直至广播声最大(此时环状天线正对电台)。
如果电台频率是900千周,但刻度却指到1200千周(电容器C\(_{1}\)动片旋出大半)了,可将L1拆去数圈,使刻度与电台频率一致。如果在收音时发现虽将再生电容器C\(_{3}\)动片完全旋出后叫啸声仍不停止,表示再生过强,可将L2拆去几圈。使再生合适。
如在家中收听,可接一天线,接法如图5。
此机用耳机或喇叭均可。用电亦省,如每天听两、三小时 ,甲电可用一月,乙电可用两、三个月。(张积熙)