首页
全文搜索
分类目录
作者目录
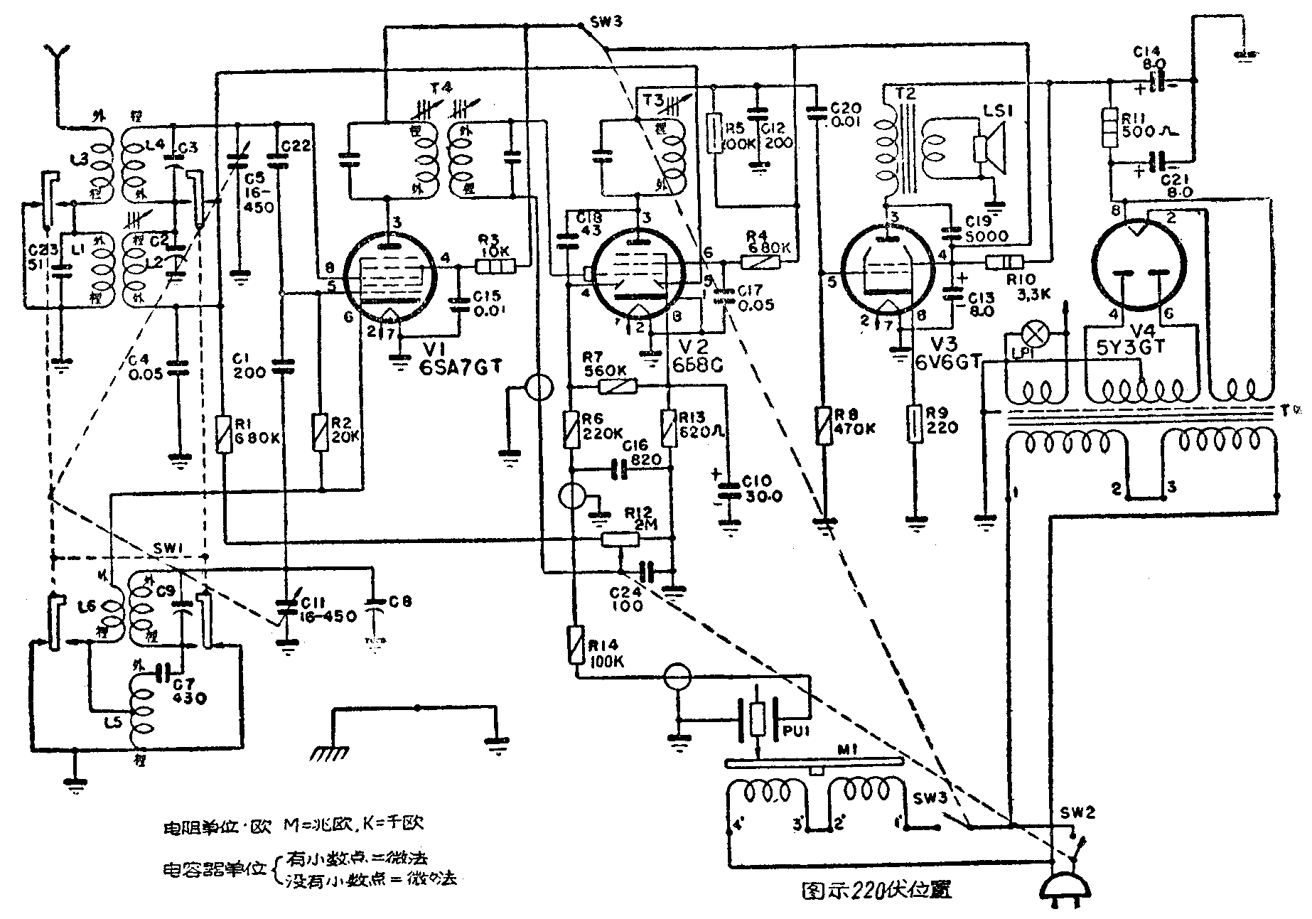
和平牌收唱两用机
🏠 首页
《无线电》杂志
1957年 🔗
第13期 🔗
第25页
分类:
小词典 🔗
一、频率范围 中波段520—1600千周 短波段3.9—12.1兆周
二、最大输出功率 收音时1瓦 放唱片时1.5瓦
三、电动转盘转速 每分钟76—78转
图1
🔍原图 (1846×1293)