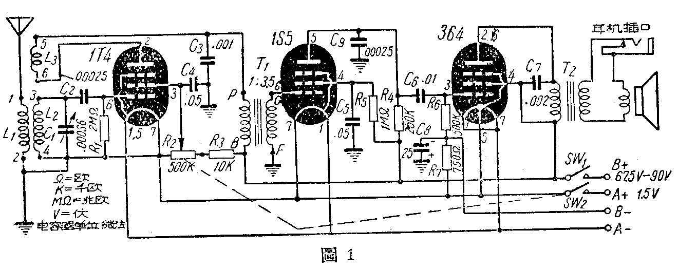
图1是这种直流三灯机的线路,线路中以1T4检波、1S5低放、3S4强力放大。用电位器R\(_{2}\)调节1T4帘栅电压以控制再生力,再生稳定。

三回路再生线圈可购成品,亦可自绕。在直径25公厘的硬纸筒上,用27号(0.41公厘)漆包线密绕115圈作L\(_{2}\),线头为3、线尾为4。距L22公厘处用同号线绕45圈作L\(_{3}\),线头为6,尾为5。在L2、 L\(_{3}\)的外面包5层牛皮纸,用同号线在牛皮线上绕65圈作L1,线头为1、尾为2。
全机装妥后,如再生力过强,可将C\(_{3}\)换成电容量较小的电容器。(朱昺)


