这部自动“放点子”装置有两种功用:第一可以用来试验发信机的工作情况,第二可以用来作通信联络时的守候信号。
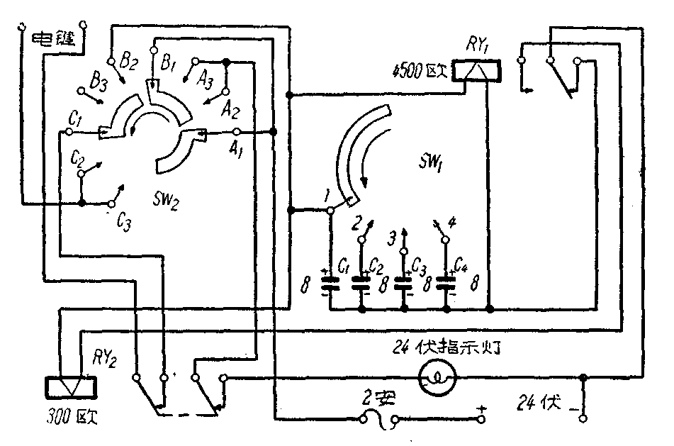
线路结构很简单,利用Sw\(_{1}\)控制不同容量的电容器和RY1的线圈并联,以增减RY1机械振动的速度。实际试验给果是RY1的线圈不并联任何电容器时,振动速度太快,完全等于一个蜂鸣器,Sw1在第一位置时,电容量是8微法, RY\(_{1}\)的振动次数为每分钟660次,以后Sw1每转换一个位置,RY\(_{1}\)的振动次数就分别减少为570次、390次和300次。RY1要求接点动作灵活,构造坚固,以免长期使用后接点因火花而烧焦。调整RY\(_{1}\)的接点距离可以改变振动速度,所以上述速度只供制作时的参考。
本来利用RY\(_{1}\)左面的接点和中间来回振动的簧片就可以接到电键电路使发信机工作,但现在是利用这个接点来带动另一个电键继电器RY2,这样可以解决三个问题:
一、由于RY\(_{1}\)线圈上并联了相当大的电容器,当簧片被吸向左时,电容器的充电电压不能立刻放完,所以簧片在左面接点处停留的时间长,而在右面接点处停留的时间短,如果只利用左面接点和中间簧片来控制电键,就会形成“敲划”装置,而不是“敲点子”。RY2是两组吸时开路的接点,那么当RY\(_{1}\)吸向左面时,RY2的接点却吸成开路,这样就可以克服自动敲划的缺点。
二、可以利用RY\(_{2}\)的另一组接点来带动一个红色指示灯,表示电键电路的工作状态。
三、有些发信机的电键电路并不是接键时接地的,而一般修理室或发信台的直流24伏电源大都是负端接地的,接了一个RY\(_{2}\)就可以使发信机的电键电路完全独立起来,不受这个“敲点子”装置中有失电路的影响。
Sw\(_{2}\)是工作性质转换开关,由三刀三掷组成。图中A字的一组控制指示灯的电源;B字一组控制两个继电器的电源;C字一组控制电键电路的通断。在第一位置时,24伏电源断掉,电键电路也断掉,发信机和这个装置都停止工作;在第二位置时,RY1和RY\(_{2}\)都接好电源,正常工作,指示灯也接好电源随RY2的振动而燃灭,同时电键电路也接通,随RY\(_{2}\)的振动而“敲点子”;Sw2在第三位置时,RY\(_{1}\)和RY2的电源都断掉,RY\(_{1}\)停止振动, RY2的两组接点都分别闭合,指示灯因仍有电源所以长时间燃亮,电键电路仍接通,所以发信机处于长划情况。

RY\(_{1}\)和RY2的规格以及直流电源的电压数字,都不必限制在图示情况,可以根据器材情况做适当修改,但RY\(_{1}\)的线圈电阻必需较大,否则并联的电容器对减低振动速度的作用将显著降低。
本装置经试验结果,情况完全正常可靠。(郑明)