在有线广播网的用户设备中,喇叭音量控制器也是比较重要的一个组成部分。江苏省的一部分市、县有线广播站,近几年来使用过各式各样的喇叭音量控制器,有的效果不好,有的价格较贵,有的不易补充。经过江苏省广播管理局召开的技水交流会,在这个问题上也小结了一些经验,现在介绍出来供大家参考。对音量控制器的要求是:1、要可靠,不出或少出故障和损坏率很低。2、要不因加进了音量控制器而引起显著的频率失真。3、不因加进音量控制器而多耗电力。4、有足够的调节范围,一般应达到24分贝,如果采用开关式分档调节,那么每调节一档,应该听得出音量的变化,为此每档的衰减应该有3分贝。5、材料便宜并且采购方便。
现在介绍一种音量控制器,它基本上符合上述要求。

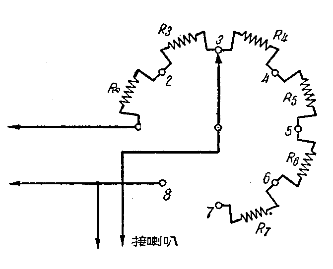
音量控制器系串联电阻式,分几档调节,开关用市上装矿石机用的分线开关,它的特点是便宜,接点的接触面很大,不易坏,坏了也容易修理,选购时最好用铜制的一种。电阻用四分之一瓦或二分之一瓦的炭质电阻,阻值准确度要求不高。接线如图。电阻阻值和电气数据见附表一和附表二。舌簧喇叭在1000周时的阻抗是10000欧,表一是关于舌簧喇叭的数值,表二是关于使用6V6输出变压器的动圈喇叭数值,阻抗是5000欧,动圈喇叭使用这种音量控制办法,如果需要较高的音质时,还可以考虑加进频率修正网络。(方锡)
表1
开关位置 1 2 3 4 5 6 7 8
电阻阻值 无 R\(_{2}\)5K R310K R\(_{4}\)15K R520K R\(_{6}\)10K R7100K 断路
负荷阻抗为10000欧时每档衰耗分贝 0 3.6 4.4 4 3.6 5.2 5.6 断路
负荷阻抗为10000欧时总衰耗分贝 0 3.6 8 12 15.6 20.8 26.4 断路
表2
开关位置 1 2 3 4 5 6 7 8
电阻阻值 无 R\(_{2}\)2K R33K R\(_{4}\)5K R510K R\(_{6}\)15K R720K 断路
负荷阻抗为5000欧时每档衰耗分贝 0 3 3.1 3.5 4.4 4 3.6 断路
负荷阻抗为5000欧时总衰耗分贝 0 3 6 9.6 14 18 22 断路
K=千欧