(张锦鲂)有线广播站在日常的检修与维护工作中,需要经常地检查地线的质量。因为站内保护地线涉及人身与机件的安全,例如机器漏电与雷击等;另一方面,农村用户线一般都是采用单线,地线的质量与广播的效果非常密切。
地线不能挖出来检查,否则一根好地线说不定就被挖坏了;同时要知道准确的接地电阻,必须用测量的方法才行。
一般的地线测量器包括三部分:一、辅助地线;二、音频信号产生器;三,电桥。现在介绍一种简便的制作法与使用。
一、辅助地线的制作:取直径1.5公分、长130公分的钢筋或铁棒两根(为了使接地良好应采用无节的,并擦去铁锈),钢筋一端请铁匠打尖,以便打入地下,另一端焊上一长15公分之铁横托,托距顶端10公分,以便测后容易拔出。如图1制两根就可以了。

二、音频信号产生器的制作:测量地线用的音频信号产生器,用不着考究它的波形与频率,只要它能够供给一种耳朵听起来免强称得上舒服的频率就行了。有两个办法来作这种简单的信号产生器:
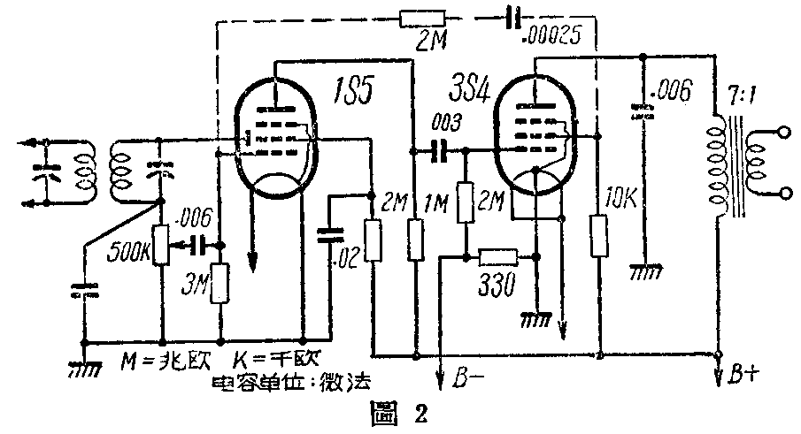
一个是用干电收音机改成信号产生器,这是很容易的,因为任何一种正回授都能引起振荡。在相邻的两个电子管中,第一管的信号栅是与第二管的屏极同相的 (同时与第二管的帘栅极同相),因此我们只需设法回授一部分电压就够了,如图2虚线所示,去掉3S4帘栅极上的滤波电容器,再在1S5栅极与3S4帘栅极上串上一个2兆欧的电阻及一个0.00025微法的电容器就成功了。输出变压器采用7:1的,以便与被测试者的阻抗相配合。如果为了轻便起见,我们可以另外装一个这样的信号产生器,办法是将图2中1S5信号栅上的0.006微法电容器剪掉,将3兆欧电阻换成500千欧电阻就行了。

另一个办法是用220伏的交流电电铃改成一蜂鸣器。把小电铃马蹄铁上原来绕有的两个串联线圈拆开,一组作为初级,接上45伏干电池维持它的振动;一组作为感应线圈,供给音频信号。同时为了提高它的频率起见,将铃锤比照马蹄跌的宽度锯短,并缩小火花隙的距离。这样改成的信号产生器接上45伏乙电池时,电流约20亳安,感应出来的电压约20伏。

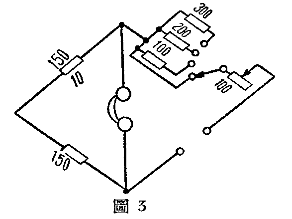
三、电桥的制作:取阻值正确的150欧线绕电阻两只,100、200和300欧线绕电阻各一只,100欧丝绕可变电阻一只,分线器一只,听筒一付,按图3接成电桥。将100欧可变电阻上配上微动刻度盘,阻值按度数精确地刻上去,读起来就非常方便了。
测量地线的接地电阻,必须通过简单的计算,才能得出结果,设图4中R\(_{1}\)是被测地线的接地电阻,R2和P\(_{3}\)分别为两根辅助地线的接地电阻。当我们只能在A、B、C、三点上测量时,只能测得每两个电阻相串联的阻值,那么R1的数值应该是
R\(_{1}\)=R12+R\(_{13}\)-R232。

现在让我们动手来测测吧。请将三部分按图5方式接起来:

我们先将电桥的一臂接在A、C两点上,旋动可变电阻组,使听筒没有声音为止。这样我们便可从刻度上读出R\(_{12}\)的数值。用同样的办法,可读出R13及R\(_{23}\)的数值。
现将计算法举例说明:例如某广播站保护地线接地电阻用上述方法第一次测得R\(_{12}\)=108欧;第二次测得R13=134欧;第三次测得R\(_{23}\)=234欧。依公式
R\(_{1}\)=R12+R\(_{13}\)-R232=108+134-234;2=4欧。因此合乎标准。