二三管机的实际装制步骤是:熟习电路图,弄清楚每一另件的作用;根据另件的作用决定排列的次序,使它们之间接线最短并且没有干扰;根据它们的排列次序和大小设计底壳;固定和焊接另件;最后是校验调整。只有好的电路,而另件的排列不恰当或者校验和调整都很粗糙,是不能得到好的结果的。所以设计底壳和校验是和设计电路同等重要的工作。
怎样设计底壳
电子管收音机采用金属板的底壳比较方便和有利,因为电子管收音机有很多地方都是0电位,要接到底壳上。而且,金属底壳还能避免许多不必要的感应现象,使收音机的工作更加稳定。所以现在的收音机多是用铁或铝板作底壳。当然,实在找不到金属板时,用木板作底壳也还是可以的,不过,最好是在木板上贴一层薄的锡箔并使它接地(这样可以避免感应)。
另件的排列方法并不是一成不变的,同样的收音机可能有多样的排列法。在设计底壳时先把比较大的另件(例如变压器、电子管、线圈和可变电容器等)位置排好,然后再决定小另件的位置。大另件的排列次序往往是和电路图中的排列次序相同的。如以三管机为例,电波首先经过调谐电路运输波管,然后经第一放大管而至第二放大管。另件的排列次序也是这样,第一个是调谐元件,然后是检波管、变压器、放大管、变压器,放大管,见图1箭头所示。次序和大概的位置决定好后就决定另件的方向。方向的决定也是重要的,如果两个变压器方向相同的话,就很容易互相感应而啸叫起来不能收音;如两个方向互相垂直就可以正常工作。不仅如此,如果电子管的位置转动了一个角度后,所有的接线也就会跟着改变位置,方向选择得好,就能使接线短或是免去干扰(一般是注意栅极的接线远离屏、丝极的接线或是不使栅极接线与之平行)。所以在另件的次序考虑好后再决定它的方向。方向决定好后小的另件位置也就决定了(因为小另件总是联接在大另件上的)。

在实际的装制收音机过程中,我们买到的底壳并不一定完全适合需要。这时就要迁就原来的洞了。假如自己动手作的话,可用0.75公厘厚的铁板或铝板作原材料。如果底壳做得比较大的话,常因金属板太薄而发生抖动,为了加固,可将底壳作成“盒子’的形状(图2),这样就不会再抖动,提高了收音机的稳定性。

实际装制
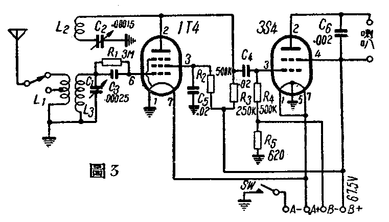
1.直流(电池)二管机 使用花生管1T4检波,3S4低频放大,电路图见第3图。检波管的电路和单管机相似,利用屏极线圈L\(_{2}\)回输得到再生,电容器C2来控制再生,和单管机不同之处是把接听筒的地方换上耦合电路(R\(_{3}\)、C4和R\(_{4}\))和放大管3S4。栅负电压是自给式的,由R5上取得。

3S4的灯丝有两种联接法,串联时可见用2.8伏,并联时用1.4伏,这里是联成并联电路,只用一节电池就行了。
乙电用67.5伏,用45也可以,甚至30伏也可获得不太小的声音(在30伏时再生力已比较弱,在600千周时无再生)。
喇叭用永磁电动式的。
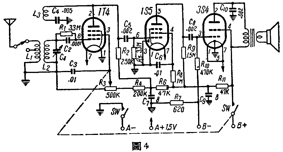
2.直流(电池)三管机 花生管1T4检波,1S5第一低放,3S4第二低放。全机装在一个小形的底壳上,所用的另件也是小形的,只有线圈还保持着相当大的体积,因为小形的线圈损失大选择性和灵敏度都要降低。
再生是由电位器R\(_{3}\)控制。放大级之间的耦合是用阻容式的。这电路和前面的二管机基本也是一样的,只不过在第一放大级和检波级加接了“退耦合”装置。在多级放大的收音机里这种装置是不可少的,否则会引起啸叫声或汽船声。退耦合电路就是一套滤波电路,由电阻和电容器组成的,它的解释见图7:每个电源都有内阻Ri (大小可能相差很多,但不可能没有),见图7乙和图7丙,于是每一个电子管屏流都在Ri上引起电压降,所以R\(_{i}\)上就有了检波后的信号——第一次放大的信号和第二次放大的信号。Ri是串联于检波管屏极电阻上的,当它有了第一次放大和第二次放大的信号后,就使得检波管的屏极电阻也就有了第一次放大和第二次放大的信号成份,这些成份的电压就能经过耦合电容器C5送到放大级会再行放大,这就是说放大级除了放大检波后的信号以外,还要放大它自己已经放大的信号,于是在一定的条件下就要产生振荡了(啸叫或汽船声)。要避免这种有害的振荡,就要把回输的电压消灭,不让检波级和放大级的信号电压在Ri上产生电压降。最简单的方法就是在Ri两端(电源两端)并联一个容量非常大的电容器C,如图乙虚线所示,所有信号都由它傍路而不经R\(_{i}\),不过这种方法是C要非常大。常用的方法是图甲的形状,每一级都接一滤波器,把信号电压傍路,避免了回输。

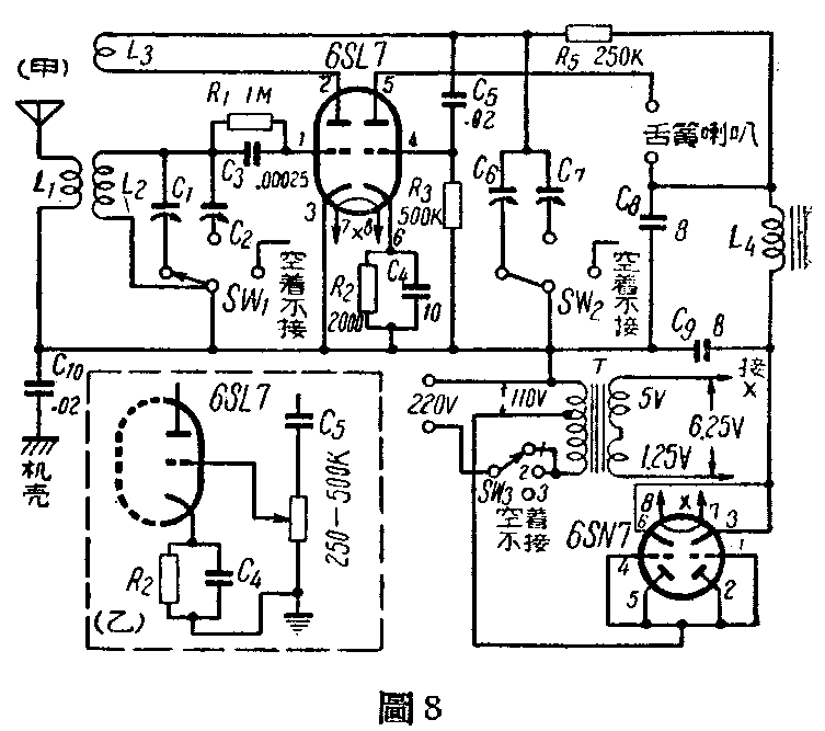
3.固定调谐式二管交流机再生式收音机的调谐手续是比较麻烦的,如果只是为了收听本地电台的话,那就可以采用固定调谐的电路,只要一个开关管理就行了。它的电路见图8甲,采用的电子管是6SL7和6SN7。6SL7是一个双三极管,它的第一个三极部分作检波,另一三极部分作低频放大,6SN7也是一个双三极管,二部分并联作半波整流。

电路没有奇特的地方,只不过是把可变的调谐电容器改为预先调好的电容器,这样每次收听就不用再调谐了。如要收听两个电台的话,就可用一个开关来控制,将另外一个已配好的电容器接上。再生电容器也是利用一个开关来改变。
现在研究一下电路图,电波由天线线圈L\(_{1}\)输入后,在L2上感应出一个电势,经开关SW\(_{1}\)来选择电容器,使电路谐振于所欲接收的电台。同时开关SW2也选择合适的再生电容器,使输出声音最大。开关1、2是连在一起的,接收电台时只转动一个钮就行了。
放大部分的栅负压是自给式的,在阴极上串联一个2000欧的电阻以取得电压。整流管的屏压是110伏。为了方便起见,电源开关SW\(_{3}\)和调谐开关SW1、SW\(_{2}\)合用一个四刀三掷的开关。其中两刀用来控制接收的频率,另外两刀并联当作电源开关。当开关转在“1”、“2”位置时,电源接通,接收第一或第二电台,转到“3”位置时,电源关断。这架收音机由于输出声音不大,所以未装音量控制器,如有需要,可按图8乙改接,把放大管的栅漏电阻R3换上250千欧或500千欧的电位器。
电源变压器是利用旧的成品改装的。原来次极电压是5伏、2.5伏和1.25伏,但都不合用。可将5伏和1.25伏串联起来成为6.25伏,作6SL7和6SN7的灯丝电源(联接变压器时要试验,联反了就只能得到3.75伏了)。整流管屏极电压是由变压器降低到110伏后供给的。滤波部分用两个8微法的电容器C\(_{8}\)、C9和一个低频扼流圈L\(_{4}\)(可用5瓦2000欧的电阴代替)。高压电是由市电直接(经自耦变压器)供格的,因此底壳上可能带电麻手,碰到这种现象时可将电源插子倒换一下方向再插上。
这架收音机接舌簧喇叭有留声机那么响。
底壳排列方法见图9。四个半调谐电容器先固定在一条绝缘胶木条上,然后再把它装在底壳上面。栅极的两个半调谐电容器C\(_{1}\)、C2应使用质量比较好的,这样可使接收情况稳定。

线圈可以购买蜂房式的,装在底壳下面,这样可不至受外界影响而使收音稳定。自己绕制其他形式也可以,绕圈的圈数不是十分重要的,相差不多时可以利用电容器的容量来调节。两个栅极电容器的容量可根据下式子求出:
C=\(\frac{1}{(6.28f)}\)\(^{2}\)L
式中C是所需的容量,单位是微法;L是绕圈的自感量,单位是亨;f是电台的频率,单位为通。所购买到的广播线圈自感量多是在240微亨(240×10\(^{-}\)6亨)左右,可将此值代入式中求出电容量来。例如欲听中央640千周的播音,那么
C=\(\frac{1}{(6.28×640000)}\)\(^{2}\)×240×10-6
=260×10k\(^{-}\)12=260微微法,
在实际中就可用一个250微微法的云母固定电容器和一个半调谐电容器并联,然后调谐半调谐电容器到声音最大就行了。
至于再生电容器的容量就不容易计算了,只好靠实验的方法加以确定。一般说来约100微微法左右。
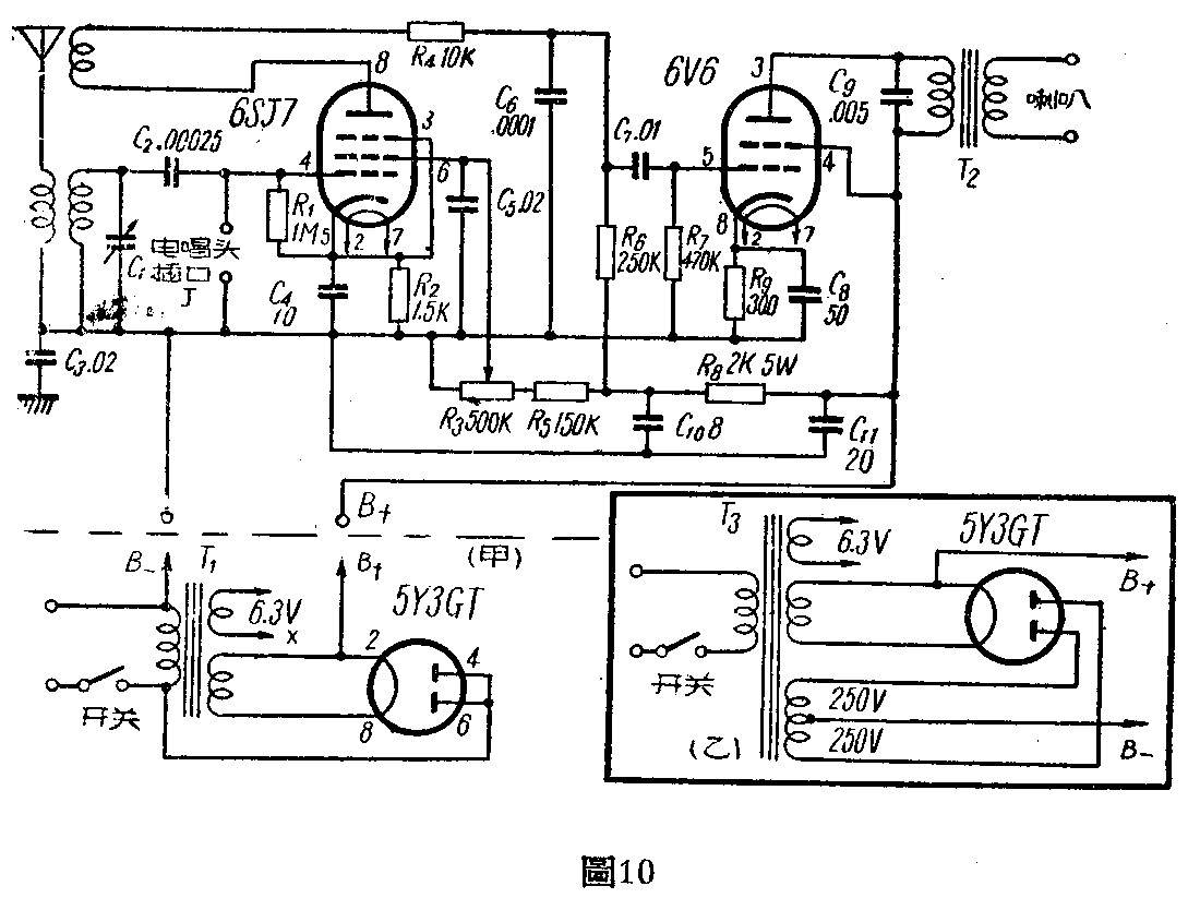
4.三管交流收音机 这里介绍两个三管机电路,都是用 6SJ7,6V6和5y3 GT电子管,主要电路也是完全一样,只是在电源供给方面有一些差别。图10甲是高压直接由市电供给的;图10乙是由变压器次级圈供给的。两者效果相似,不过乙图比较安全,底壳不会电人。

电路是6SJ7检波,6V6强放,5y3GT整流(甲图半波乙图全波)。本机的特点是除了正常的收音之外还可以放唱片。在检波管的栅极和地之间装一个电唱头插口,并且检波管的阴极多接了一套自给栅负压设备C\(_{4}\)、R2,此外栅漏电阻R\(_{1}\)不是直接接地而是接到检波管的阴极。这样,6SJ7在检波时,栅极没有负电压,工作比较灵敏;在放唱片时(这时电唱头插入插口内),栅负压经过唱头加到栅极上,使电子管工作于直线部分,没有失真(这电路只适用于磁石式唱头)。
再生是由电位器R3改变帘栅电压控制的,如果改用电容器控制也是可以的。
检波级和低放间用阻容耦合,喇叭和6V6间是用变压器耦合,这样可以使音质优美和输出大(匹配)。
底壳的排列见图11,两种电路的排列方法相同。

校验和调整
校验是检查电路是否有误,调整是使收音机工作于最优良的情况,这两步是不可少的。电路有否接错可对照图和实际检查,也可用前几期介绍过的小电珠的测验方法,在正式插入电子管之前一定要仔细地校对几遍,以免遭受损失。
在再生式收音机中,主要调整的对象是再生。调整再生是装机中最困难的一项工作,也是影响性能最严重的因素。对再生机的主要要求是“在全个接收波段中,再生都应该是平滑稳定”,要想达到这个要求,就要将再生圈和栅极圈间的距离或再生圈数仔细地反复地调整;发现再生不足时,增加再生圈数或将两线圈间的距离减小;发现再生过强时,减少再生圈数或是增加两线圈间的距离。
在焊好后,有时会得出这样的结果,就是没有再生作用,这是线圈接反了的缘故。如果屏极再生线圈和栅极线圈绕的方向是一致的话它的接法如图12。

电路的变化
上面所介绍的电路都是利用阻容耦合电路的,如果读者存有低频变压器的话也可以换上试一下。接时比数低的那一边接于屏极,比数高的那一边接到放大管的栅极,见图13。

电子管也不一定限于所介绍的那几种,例如:1N5G、1D5、lA4和1L4等可代替1T4作检波;3Q4、3A4、1A5GT、3S4和33等可代替3S4;1S5可用1N5G等管代替; 6SJ7可用6J7、6SH7、6C6和77等代替;6V6可换上6K6、6F6和42等电子管;6SL7和 6SN7也可以互换,也可以用单只三极管6J5,6C5等代替。不过代用时由于各个电子管管脚接线不同,要参考电子管手册加以改正。
注 这是线圈L\(_{1}\)、L2和L\(_{3}\)的圈数和绕法为了避免重复,没有加以说明。请参照本刊今年第3期,收音机制作讲座。(义)


