一般的扩音机,都是连电源设备装置在一起的,因此它的体积大,机身重,携带起来很不方便。
我们装置了一架扩音机,是把扩音部分与电源部分分开装置的,见图1、图2。扩音机的体积只有 25×20×13公分;电源部分的体积是15×18×15公分,都约重1.5公斤。在有交流市电的城市里,只要将扩音机与电源部分接连起来,就能工作;在没有交流市电的农村中可以用6伏的甲电蓄电池和300伏的乙电蓄电池供给电源,就可以使用。


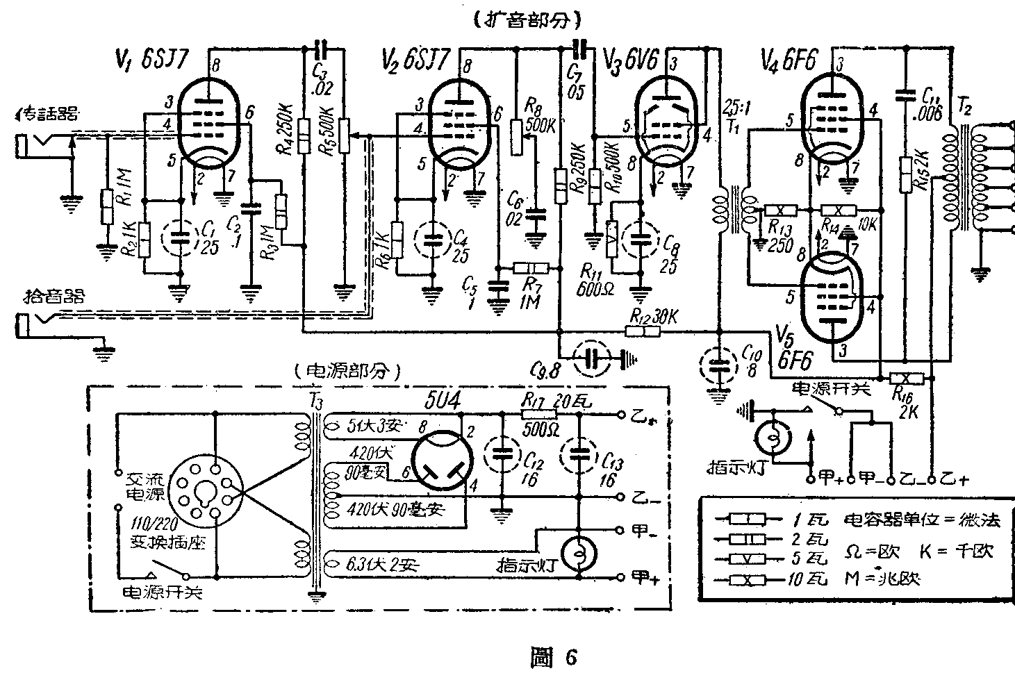
它的结构很简单,扩音部分所用的电子管都排列在底板上面见图3,全部另件都按装在底板下面见图4;电源部分的装置见图5,线路见图6。




为了要使小型电力管能有较大的输出功率起见,我们采用了五极管V\(_{1}\)6SJ7作传话器前置放大,V26SJ7作拾音器放大与V1混合交连,再用V\(_{3}\)6V6将屏极和帘栅极并连成为三极管做为放大,最后用V4、V\(_{5}\)两只6F6作甲乙2类末级推挽功率放大。
在本机的末级回路里,V\(_{4}\)、V5的帘栅极电压和栅极负压的稳定度是非常重要的。因此在帘栅极和阴极间加用了泄放电阻R\(_{14}\),能使帘栅极电压稳定,在阴极电阻R13上通过的电流较大,所以阻值可以用得小些。并在V\(_{4}\)、V5的两异之间加装了R\(_{15}\)和Cll使输出减低失真。
电源部分:采用5U4全波整流,电容器输入式。用R\(_{16}\)代替扼流线圈,采取C12、C\(_{13}\)大电容量滤波。
本机的T\(_{l}\)、T2和T\(_{3}\)都可以自行绕置,Tl输入变压器初次级比数是2.5比1,铁心断面积是16×16公厘,采用日字型硅钢片,初级用0.13公厘(39号)漆包线绕3000圈;次级用0.15公厘(38号)漆包线绕1200圈中心抽头。T\(_{2}\)输出变压器的铁心断面积是25×25公厘日字型硅钢片,初级用0.21公厘(35号)漆包线绕3750圈中心抽头;次级输出阻抗分4、8、16、250和500欧5个抽头,4欧用1.02公厘(19号)漆包线绕75圈,8欧用 0.81公厘(21号)漆包线绕106圈,16欧用0.71公厘(22号)漆包线绕150圈,250欧用0.21公厘漆包线绕593圈,500欧用0.17公厘(37号)漆包线绕840圈,可以配用各种永磁扬声器和线间输送变压器。T1、T\(_{2}\)是本机的重要元件,它的质量对效率有很大的关系,所以在绕制时,圈数必须准确,铁心嵌插需要顺同方向,并留以空隙,垫一层牛皮纸,以防磁性饱和,降低电感,引起失真。T3电源变压器的铁心断面积是38×38公厘,以4圈1伏计算,初极线圈是110伏或220伏两用,用0.41公厘(27号)漆包线绕440圈两线,共绕880圈。次级高压全波整流,交流电压每组为420伏,屏流最大时约90毫安,用0.21公厘漆包线绕1680圈,中心抽头,整流管灯丝为5伏3安,由于次级灯丝电压低,电流大,考虑到导线电阻的损失,故加10%计算,用1.22公厘(18号)漆包线绕22圈,6.3伏2安灯丝用1.02公厘漆线绕28圈,初级与次级之间用0.15分厘(38号)漆包线绕满一层静电隔离线圈通地,以免交流哼声。T\(_{3}\)绕制时,必须注意各极间绝缘良好,以防打穿,同时铁片应要交迭嵌插极紧,以免产生吱叫声。
本机经作者校验输出功率约有20瓦,可供千余人的会场听取报告或放送唱片,效果都很良好。(李泰义)