本机是专为旅行者以及装置室外天线有困难时设计的。主要特点是用环状线圈来代替天地线及谐振线圈。
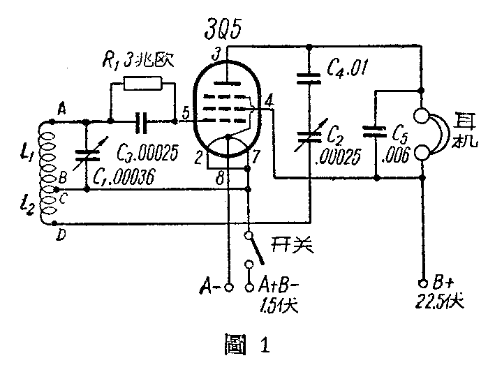
工作原理 此机采用栅极检波线路(图1)。高频电流经过环状线圈L\(_{1}\)及可变电容器C1谐振后,通过电容器CL\(_{3}\)送至3Q5的栅极。L2、C\(_{2}\)、C4是再生回路,用C\(_{2}\)调节再生力,再生线圈L2与栅极圈L\(_{1}\)放置很近,L2回授给栅极一个正电压,使信号强度增加,经过检波放大后的信号,通过耳机,变成原来的声音。


装置过程 木盒是用厚4—5公厘的木板,制成长210公厘,宽110公厘,高150公厘的小木箱。按照图2甲、乙,图3的位置排列另件。这里需要注意的是3Q5的地位最好离线圈较远些,以免干扰。在木箱底板上引出两只长约35公厘的螺丝,用以固定灯座L\(_{1}\)与L2都用线径0.34公厘(SWG3号)的铜线。绕在210×110×15公厘的小木箱上,L\(_{1}\)绕20圈,L2绕14图,绕制方向需要相同(见图4)。两线圈相距7公厘,B、C相连线圈绕好后,用洋腊封固,以免松动和受潮。



调整 装置完毕后,接上电池。首先将开关闭合,调节可变电容器C\(_{1}\)。如听见“格格”声与“尖叫”声,就可开始调节C2,使耳机内听到电台的播音声。这部收音机在北京郊区白天能收听到全市电台,并且电台间互不干扰;晚间还能收听到外地电台,收音成绩相当满意。
如没有3Q5电子管,可以选用其他省电而放大功率较大的电子管如3S4、1S4、2П1П等,只要把电子管脚的接线改变一下即可。假如以上电子管都买不到,那么还可用1A5、1T5等放大功率较小的电子管代替。但是需要把B电压适当的提高一些,以求得足够的音量。
在调节电台时,由于利用了环状线圈,对某些电台的选择需要转换机箱方向,才能求得很好的收音成绩。同时调节可变电容器C\(_{1}\)与C2时需细心,要慢慢地旋转,否则在晚间的一些外地电台很容易蹓跑,这点是特别需要注意的。
结尾语
1.L\(_{1}\)、L2二线圈是串联使用。线头方向切勿接错,否则无音可收,可按照(图4)焊接。线圈绕制的起点和终点,各用两小孔穿绕,以防松动和脱落。
2.如果再生力不够强,可以增加再生线圈L\(_{2}\)的圈数,反之可以减少。
3.屏回路中固定电容器C\(_{4}\),在线路中是很重耍的。功用是当可变电容器C2短路时,可防止乙电池的大量放电现象,与在放电时耳机里产生震耳的声音。(薛乾康)