要将收音机的一般输出级电路改装成推挽电路,除了需加装同一型号的输出功率管,需将输出变压器换成带中心抽头的变压器以外,还要加装一个倒相管,使相位倒转180度后再加在另一只输出功率管的栅极上。这里介绍的一种推挽电路可以省掉倒相管,并且充分利用了原有的另件,因此照这种电路来改装的费用少,而且很方便。
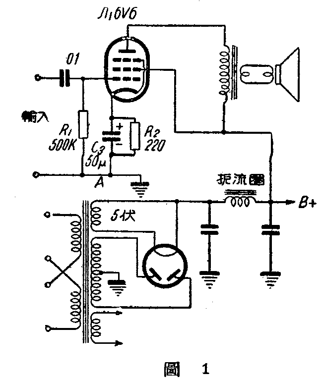
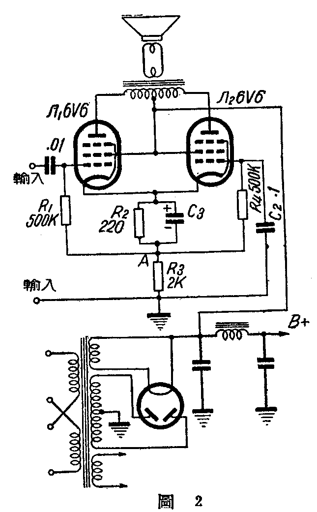
图1是用6V6电子束功率管构成输出级的一般电路,而图2就是改装后的推挽电路。比较以上两图可以看出:改装时除了更换输出变压器,加装新另件以外,原有的另件几乎保持不变。加装输出管Л\(_{2}\)(6V6)的接法很简单:阴极和原有输出管Л1的阴极相连,帘栅极和Л\(_{1}\)的帘栅极相连后再接至输出变压器的中心抽头,而中心抽头则接屏极电源。Л2的栅极和A点之间接一个数值和R\(_{1}\)相同的电阻R4,和地之间接一电容器C\(_{2}\)。屏极则接至输出变压器的一端。最后,在A点与地之间接入一个电阻R3,使两输出管作阴极耦合,便成了不用倒相管的推挽电路。下面我们简单地分析一下这个推挽电路。


不用倒相管的推挽电路的左面部分可以看成是一个阴极接地的放大器,右面部分是一个栅极接地的放大器。两个放大器的栅偏压都由电容器C\(_{3}\)和电阻R2供给。电阻R\(_{3}\)通过R1接至输出管Л\(_{1}\)的栅极,所以Л1的栅压和电阻R\(_{3}\)上的电压的相位相同。但是右面输出管Л2的栅极是通过电容器C\(_{2}\)接至R3的另一端的,所以Л\(_{2}\)的栅压便与R3上的电压相差180度,于是左右两输出管栅极上的电压在相位上就相差180度。这就是推挽电路所要求的。显然,R\(_{3}\)和C2在这里起了倒相作用,代替了倒相管。
由于电阻R\(_{3}\)上有相当大的直流电压降,它降低了屏极的有效电压。因此改装后必须设法提高屏极电源电压。为此,我们可将输出变压器的中心抽头改接在整流滤波器扼流圈前面的电容器上,不接在扼流圈后面的电容器上,这样就能提高屏极电源电压。R3的数值应如此来选择:所用的电子管的互导愈大,R\(_{3}\)的数值应愈小。(俊)