6SA7是一种五栅变频管,在超外差式中、短波广播收音机里用得很多。原因是线路比较简单、变频增益较高、在只有一级中放的收音机里,内部杂音相对的说尚能令人满意。
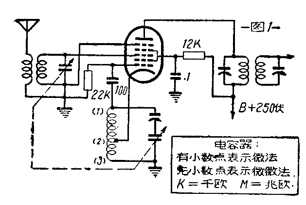
6SA7管线路如图1。它的第一栅(由阴极往屏极数)是振荡栅。阴极、第一栅与第二栅就好像一个三极管一样,组成哈特莱式振荡器。第三栅是信号栅,其作用是引入外来信号,在管内利用电子耦合作用与本地振荡频率相混(拍),遂由屏极输出两个频率之差(中频)。第四栅是帘栅,它与第二栅相连。第五栅是抑制栅,在金属管中它与外壳相连。

市售的6SA7本地振荡线圈都是三个接头的哈特莱式振荡线圈,如美通牌553B力士出品的800OSC等。因此,有人就误以为6SA7线路只此一种,其实花样是很多的。如果对振荡原理有初步了解,则可举一反三。在图1中,第二栅的作用像一个三极管的屏极。工作电压通常为65-120伏。就高频电位来讲它是地电位,因为它已由0.1微法电容器傍路接地。全部通过阴极的电流由阴极经线圈的②、③段到地回到B—。这一电流使得线圈①②段产生互感(像—个自耦变压器),使得①点得到一个比②点正的电压。这样,在栅极上的电位就比阴极为正,屏流大增,趋于饱和。这时,由于电流停止变化,储存在振荡槽路内的能量放出,使线圈①②段再度产生互感,不过极性相反,所以屏流开始下降,趋于截止值。但①②段又产生互感,电流又开始上升,这样反复循环就形成振荡。所见只要阳栅供给振荡栅一个足够的同相回输电压,就能产生振荡。下面列举的线路虽多,原理却都是一样的。
大多数厂制收音机的线圈上都没有写字,即或写有数码符号也极不统一,所以修理机器时,需要先根据线圈接头多少来初步判明电路结构。
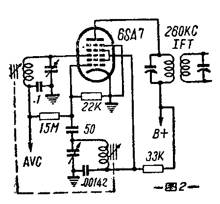
两个接头的线圈这类收音机是极少见的,图2是用于只有中波段的广播收音机,是用铁粉芯来调谐频率的。线圈上的修整电容器是5—30微微法,图中数值,是只适合260千周中频用的,这个振荡电路是考毕资式,0.00142微法电容器与修整电容一起构成回授系统,它的特点是简化了线圈构造,并使线圈电感量改变时,不过多地影响振荡电压数值。这类收音机电路大都用在汽车收音机上。

有一些特别高级的收信机如Collin 397B等,采用串联调谐考毕资振荡回路,它具有很好的稳定性,如图3。

三个接头的线圈这种振荡回路是使用较多的一种,其基本形式如图1。它是6SA7管设计者推荐的一种回路,我国出品的各种采用6SA7作变频管的收音机几乎都使用它。业余无线电爱好者在自行绕制短波段振荡线圈时,也多采用这种回路,因为短波线圈只有间绕的一层,变动阴极抽头(②处)时方便一些(抽头②的位置决定着振荡的强弱)。
四个接头的线圈这类振荡回路大都使用在只有广播段(550-1650千周)的收音机中,大致上讲可以说有四种情况,其中以前两种形式最常见,在图4中,阴极回授线圈不再是调谐线圈的一个组成部分,而是单独绕制的,增减它的圈数就可控制振荡的强弱,同时不致于过份影响调谐部分的频率。对于愿意自行绕制振荡线圈的人来说,在中波、长波段,以此式为宜。因为中、长波段的线圈大都是多层叠绕,像图1的电路就没法任意调整振荡电压。图5与图1的结构基本相同,仅将振荡栅电容器(一般容量是10微微法—250微微法)取消,而由L\(_{1}\)与L2所形成的分布电容代替。L\(_{1}\)的下端是开路的,多半嵌在L2中不向外引出接线,故线圈管上是四个接头。在图4的情况,将另件焊开,用电表测量时,线圈接头是两两相通,在图5的情况是三个接头相通,另一头与那里也不通。


图6与图7都很少见,只有个别美国厂家采用。图6与图1相似,只是振荡栅没有接在线圈顶端,而接在一个抽头上,故形成了四个接头,用电表测量时四头相通,它的本身振荡频率较稳定,图7中,抑制栅接在振荡线圈的一个抽头上,当收音机调谐到度盘上振荡较弱的一端(电容器闭合),它的变频增益较通常形式高一些,这种作用在短波段较为明显。


五个以上接头的振荡线圈图8甲是图4及图5的复合并无其它奥妙,用电表测量时五个头两两相通,一个头与那里也不通。有时这种线路又做成图8乙的样子,形成八个接头但有两个不焊线。

以上列举的电路大都是用在只有中波段广播收音机中的。下面再简单提一提多波段的收音机电路。
在采用6SA7作变频管的多波段收音机中,几乎有90%都是以图1为基础。但是因各厂各牌的波段开关不同,所以使得振荡线圈也不同,形式很多,很难一一列举。
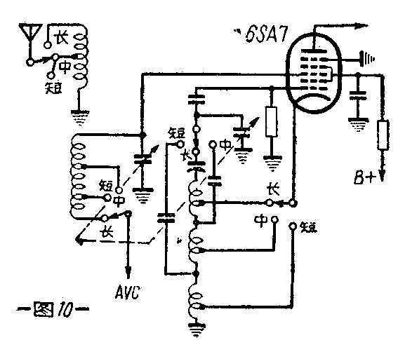
图9是一种基础形式,但通常由于成本及地位关系,除收信机外很少采用,大都将它作一些变通,较典型的一种如图10。线圈的电感量用抽头去控制,以适应各个波段的需要。国产美通牌线圈就与之相似。


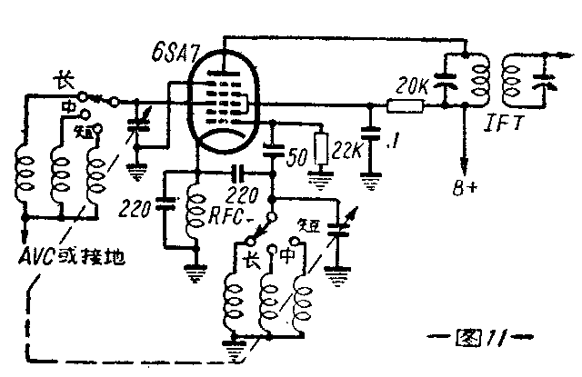
但是在三个波段以上的收音机尤其是用按钮式波段开关的机器,每每都在49,41,31,25,19,16,13公尺处采用图11的形式。振荡线圈只有两个接头,所以大大简化了波段开关的构造。(沈铭宏)
