从今年7月1日起到明年年底止,是国际地球物理年,全世界的科学家将要联合起来,对地球来个全面的调查和研究。研究的范围极广,不光是地壳、海洋、大气层、地磁,也包括宇宙射线,太阳的电磁辐射,离子层的结构等一系列人类尚未了解或了解得还不够的自然界的秘密。
国际地球物理年中,部分国家将放射火箭和人造卫星,作为对某些科学研究的工具。人造卫星从地面发射到太空中后,人类如何利用无线电测定它围绕地球运转的轨道,人造卫星又如何用无线电把在太空中用仪器纪录下来的各种数据向地球报告等等,这是一个富有兴趣的也是我们所关心的问题。本文就从这方面作一个简括的介绍。——编者
在这一届的国际地球物理年中,人造卫星的投射和应用,是一件非常重要的事项。人造卫星在科学和军事上的价值是很明显的,但是它将如何地影响地球上今后人类的生活,现在尚不能预言。如果人造卫星是导致星际航行及到达其他星球的第一步,则若干年后,人类到别的星球上去居住,将不是完全幻想。
人造卫星的成功,表示了近代科学中的高度技巧,特别是无线电电子学。人造卫星的起飞是利用三段的火箭把它投射到预定的轨道上去的。每段火箭的脱落,进行方向等都需要用无线电电子学的方法来进行控制或测量。因此从它的起飞直至在预定的轨道中安全运行,并将在高空测量的科学数据传达地面以及地面上对人造卫星的跟踪等,在整个过程中,一时一刻都不能离开无线电电子学。
人造卫星中的电子学设备
人造卫星中的电子学可概括的分为两部,一部分是地面上的设备,其中包括对人造卫星的跟踪和接收人造卫星上科学数据的装置;另一部分则是按装在人造卫星上的。人造卫星的任务是在高空对一些物理现象进行测量,如宇宙射线,太阳的电磁辐射,离子层的结构,地磁场的变化,星际间的尘粒,地面的照度,大气的密度和温度等,这些现象的观测要利用各种不仝的换能器,然后将数据用无线电电子学的方法传送到地面上的测量站。此外人造卫星还需要连续不断的向地面上发射频率非常稳定的电磁波,使地面上借以精确的测定它在太空中的位置。因此人造卫星上必须有两套发射设备,一套为跟踪用,另一套为发送数据用。
人造卫星的跟踪
人造卫星上的设备 目前所拟采用的对人造卫星跟踪的方法是无线电电子学上的“相角比较法”,也就是测量两电磁波间相角差的方法。这个方法的简略情形是:在人造卫星上按装一个频率非常稳定的发射机,它的频率是108兆周,因为人造卫星的负重和体积有限(重10公斤,体积0.5立方公尺),发射机的全部装置必须精巧轻便(图1)。有两种设计可以采用。一种是利用晶体管的,其线路如图2所示。发射机包括电源,天线及温度控制设备等全重约一公斤。另一种设计是采用超小型电子管的,全重约一公斤半,虽然比用晶体管重些,但电子管在高频时的性能及可靠性要比晶体管优越。


无论是用那一种设计,为得到高度的频率稳定性,都需要用特殊切割的石英晶体和恒温装置来控制频率。

跟踪方法 从人造卫星上发射机发出的电磁波传达到地面时,如在地面上安装两付间隔若干距离的接收天线,则电磁波到达这两付天线的时间先后将有差别。设A\(_{1}\)2为两付接收天线(图3),从图中可以看出,天线A\(_{1}\)收到电磁波的时间要比天线A2收到电磁波的时间稍迟,原因是到达A\(_{1}\)的电磁波在空间要多走一段P1A\(_{1}\)的距离。如P1A\(_{1}\)间距离的长度等于电磁波波长λ的整倍数,则A1\(_{2}\)收到电磁波的时间虽有先后,但没有相角差(见第3页解释),即同相。如P1A\(_{1}\)不为波长λ之整数倍,只A1\(_{2}\)内之电磁波将有一相角差Δθ1。设P\(_{1}\)A1=\(\frac{1}{4}\)λ,则相角差Δθ=1;4λ·360°λ=90°;反过来,只要测量得相角差Δθ\(_{1}\),即可求得P1A\(_{1}\)为λ之倍数。因A1\(_{2}\)间之距离为已知,例如为n个波长的距离(n为整数)。根据三角术的定义,直角三角形斜边与对边之比是随斜边与底边夹角大小而变化的一个数值,称为正弦(数学上以Sin符号表示)。例如sinβ就是β角的正弦值。图4中A1A\(_{2}\)是斜边,P1A\(_{1}\)是对边,由以上定义可得
sinβ=\(\frac{P}{_{1}}\)A1A\(_{1}\)A2,
故可求得β角,即人造卫星与铅直方向所成之角。可惜的是如果P\(_{1}\)A1=λ+\(\frac{1}{4}\)λ或P\(_{1}\)A1=n'λ+1;4λ时 (n'为整数),测得的相角Δθ\(_{1}\)均为90°,因此遂不能确定β角之值。为免除这个困难,遂又引入第三个天线,如图4中之A3。设A\(_{1}\)A3=\(\frac{n}{5}\)λ,A\(_{3}\)收到的电磁波与A1收到的电磁波,亦有一相角差Δθ\(_{2}\),测得Δθ2即可计算P\(_{2}\)A1。设P\(_{2}\)A1= mλ,故sinβ=mλ;\(\frac{n}{5}\)λ=5m;n。假如天线有方向性,使β角不超过5度或6度,因m=\(\frac{n}{5}\)sinβ,故m之值将小于一,而不致引起混乱。因此此,每一粗Δθ\(_{1}\)、Δθ2之值,即相当于一固定之β角。但当β角较大时,仍可引起混乱,故所用之天线须有较好之方向性。因A\(_{1}\)A2间之距离校大,β角稍有改变,即可产生较大之Δθ\(_{1}\),故A1A\(_{2}\)为精密的跟踪天线。如欲测定人造卫星在南北方向的角α,尚须另外安置天线A4\(_{5}\)6,如图5所示。因频率为108兆周,故λ=2.78公尺,A\(_{1}\)A2=139公尺,A\(_{1}\)A3=27.8公尺。为增大南北向能测量的角度,或须再安置天线A\(_{7}\)。故整个系统将包括七个天线。


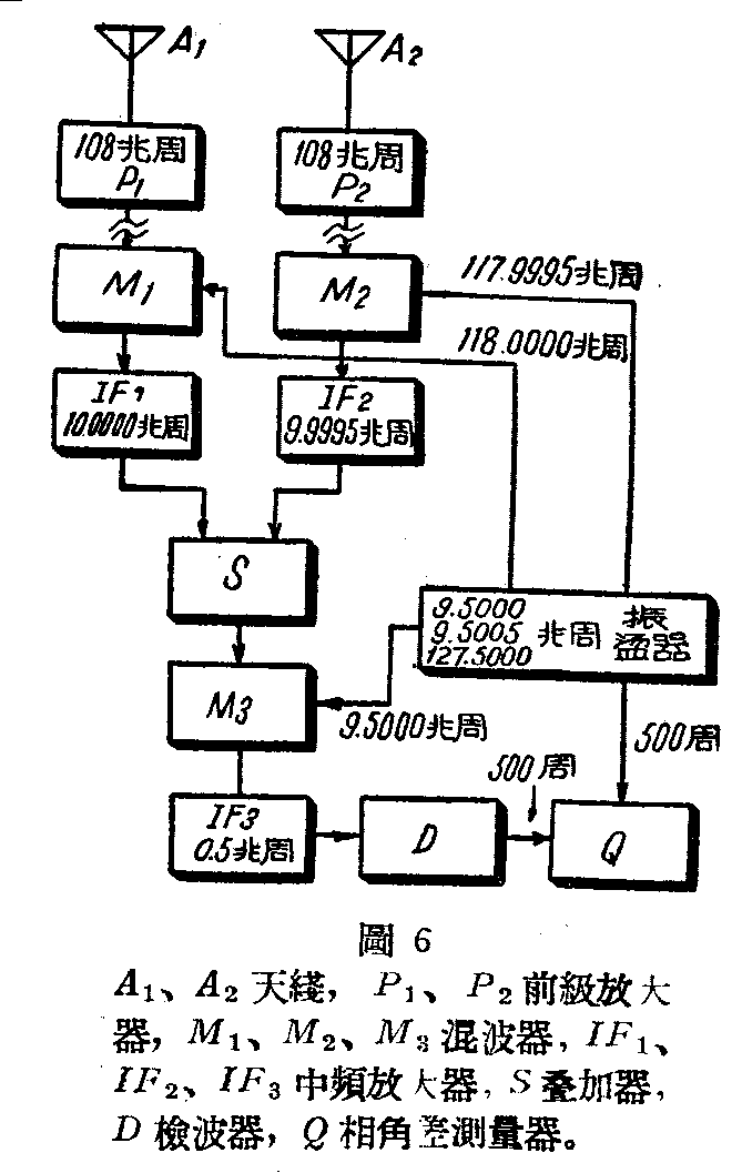
测量相角的线路比较复杂,(图6),天线A\(_{1}\)A2收到有相角差的电磁波后,轻低噪声的前级放大器P\(_{1}\)和P2,其增益约为23分贝,进入混波器M\(_{1}\)及M2,得10.0000兆周及9.9995兆周的中频。经中频放大器IF\(_{1}\),IF2后进入叠加器S,再经混波器M\(_{3}\)而得500周调制之0.5000兆周之载波。经中频放大器IF3及检波D再把500周低频振荡检出,此500击振荡与振荡器输出之500周参考振荡间之相角差,即为A\(_{1}\)A2内电磁波之相角差,可用相差测量器Q测得。

比较简单的跟踪设备是只用两对天线,一对沿南北向放置,另一对沿东西方向放置,如图7。如A\(_{1}\)A2 内电磁波之相角差为0°或360°,收信机的输出最大;若相角差为180°或180n(n=1,3,5……),收音机之输出最小,故可测量收信机之输出而定相角差。收信机输出与相角之关系如图8。这类跟踪天线系统,须于事先用携带发射机及光学仪器的飞机加以校准。

因为离子层的高度约300公里,而人造卫星的轨道高度约500公里,从卫星上发射出来的电磁波,势必穿过全部离子层的厚度。在这一次国际地球物理年期间太阳上的黑斑有剧烈的变化,它将影响离子层中电子的密度,最大每立方公分中将达三百万个电子。离子层的变化将影响跟踪采统的精确度。如果将因离子层的变化而引起的偏差加以修正,用上述跟踪方法测得空间的角度,误差将不致超过0.03度。
人造卫星上科学数据的发射
人造卫星上的第二套发射设备是传送科学数据用的,它的方块图如图9所示。天线收到地面上发来的某预定频率的电磁波,经过滤波器F\(_{1}\)、F2后到达超外差式收信机R,R内混频用的振荡系从108兆周跟踪用振荡器得来的。收信机之输出经音频放大器S后即作用于继电器L上,使开动各种测量仪器M,电码变换器C,500毫瓦振荡器O\(_{2}\)及开关K。500毫瓦振荡经电码调制后再馈入天线而传送至地面上的天线,发射数据之时间约为半分钟,为节省电源起见,继电器工作半分钟后即自动停止O2、M、C等内之电源。为了保护测得之科学数据,自地面发来的能开动收信机的电磁波频率,将是一个保密的数字。


限于篇幅,这里不再讨论人造卫星上作测量用的各种换能器及其他电子学仪器。
以上所述是人造卫星中运用电子学的两个重要部分,已经过初步实验,至应用时其效果如何,须待人造卫星正式飞行时,方可验证。(杜连耀)