单回路矿石机灵敏度高但选择性低,而三回路矿石机灵敏度低而选择性好。本机可适应不同的要求,它既有很高的灵敏度,还能有满意的选择性。

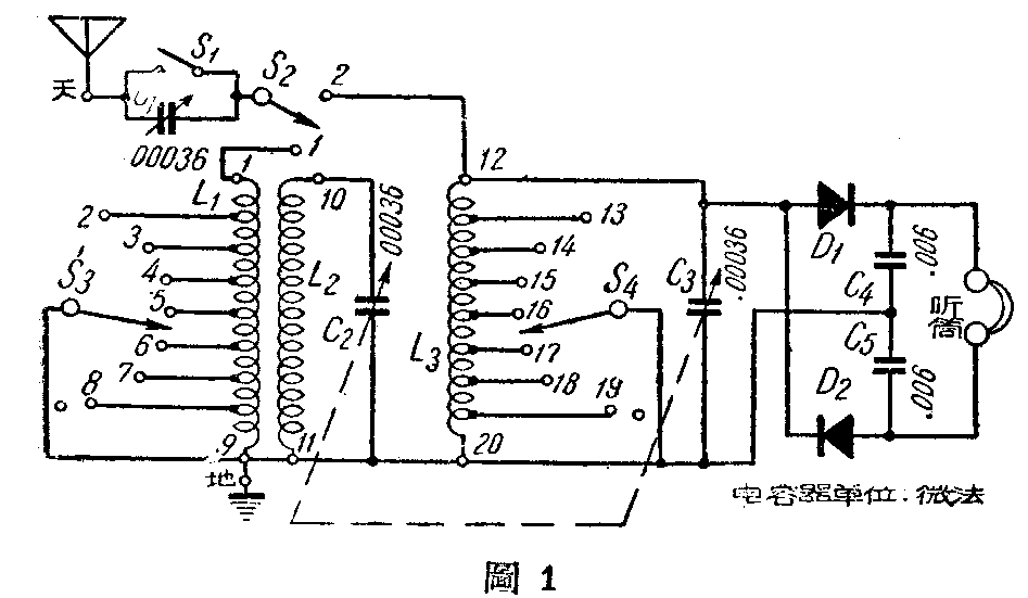
这都矿石机是用两个矿石检波的,声音较一般矿石机大(图1)。当S\(_{1}\)关闭,S2掷向2时,是一个单回路矿石机,利用C\(_{3}\)和S4来选择电台,这时声音最响。而当S\(_{2}\)掷到1,S4掷到空钉上时,这时成为一个三回路矿石机,它利用S\(_{3}\)和C2、C\(_{3}\)把电台分得十分清楚,如把S1打开,则选择性更可提高,适用于上海、北京等电台较多的城市中。在听收远地电台时,可把S\(_{2}\)掷到2,同时把S1打开,利用C\(_{1}\)、C3、S\(_{4}\)分别调节,可得到很好的成绩。

线圈的绕法如下:用直径50公厘的圆筒,直径0.32公厘的漆包线(30号),L\(_{1}\)绕60圈,在10、20、25、30、35、40、50各处抽头; L2、L\(_{3}\)各绕72圈。在9、18、29、36、45、54、63各处抽头。L1与L\(_{2}\)相距10公厘,L2与L\(_{3}\)两线圈筒相距10公厘。L2、L\(_{3}\)于绕好后一般高低(图2)。

本机面板形状见图3。(樊绍民)