在自动控制或其他设备中有时需要定时启闭开关来调节电路的通断。定时启闭可以用机械的方法或电子管继电器的方法来完成。

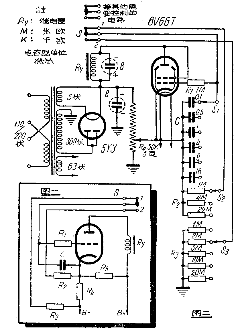
利用电子管继电器作定时开关的基本线路如图1,开关S是继电器Ry上的一刀双掷接点开关,开始时Ry上衔铁和接点2相接,电子管V的栅极经过电阻R\(_{1}\)、R2和阴极相通,栅极电位和阴极电位相等,因而有屏流。当屏流增加到足够大时,屏回路中Ry的衔铁被吸,开关S便从接点2跳向接点1,代丙电阻R\(_{4}\)上的电压降通过R3使电容器C渐渐充电,栅极变负(对阴极言),屏流减小。当屏流减小到某值时,Ry的衔铁松开,S又弹回接点2,C通过R\(_{2}\)放电,栅极电位又和阴极相等,屏流增大,增大到某值时,Ry工作,又把S吸向接点1,如此不断重复上面的启闭动作。
从上面一些说明,可以清楚地看出C和R\(_{2}\)的数值愈大,放电时间愈长,即Ry和接点2闭合的时间愈长;如C和R3的数值愈大,充电时间愈长,即Ry和接点1闭合的时间愈长,因而适当的调整C、R\(_{2}\)和R3的数值,就可以适当的启闭各种电路的通断。
图2是一张时间继电器完整的经路。图中用S\(_{1}\)、S2和S\(_{3}\)分别调整需要启闭的时间,电容器用耐压200伏以上的纸质或电介质的均可,R1、R\(_{2}\)和R3均为半瓦炭阻。目前商品继电器一般启闭时的电流值相差很大,往往超过20毫安以上才吸,减小到1,2毫安以下时才松开。6V6的屏流在降至1、2毫安时阴极电位至少要在70伏以上,所以它的灯丝一端要和阴极相接,否则电位差较大,易使电子管损坏。
整个装制没有什么特别之处,所以这儿不再详细说明。安装完毕后,第一步要校正分压电阻R\(_{4}\):暂时将R1直接接到阴极,原来从阴极接C、R\(_{1}\)和R3等通地线断开。电源开启后,继电器Ry的衔铁S吸动;如把6V6栅极改为接地,衔铁S释放,逐步调整分压电阻R\(_{4}\)的活动臂到刚好使Ry把S释放为止。然后恢复原来的线路,改变S1、S\(_{2}\)和S3的各接点位置,继电器便按一定的时间启闭了。

附表是C、R\(_{2}\)和R3在不同数值时继电器启闭的时间。由于电阻、电容器的误差以及继电器的性能不同,都会影响启闭时间的长短,这儿仅供参考。(吴国梧)