一部放映机的效果如何,是由画面的清晰度、稳定度、光线的强度和还音是否良好等因素决定的。单以放映用扩大机来说,比一般言语扩大机有较高的要求。设计和选择线路要根据放映机所放映的影片规格对音频放大性能的不同,而要求有所区别。
影片规格及录音
影片常见的分35公厘与16公厘两种。固定型放映机(电影院用)是放映35公厘影片;流动型放映机(农村放映队用)大多是放映16公厘影片。这两种影片录音的音频性能也有区别。35公厘影片每秒钟通过放映机24个画面,长度是457公厘,录音的最高音频是8000周左右;16公厘影片每秒钟也是通过放映机24个画面,但是每个画面的长度比35公厘影片短得多,所以每秒钟通过放映机的长度就减至183公厘,所录的最高音频只能达到5000周左右。这是由于录音的单位时间长度受到了限制。而高音频录在影片上既短又细,记录的波形就很拥挤,高音频就被严重地削减了。
还音的要求
放映扩大机的还音对像,主要是影片中的说话和音乐。放映一部影片,如果由于还音说话的声音过于低沉,观众就难以听得清楚;如果音乐过于低沉,也会使观众听起来不协调。
要说话清脆和音乐幽美动人,就要求扩大机把高低音频都忠实地放出来,影片在录音时既已缺乏高音频,所以应该特别注意提高高音频的放大性能,以弥补录音的不足。
35公厘影片录音时,高音频比较丰富,这类放映扩大机只要稍加补偿就可以了,但16公厘放映扩大机就需要得到更好的补偿,一般要求从1000周起就要逐渐提高放大能力。
线路的选择及应注意的地方
放映扩大机的末级输出大都采用甲1类电阻交连推挽放大,这样可以有效地减小失真。为了使高音频损失尽量减少,前级大都采用五极管,第二级放大管或倒相管大都采用中放大因数的三极管来担任。理由是减小电子管的输入电容量以达到减少对高音频的傍路作用。在采用五极管或束射管做电力放大时,还需要有一定的负回授装置,以减少末级放大的非直线失真。
装置时要尽量不用或少用金属隔离线,特别是在光电管至前级的接线。因为光电管的输出阻抗很大(一般可达到几百万欧),金属隔离线的电容量虽然小,但也会引起高音频的损失。要用就需选用金属外套粗,内部接线细,有两层金属层分担输出回路及隔离的特制的金属隔离线。
国产200型(仿苏联列宁格勒型)16公厘放映扩大机中,就完全没有用金属隔离线,这需要妥善地隔离光电管及前级电压放大管来免除四周给予的各种干扰(包括各种散光的干扰及电磁场的干扰)。
几种高音频补偿线路

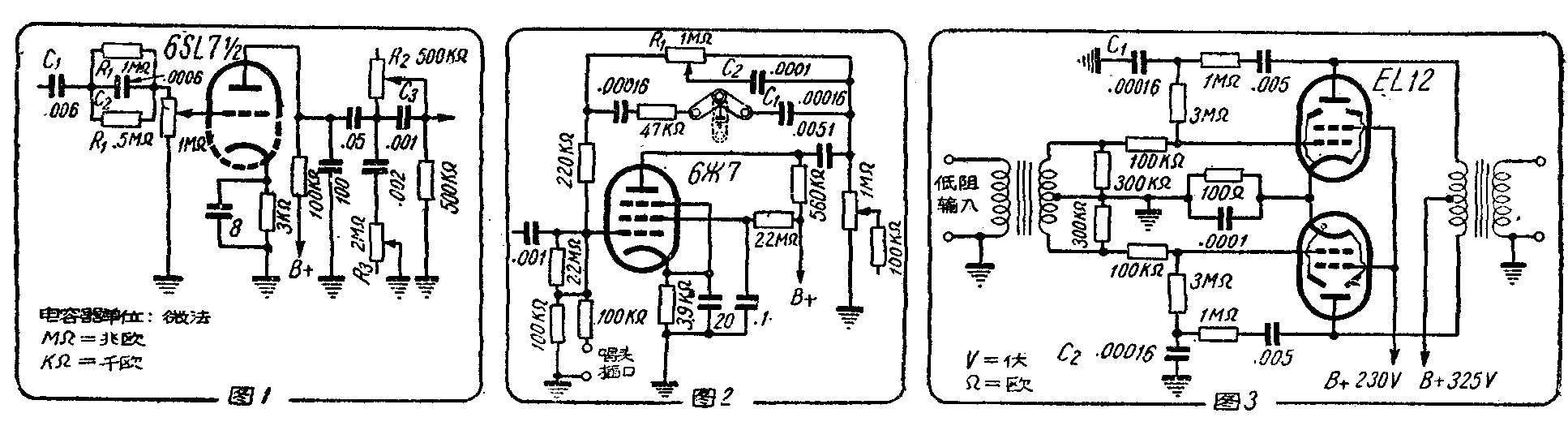
图1是国产天极牌35公厘放映扩大机的高音频补偿部分,这里采用的是常见的衰减低音线路。第一级电压放大管交连线路中的C\(_{1}\)是交连电容器,C2和R\(_{1}\)(两只并联)组成了衰减低音的滤波网络,C2的电容量较小,R\(_{1}\)的阻质较大,由于电容器的容量小,所以低音不易通过;为了防止高音频太尖锐,在电容器上并联了两只电阻缓冲一下。第二级电压放大管交连又采用了同上的高音频补偿线路,电阻R2是可变的,可以根据需要适当地调节。R\(_{3}\)是普通的低音调节。
这种方法装置比较简便,效果也很好,因此常常被采用。
图2图3分别是国产54型(仿苏联乌克兰型)和德国蔡司501型16公厘放映扩大机的高音频补偿线路,这两种线路都是采用负回授的方法。
图2中的电容器C\(_{1}\)及图3中的C1、C\(_{2}\)是用来补偿高音频的,它使负回授电路中的高音频傍路入地,负回输最强的是低音频,输出的高音频由于回授量小而变相的提高了。
用负回授补偿高音频的方法在放映用扩大机上已被普遍地采用。这不仅可以补偿高音频和得到负回授的好处(减少电子管的非线性失真),而且各种低频交流声(如高压滤波不善或电源变压器漏磁等)都能有效地被削减。
图2中的电位器R\(_{1}\)是调节低音调的,当电位器越往左端调时,高音频就通过C2而加强负回授,用削减高音来补偿低音。用这种方法的优点是电位器调节均匀,高音频失真由于负回授的增加而减小。
有时放映较旧的影片或播放唱片,由于声带损伤或唱头摩擦的嘶嘶声会产生噪音,这种噪音要给予适当的衰减,通常可以用图2中R\(_{1}\)来控制。(方君)