首页
全文搜索
分类目录
作者目录
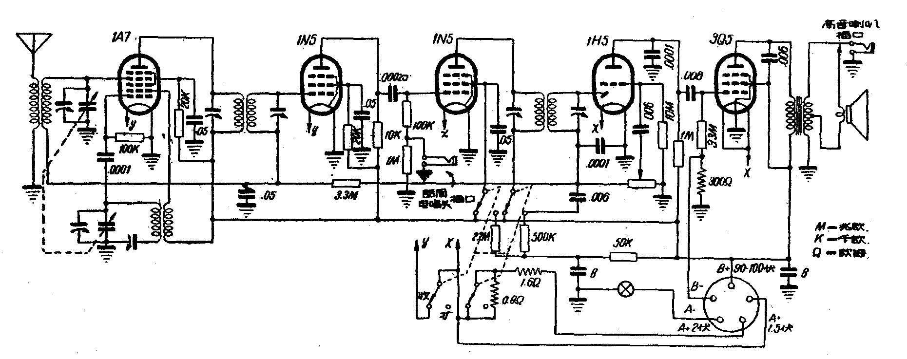
五灯电池收音扩音两用机
——无锡人民广播电台服务部出品
🏠 首页
《无线电》杂志
1957年 🔗
第9期 🔗
第25页
分类:
小词典 🔗
主要特点 加装一只话筒和一只高音喇叭,可作扩音机使用,能供三百到五百人收听。
线路的基本结构和它的特点,和本刊1956年3期14页发表的文章类似,可供参考。
图1
🔍原图 (1021×781)
图2
🔍原图 (1861×737)