矩形波是周期性地正负改变的阶梯形电压(电流)。它在无线电中的应用日益广泛,例如可以用它来调准补偿式放大器、衰减器,测量谐振回路的谐振频率、电感的分布电容等等。矩形波是怎样产生的呢?最基本的方法有两种:

1.把正弦波削成矩形波:我们最常用的电压是正弦形的,如果把它的上下两端削平,不就很像一个矩形波电压吗?把正弦波的上下两端同时削平的最简单的方法是用两只两极管结成图1所示的线路。在输入电压e\(_{1}\)的正半周内电子管V2不导电,而V\(_{1}\)在正半周电压e1超过偏压E\(_{C}\)之前也不导电,于是输出电压e2和e\(_{1}\)完全相同。当e1超过E\(_{C}\)时,V1导电,但由于R远大于V\(_{1}\)导电时的内阻,使V1两端的电位降很小,于是e\(_{2}\)几乎保持等于EC不变,一直到e\(_{1}\)又降到小于EC时,e\(_{2}\)又等于e1,于是正弦波的上端被削平。同样可以说明正弦波的下端被削平。这个被削后的波形不是真正的矩形波,它由正变负(或由负变正)时不是瞬时的。如果把它经过放大后再用上述方法削波,就可以削成很接近矩形波的形式。

这种削波和放大的作用可以同时由一只三极管来完成。图2表示三极管的削波电路和它的各级波形。当输入电压e\(_{1}\)为正但小于栅偏压Ec时,柳压eg=e\(_{1}\)-Ec,当e\(_{1}\)超过Ec时,开始有栅流流过栅极回路,这时栅极和阴极之间很像一只导电的两极管,由于R远大于栅阴极之间的内阻,所以e\(_{g}\)近似保持为零,一直到e1小于E\(_{c}\)时,eg又等于e\(_{1}\)减去Ec。这个上端被削去的e\(_{g}\) 波形经过三极管放大后就成为屏压的下端被削去的波形。如果eg的振幅大于截止栅压值,那么在负的e\(_{g}\)超过截止栅压值的这一段时间内,电子管截止因而屏压保持Eb值不变,于是输出波形的上端也被削去。只要E\(_{c}\)等于截止栅压值的一半,波形上下两端被削去的部分就相等(如果忽略放大的线性畸变的话),于是输出波形很接近于矩形波。要想得到更好的矩形波,可以把输出波再经过几级放大削波一直到满足要求为止。

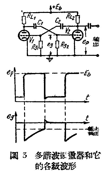
2.由电子管直接产生矩形波:把两个三极管结成图3所示的线路,叫做屏极耦合的多谐波振荡器,它是由电子管直接产生矩形波的最简便的方法。假设起初两个管子都导电,由于偶然的原因使V\(_{1}\)的屏流有些增长使得屏压有些下降,这屏压的下降经过电容C1和电阻R\(_{g2}\)耦合到V2的栅极,使V\(_{2}\)的屏流有些减小而屏压上升,这屏压的上升反过来经过C2和 R\(_{g1}\)耦合到V的栅极使V1的屏流进一步增长,屏压下降使V\(_{2}\)的屏流进一步减少,这个再生过程迅速进行一直到V1的屏流达到最大值(屏压达到最小值),而V\(_{2}\)截止(屏压达到最大值Eb)。但这种状态不会长久维持下去,仔细观察就会发现当V\(_{1}\)导电时。 C1通过R\(_{L1}\)和V1两条回路放电,这放电电流在R\(_{g2}\)上产生一个大的电位降,使eg2为负并超过截止值使V\(_{2}\)不导电。然后这放电电流指数地减小至零,使eg2由负值慢慢上升至零,当e\(_{g2}\)上升到截止值时,V2导电,同时C\(_{2}\)放电使V1不导电。因此一个管子导电时另一个就不导电。这个过程周期性地进行,两个管子的屏压都呈矩形波地改变(如果线路完全对称的话。)于是从任一管子的屏极经过一个大的电容器可见输出一个矩形波电压。由于电容C\(_{1}\)和C2充电的效应使矩形波形的直角性不好,这可以用削波的方法加以适当的改正。(尤衡)