随着唱片质量的提高和录音音频范围的扩大,近几年来对扩音机的音质要求也日益提高,要使全部可听音频范围以内的声音,显得动听逼真,拾音器、扩音机和扬声器的音频响应特性需要从20—20,000周,同时失真率亦要很低。但要满足一般的要求,音频范围从60— 10,000周已经足够。从目前的扩音机制造技术来讲,要满足上述音频范围已不感困难,但拾音器和扬声器的特性除特殊设计的高级品外,远较扩音机为差,为了补偿拾音器和扬声器的缺陷,我们在扩音机部分进行高音和低音的补偿,来满足我们的要求。

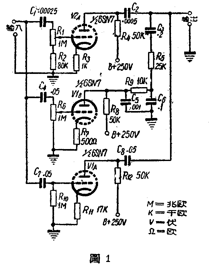
图1是利用三只三极管的音调调节器线路,其中两只三极管分别把高音低音放大,另一只把原有音频信号产生约3分贝的衰减,三者都在输出点相连,相位相同。V1\(_{B}\)是低音补偿部分,屏极上的滤波线路R9、C\(_{5}\)和C6只允许1000周以下的音频通过,输出音量由电位器R\(_{6}\)控制。V2A是高音补偿部分,输入和输出交连电容器C\(_{1}\)和C2把低音频滤去,只允许高音通过。当K\(_{1}\)向下旋到底时,有一只80千欧的电阻串联,在电位器上,使V2A的R\(_{1}\)在零位时仍有适量的输出,补偿V1A在V1\(_{B}\)的屏极滤波线路上所失去的高音。当R1和R\(_{6}\)都向下旋到底时总的音频响应特性是平坦的。

这种音调调节器应接在扩音机的前级,如拾音器和扩音机之间等,如要接在收音机上,可接在第一音频放大级和强放级之间。低音和高音补偿的最高范围如图2所示。
这个线路的低音频输出很强,容易使次级电子管过负,因此不应把低音控制器R\(_{6}\)旋到最大,而且低音输出过大,增加扩音机的音量时,有产生“汽船音”的可能,碰到这情形,可以减少扩音机上一只或数只电子管的栅极电阻值,必要时可以在屏回路里装退交连线路。


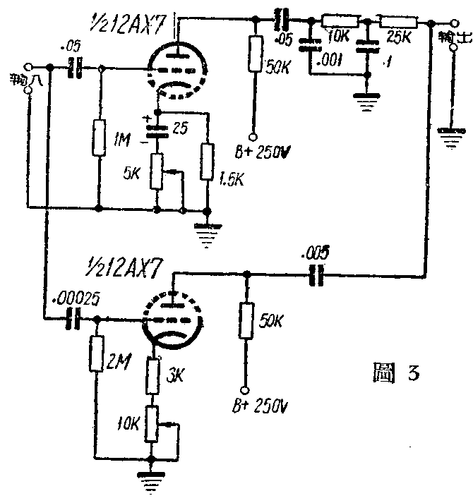
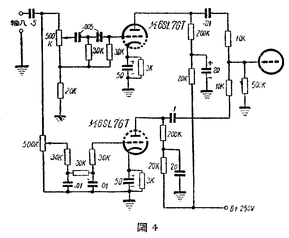
这种音调调节器可以简化如图3、图4。这种音调调节器接在收音机上使用时,音频响应特性有显著改善。图中一只三极管放大低音,另一只放大高音。在扬声器质量较差的扩音机上使用这种线路,音频特性会得到显著的改善。 (鲍耀昌根据美国“无线电与电视新闻”1956年9月份材料编写)