6.单管收音机的制作
单管收音机所用零件不多,可以装在用木板或薄铁板做成的小型底板上。木底板的制作比较容易,但铁底板的好处可只隔离一些不必要的感应。图12表示两种底板的形式供给读者参考。但具体尺寸还要根据零件大小,作适当的安排。

下面,我们介绍三种不同电源的单管再生式收音机的实际制作:
①电池式单管收音机
图13是用一只五极管IT4作检波的再生式收音机线路,所有零件数值图上已有注明。

先把各个需要安装的零件,装牢在底板或面板上,再进行焊接。焊接的次序大体是:先焊接好灯丝回路,其次是屏极回路、栅极回路,最后是线圈。栅极电容器到灯座的接线愈短愈好。
在没有焊接前,先来谈谈电子管管脚和插座的关系。电子管管脚那一脚是栅极,那一脚是灯丝或屏极,都决定于电子管的程式,接错了轻的收音机不响,重的就把电子管烧毁。因此,各种各样的电子管管座的接线,为了焊接方便都有一个统一的规定:就是把管座(或电子管)翻过来看。例如1T4用的是“花生管座”也叫“小七脚管座”,它一共有七个插孔,在管座上排成一个大半圆形,留出一段空缺,把管座翻过来看,从缺口的左端第一脚数起是1,挨次数下去到最右端的是7。
图13中的电子管就是根据这种管座插孔脚的编号方法,而在各电极旁注有适当的数字,只要把接线焊接到相应数字的插孔脚上,将来电子管插入管座,它的各个相应的电极就和接线连接起来了。
1T4灯丝电压是1.4伏,非常省电。乙电是22.5到67.5伏,消耗的电流也很小,用小型干电池串联起来也够用一个时期,一般用22.5伏特(用15节干电池串联)就能收音,增加到67.5伏时,收听远地电台微弱的信号,声音可以较响。乙电太高了反不适宜。
图上虚线部分是加接的4个接线柱,当电池用完或者想节约电池的时候,可以在D处接入矿石,T处接入听筒,把电源开关关断,作为矿石机使用,电子管也不须拔上。但用电子管收音时,矿石和T处的听筒必须拔出。
机件焊好后,要经过校验才能收听,以免线路接错,把电子管烧毁。初步试验是用-2.5伏的小电珠,在它的两极各焊一根粗裸铜线(图14)插进管座的1、7两孔,照线路接好甲、乙电池,开启电源开关。小电珠能亮,表示电池回路正常。如果小电珠不亮或被烧毁,这段回路接线就有错误,应拆去电池检查,纠正后再试。直至小电珠发光正常,才能插入电子管。

图15是几个常用的直流电子管,也可以用在这个线路上,其中1L4、1U4是和1T4相似的花生管,不必更动管座和接线。1N5GT和IP5GT是GT式管,1LN5和1LC5是自锁管,要改用适当的管座。GT式和自锁式电子管用的管座都是八脚式,管座中心都有一个对正键的插孔,管脚编号也是从键孔的缺口左端数起为1,挨次到8。改换这种电子管的时候,管座编号也需依图上电极排列的次序改接。例如换用1N5GT的时候,1T4原来的控制栅(第一栅)是第6脚,现在这根线应按1N5GT的管顶;帘栅极(第二栅)原是第3脚,应改接为第4脚;其余屏极、灯丝等类推。此外,1LN5和1LC5的抑制栅(第三栅)是另由管脚接出的(1T4的抑制栅则已在管内和灯丝负端连接),使用时,应在管座上将第4脚和第5脚(或第8脚)连接。用1S5或ILD5时,小屏这一脚可以空着不接,或者接在灯丝的负端。至于电子管灯丝和甲电压正负极的接线位置,图上已有注明。

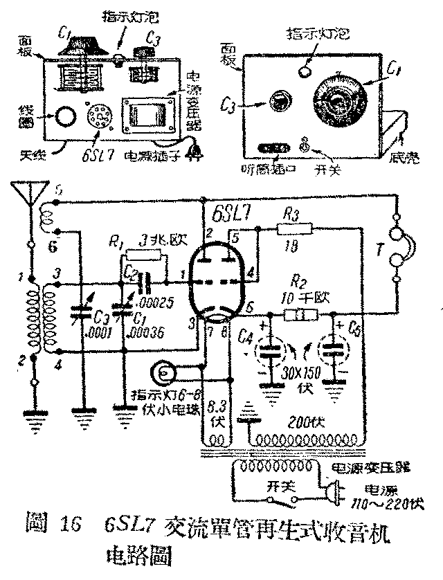
②交流单管收音机
有交流电的城镇,收音机的电源改用电灯电供给,维持费用可见俭省很多。不过这种收音机的电子管也要改用傍热式的,另外还要一套将交流电变为平滑直流电的整流装置,包括一个整流用的电子管。简单的收音机上所需的功率不大,可以用一个复合管来做这两个工作。
图16是一个交流单管收音机的线路。用6SL7CT双三极管的一个三极组作检波,另一个三极组的屏、栅合并成为二极管整流。高压直流电是从整流部分的阴极输出,经过由R\(_{2}\)和C4、C\(_{5}\)组成的滤波器变为平滑的直流电,作为乙电。R2上面通过的电流较大,要用2—5瓦的电阻,以策安全。R\(_{3}\)是为了防止负荷过大时烧毁整流部分的阴极而设的,可以截一段长约30公厘的电烙铁电阻线绕在磁管上,两端用铜线缠牢作为引线。

这架收音机最好装在铁底板上,并加一块面板,各接地点都焊在底板或和底板相通的裸铜线上。
电源变压器可以自绕,变压器铁心用市上流行的3号硅铜片、电铃变压器或大型音频变压器的铁心代替,铁心叠成后的截面积约5.2平方公分,如图17所示。选择铁心的时候,要考虑到它的窗口空隙是否能容纳得下绕好的线圈。线圈每伏绕10圈,初级220伏,用中规0.1-0.125(美规36—38号)漆包线绕2,200圈(如果当地电源是110伏特的,初级绕1,100圈)。次极高压200伏,也可用中规0.1—0.125号线绕2.000圈;次级灯丝6.3伏,用中规0.5(美规24号)线绕63圈。

机件装好后的试验,和前面干电收音机一样,先不插入电子管,等指示灯发光正常,再插入电子管收听。
6SL7GT可以用6SN7GT代替,管座接线完全相同。也可以用苏联管6H9C代6SL7,6H8C代6SN7。
图18是用一个普通的6伏电铃变压器代替上述线路中的电源变压器。这个电铃变压器只是燃点电子管的灯丝,高压直接从电源上取得,但是电源的一根线要和乙一连接;也就是要和底板相通,这样人体接触到机壳;很容易发生触电的危险。所以这种线路的乙一就不能和机壳相连,而靠C\(_{4}\)来把它隔断。和天线串联的C5也有这个作用。如果仍然麻手,可以把电源插头反一个身插,就可避免。

这种收音机的乙电压较高,听筒线圈也常会漏电,使用时头都和面颊可能会感觉麻震,因此,最好采用胶壳听筒,并将筒线套上橡皮套或用绝缘布包扎起来。机件要装在木箱内,C\(_{1}\)、C3的旋柄要装胶木旋钮,旋钮上的螺丝要用火漆或胶布封住,否则在调谐时偶然碰到这些金属部分,仍会麻电,要特切小心。
③交直流两用单管机
图19是一部可以用交流或直流市电的单管机。它是把图18中的灯丝变压器取去,改用一只降压电阻R\(_{4}\)来代替。R4的数值不是很整齐的,可以用一个相当阻值的国产线绕滑键电阻,移动滑键的位置来取得需要的阻值。接220伏市电时,R\(_{4}\)为712欧,可从1.000欧的电阻止取得;接110伏市电时,R4为346欧,可在500或400欧的电阻上取得。R\(_{4}\)在使用时会生高热,最好装在便于散热的地方,共和其它零件远离。

电子管如改用6SN7GT,R\(_{4}\)在220伏时为373欧,在110伏特时为173欧。
这两个线路没有指示灯,试验时要将一个6—8伏的小电珠依图14的做法,先插进管座代替电子管,开启电源后证明没有问题,才能插入电子管校验或收听。
7、校验、收听和调整
①校验 经过上面所说的对灯丝回路的初步检查,证明没有烧毁电子管的危险后,才可以进一步校验或收听。
校验前,把上面各线路图中的C\(_{1}\)和C3以及图7中的R\(_{2}\)旋在大约一半的地方,把听筒接好(听筒接线要分正负,听筒线端有红点的一根接乙+,有白点或没有点的接电子管的屏极,反接了听筒日久就要失去磁性),开启电源,电池式的马上就可试验。用交流或交直流电源的,要等候约半分钟,等电子管阴极烘热了才能工作。这时,要注意着电子管的灯丝和机件的内部,看看有没有过充或冒烟等等,如果发现这些失常现象,要马上关断电源并拔去插头,再次检查线路接线和零件。
校验是用一只螺丝起子作工具,用中指抵住它的金属杆,碰触电子管的栅极,听筒里会有“咯咯”,的响声,表示电子管是在正常工作;如果没有声响,要在屏极或灯丝回路检查(用电池作电源的还要察看乙电正负有无反接)。接着是碰融调谐电容器的定片,以后是天线柱,都应该听到这响声。声音没有或很弱时,要检查C\(_{2}\)是否完好,线圈有没有断线或线头接错。
直接用市电电源供给的收音机(例如图18、19的线路)在作这种试验时,身体要和地绝缘,切不可站在地上,双脚最好搁在椅子或木器上,以免发生意外,这一点要特别注意。
试验中如听到振荡的啸叫声是不妨事的,可以将再生控制器旋出稍许,将叫声除去。
②收听 经过上面的校验后,可接上天线收音。慢慢转动C\(_{1}\)找寻电台,在听到鸟叫一般的啸声后,就不要再动C1,将再生控制器慢慢退出,叫声随着变为“咕咕”的低音,再退出一点,清晰的播音声就出现了。如果在C\(_{1}\)调节到播音声时没有叫声,要将再生控制器慢慢旋进,让声音加大。这两个调节回路是互有影响的,调好再生力后,还应微微的旋动C1,如此反复调节一两次,使声音增加到最大。
用同样方法继续找寻其它的电台,并记住收到的电台在C\(_{1}\)度盘上的刻度,下一次调整时就更方便。
调节再生力要经多次的实验,才有良好的收音成绩。
③调整 再生控制器无论旋到那里,听筒里只听到尖锐的叫声,那是再生振荡过强的证明。可将再生线圈拆去5-10圈或将将它和调谐线圈距离拉得远一点,至没有叫声为止。
有时候,情形恰巧相反,无论把再生控制器旋到那里也听不见叫声,收到的声音很微弱,那是再生力不足的现象。这时再生线圈要略大增加5-10圈,或者将它向调谐线圈推近一点。如果乙电压低,增加一点电压也能使再生力加强,但是乙电压有一定的限度,超过了额定值,会和用提高甲电来增加再生力一样,严重地损害电子管的寿命,并不是好的办法。
调整再生力时,再生控制器应旋在中间的位置,使再生力在这个位置的附近有振荡发生。
如果没有再生振荡,还应检查再生线圈有没有接反
有时刚调好了电台,手一离开旋钮,声音马上变了,这是“人体感应”的现象。线路里原来没有高频扼流圈的,这时要将它接入,次级线圈没有接地的,要把它接地。用金属底壳的,可以避免这种现象。
有时收听远地微弱的信号,只能调到再生叫声,不能在再生控制器上调出声音来,这是限于收音机本身结构的简单,当然不可能要求太高,与线圈等零件无关。
这里自制的线圈,都是圆筒式的。它对接收靠近1.600千周一段的电台灵敏度较好,靠近550千周的一段,声音会要小些。如果希望收听的电台就在频率低的一段,可以采用售品的编织线圈(初级或初次级都用编织绕法的),声音可以大些。但是这种线圈在频率高的一段声音又比较轻。折衷的办法是用售品的编织线圈,在天线柱和次级线圈间(到调谐电容器固定片的一端)加一个半调整电容器就可解决。这个电容器,也可以用两根长约40公厘的粗漆包线较合后代替。
8.单管收音机的性能
再生式单管收音机的性能,要比矿石收音机或二级管检波的线路优越得多。再生式收音机收听的距离决定于广播电台的发射电力,并且又和收音机安装地区的地形、地质等有关。我国各地广播电台分布比较均匀,用上面的单管机收音,在一般的环境里,晚上可以比日间多收几个电台,这是无线电波在天空中传播时受到电离层影响的原故。属于同一原因,冬季收音要比夏季好,而且在夏天收音时,还常常会在收到的声音里夹杂着天电干扰的“沙啦”声。
虽说单管机的灵敏度比矿石机高得多,但毕竟是一种最简单的电子管收音机。因此,一付装置良好的天地线,还是非常重要的。只有用交流电源直接供给整流的例外(如图18,图19),不能加接地线。(冯报本)