有人送来一架苏联里加 T755型5灯外差机,长波收不到信号,中短波声音微小。这种情况说明灵敏度很差,但是用天线碰变频管、中放管的栅帽时,“喀喀”声却很大,似乎高频部分还正常。又用天线碰第二检波管的小屏,喇叭也发出很大的“咕咕”声,又说明低放部分也正常。当时没有仪表,无法进行各级增益测试。就利用另外一只国产收音机作为检修工具。
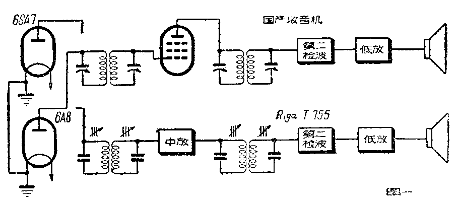
首先,按图1方法进行检查,试听结果良好,这就证明了T755机的高频部分正常。

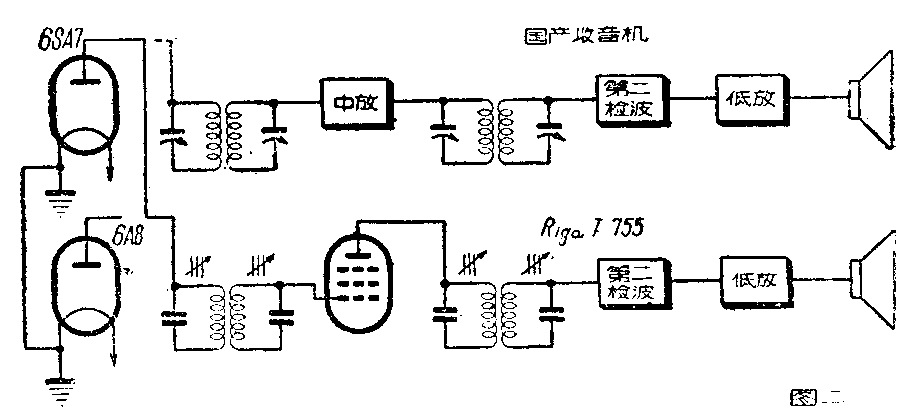
换了中放极电子管6K7,故障依然存在,这时怀疑至中频变压器的线圈是否正常,因为中频线圈是用多股线编绕的,如有一根或数根断线时,就会使灵敏度降低,但是检查的结果,并未发现有断路情况。可是当换用了一只中频变压器试听时,效率突然提高。这时又仔细地检查了拆下来的中频变压器,才找到了故障的根源。原来苏联T755型收音机的中频变压器,是用铁粉芯调节的。线圈的两端并连两只云母电容器。由于振动的结果,使其中一只云母电容器的外夹胶水板有了裂纹,这样便使电容器受潮漏电,因而大大降低了收音机的灵敏度。换用了一只电容器以后,故障便消失了。(正阳)

