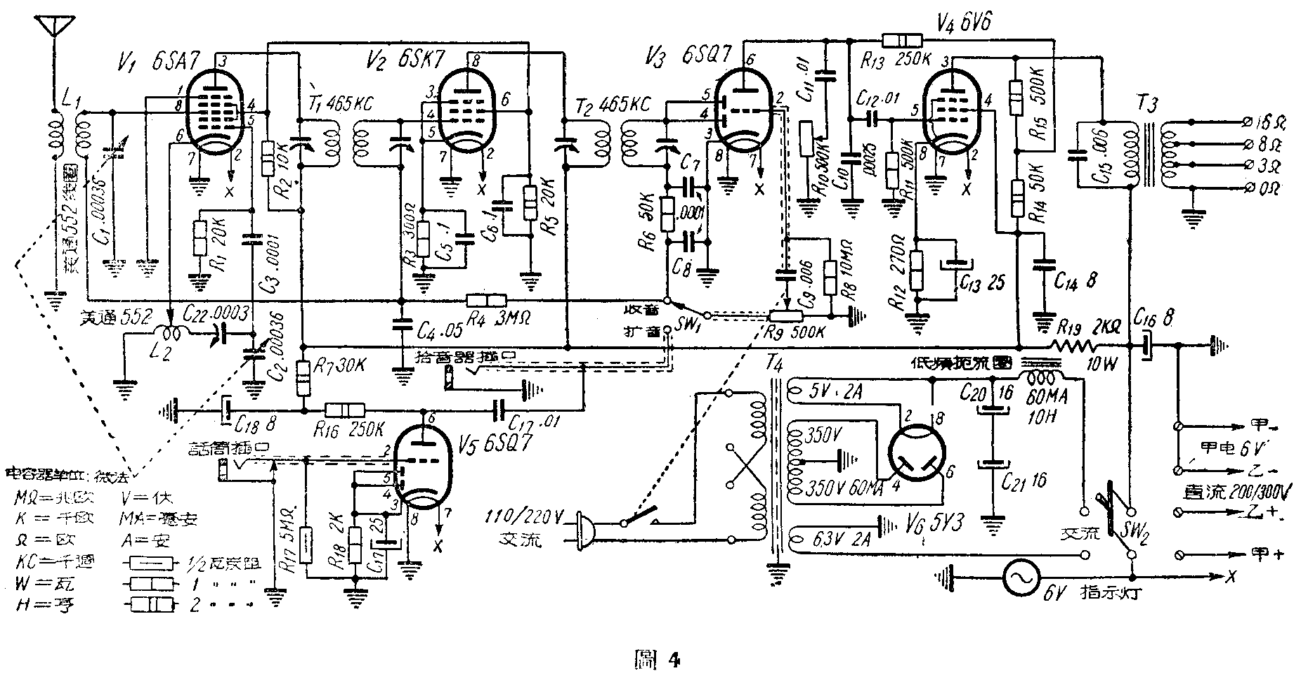
我们装置了一架小型交直流两用收扩音机,所用的零件和电子管全部都是国货,它的外形如图1,共计用6只电子管。电子管和变压器的排列如图2,零件排列如图3,经校验输出功率约有4瓦,配用1只25瓦16欧反射式扬声器供数百人会场使用,效果很好。该机线路结构如图4,它的收音部分是采用外差式线路,中频是465千周,收听范围是550千周至1600千周的广播段,用6SA7作变频,6SK7作中频放大,6SQ7作第二检波兼音频放大和自动音量控制,6V6作末级功率放大,在使用扩音时,话简输入经6SQ7(V\(_{5}\))作前置电压放大,拾音器输入接在SW1的扩音位置上,用SW\(_{1}\)单刀双掷开关变换收音或扩音。用SW2双刀双掷开关变换电源,交流电源用5Y3整流,消耗电力约50瓦;直流电源分甲乙电两组,甲电用6伏蓄电池供给,约消耗1.65安,乙电用200伏至300伏蓄电池供给,约消耗50至60毫安。



现将图4中部分线路解释于下:

负回授 为了使输出失真度减小和频率响应均匀,用R\(_{14}\)、R15与R\(_{13}\)串连成负回投网路,R14上的电压就是回输电压,R\(_{13}\)和R14串连实际上就是V\(_{3}\)的屏极负荷电阻,但R14的电压相位和R\(_{13}\)的电压相位是相反的,因此抵消了负荷电路里的电压,这样不但可以减小失真而且可以提高音质。
退交连 在使用扩音时,因V\(_{5}\)和V3、V\(_{4}\)的高压电源是由同一个电源所供给的,因此这个电源内阻就成为一个公共的交连电路,这样它的阻抗和V3、V\(_{4}\)、V5的负荷电阻成为串连,当V\(_{4}\)屏流变化时而产生电压降,就由电源内阻直接交连回授到前级去,因为在V5与V\(_{4}\)之间相差两级,回授电压同相,常常会引起振荡,产生叫啸声,用R7和C\(_{18}\)作退交连网路,将电源内阻的交流成分滤去,而不致发生振荡,同时能使屏压更加稳定,并且可以减低交流声。
高频滤波 为了使传真度增高,在V\(_{3}\)的小屏检波回路里装有B6和C\(_{7}\)、C8高频滤波网路,把V\(_{3}\)小屏检波后的残余高频成分滤去,使音量控制器R9上得到较纯洁的音频电压,这样可以保持输出的声音有较高的传真度。
音调控制 在V\(_{3}\)的屏回路上装有C11和R\(_{1}\)0音调控制器,C11作傍路滤波电容器,可从将较高的音频衰减,同时可以免除杂声,能够增加低音调,在收听音乐或放送唱片时,将R\(_{1}\)0。向左转动,能使音乐柔和动听。
整流部分 为了防止5Y3整流后第1级电容器被打穿,用C\(_{2}\)0和C21两只16微法电容器串连,并用扼流圈、R\(_{13}\)、C16、C\(_{14}\)且成两级滤波网路,R5作泄放电阻,能使整流后纹波平滑,电压稳定,减少交流哼声。
电源变压器T\(_{4}\)可以自行绕制,铁芯截断面积用30公厘宽的日字型硅钢片叠厚40公厘,以5圈1伏计算,初级线圈是110伏或220伏两用,用0.35公厘(29号)漆包线绕550圈两组共绕1100圈,次级高压全波整流,交流电压每组为350伏,用0.15公厘(38号)漆包线绕3500圈,中心抽头,整流管灯丝为5伏2安,由于次级灯丝线圈电压低,电流大,考虑到导线电阻的损失,故加10%计算,用1.02公厘(19号)漆包线绕27圈,6.3伏2安灯丝,也用19号线绕35圈,初级与次级之间用0.15公厘漆包线绕一层静电隔离线圈通地,以免交流哼声。低频扼流线圈铁心截断面是15×15公厘日字型硅铜片,用0.1公厘漆包线绕满3500圈,约10亨。输出变压器T3铁心截面积是20×20公厘日字型硅铜片,初级用0.13公厘(39号)漆包线绕2800圈,次级输出阻抗分3、8、16欧3个抽头,3欧用0.45公厘(26号)漆包线绕61圈,8欧用0.37公厘(28号)漆包线绕100圈,16欧用0.31公厘(30号)漆包线绕140圈,可以配用各种永磁式扬声器。在装置时应注意:(1)各种零件应尽量就近,各零件极间接线应尽量缩短,V\(_{3}\)、V5的栅极接线应用金属隔离线,以防感应。
(2)C\(_{14}\)、C16、C\(_{18}\)、C20、C\(_{21}\)电解质电容器,不要靠近电源变压器。
(3)焊接工作做完之后,先校对线路无误,可将电子管插入,再将喇叭和天线按上,按上电源,进行调整中频。调整中频方法请参考本刊1956年11期。(李泰义 李文生)