谈到放大器,大家就会联想到电子管、半导体等,可是还有几种放大方法,不为人所熟悉,其中最新颖和罕用的要算介质放大器了。现在想简单的介绍一下。
我们都知道用作固定电容器的介质常是纸、云母等等,这些材料的介质常数只在2—6左右,没有电压特性(在电容器的两电极上加上电压,电容量减少的特性):即使它们有电压特性,也因为介质常数小,不特别制成很大的容积,还是得不到我们所要求的电容变化的幅度的,所以不能用作放大器。用作放大器的介质必须是介质常数比较大,电压特性比较显著的材料,例如钛酸钡(BaTiO\(_{3}\)) 系或锆酸铅钢[ZrO3(Pb-Ba)]系的材料。为了便于理解,把这类介质特性和电子管放大器的特性作一比较(图1)。

介质放大器用电容器的构造见图2,在钛酸钡系或锆酸铅钡系介质的两面各敷一层银膜,银膜上面复一金属片,线头就由金属片引出(如不用金属片,可在银膜上焊上充分的焊锡,线头由焊锡上引出)。为了增加机械强度和防潮能力,可先把它放在磁质容器里,然后灌注绝缘防潮剂。实际使用时这种放大器常接成两只串联,为了使用方便,可如图3做成两组,同时封入一个容器。


介质放大器的工作原理见图1甲。当电容器两极上加上直流电压E时,电容量减少,它的性质和电子管栅负压Eg增加,屏流Ip减小时的“栅压——屏流特性曲线”相似。但电子管放大器中受栅压控制的屏流可以直接引出作输出,而介质放大器由于放大元件是电容器,直流不能通过(图3),因此要改用如图4的交流电压(这时介资放大器的负压和电子管一样,要用直流)。现在使电容器的介质在两极间出入变动,电容量改变,对加接在它两极上的频率固定的交流电源说,阻抗也随着改变(Xc=\(\frac{1}{ωC}\)),回路里就有和介质出入相应的电流流动(图5)。但是这种在放大器内用机械方法变动介质位置的方法并不实用。


用钛酸钡系或锆酸铅钡系作成的介质电容器,当两电极间加上一个微弱的信号时,等幅电流(即交流电源)就被控制,这个被控制的电流虽已被输入信号调幅,但由于正负半周对称,平均值等于零,不能利用。还要经过检波,把它变成脉动直流然后可作各种用途。也就是说,它完成了和电子管一样的放大作用。
图6表示介质放大器的工作情况,从T\(_{1}\)输入的等幅电流(一般是30千周)通过C1、C\(_{2}\),经检波器D检波后加到输出变压器T2的初级上。如C\(_{1}\)、C2为定值,通过T\(_{2}\)的电流也是定值。当A处输入一个信号电压,这个电压和图1甲一样与偏压E叠加到C1、C\(_{2}\)上,于是C1、C\(_{2}\)的容量随信号电压的大小发生变化,T2初极电流必然也起变化。微小的输入信号电压控制了输出端较大的整流电流,也就是输入信号已被放大。

图6线路的效率差,放大倍数不大。
图7是使L和C\(_{1}\)、C2组成的并联谐振回路和等幅电流的频率谐振,这样放大率有相当提高。

图7甲表示回路谐振频率f应比等幅电流的频率f\(_{0}\)略高或略低。因f和f0相等,相当于电子管放大器中栅压为零或在屏流截止点上,失真严重,无法使用。用过电容式拾音器的人立刻明白一定要使工作点落在谐振曲线倾斜部分直线段的中点,才能使C\(_{1}\)、C2的电容量有微小的变化时,谐振频率所呈现的阻抗有较大的变化。显然,如果谐振回路的Q愈高,放大率愈大。
在图7乙的线路中,输入信号通过高频扼流圈RFC而加到C\(_{1}\)、C2的两端,C\(_{1}\)、C2的工作点选在谐振曲线倾斜部分的中点如图7甲。C\(_{1}\)、C2和输入信号相应变化,回路的谐振频率也随着变化。因为f\(_{0}\)不变,L两端的谐振电压就和输入信号同样变化,经检波后输出,完成放大工作。
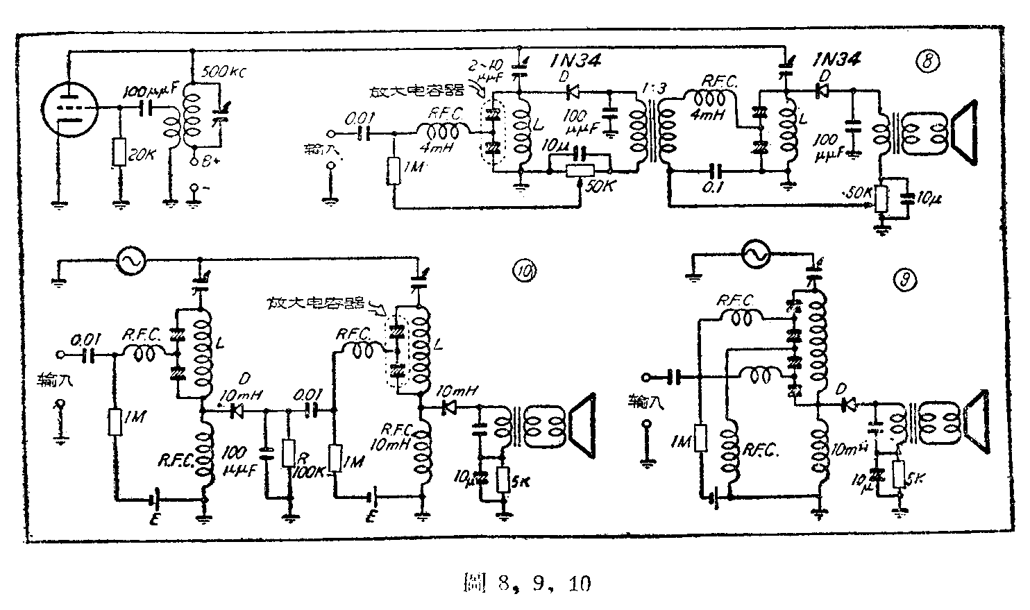
图8是实用的线路,电子管输出-500千周左右的等幅信号,经修整电容器分流入各放大级。偏压是整流后的输出电流(直流),通过高电阻降压后接到各放大电容器。图9是为了要得到较大的输出,负荷与电源串联的线路。

这些线路经原作者试验,结果如下:电力放大约30余分贝,电压放大约10余分贝;当负荷感抗为10千欧时,最大输出约0.8瓦(400周时测得),频率响应很好,在50周到10千周(负荷用10千欧电阻)几乎完全是平的。如把图10改用变压器交连,输出比图8更大。
这种放大器的优缺点:
优点:1、无热阴极,2、可半永久使用,3、小巧,4、耐震,5、消耗电力小,6、输入和输入阻抗大,7、耐得住过负荷。
缺点:1、电源必须用等幅波,2、要用检波器,3、现阶段稳定度和电压放大倍数较差,这是目前最大的缺点。但2、3两缺点有了较优的材料后都可以解决。(李秉衡 金庚年 译自1956年11月日本“无线电与实验”月刊)