编者按:本刊第一期曾刊载“收音机用电源变压器的计算”一文,这篇文章介绍具体制作的方法,是上一篇文章的续篇。
一、应用材料
30号漆包线(直径0.315公厘)约重0.12公斤。38号漆包线(直径0.152公厘)约重0.1公斤。19号漆包线(直径1.02公厘)约重0.1公斤。硅钢片约重1.5公斤。厚0.8公厘、宽4公分、长18公分绝缘纸一张。厚0.07公厘牛皮纸一张。白蜡纸(或牛油纸)一张。绝缘油绸\(\frac{1}{4}\)平方公尺。白布带一公尺。厚0.4公厘、宽4公分、长12公分青壳纸一张。厚约0.05公匣、宽3.8公分、长18公分薄铜片一片,软接线1;4公尺。铆钉焊片12只。绝缘漆(或白蜡、松香)少许。焊锡、焊油(或松香)少许。
二、应用工具
小型手用绕线车、计数表、电烙铁(40瓦)、烘箱、浸漆桶(或蜡锅)、0—10伏0-500伏两用交流电压表(或万用电表)和校验用高压变压器(0-3000伏交流可调式)各一只。
三、绕制线圈
1.线圈壳 用厚0.8公厘的绝缘纸做里壳,把绝缘纸按图1尺寸在虚线处用刀轻划一下,但不要割透,然后再折成图2形状。

2.木心 为了把纸壳固定在绕线车上,所以要做一个木心,撑在里面。尺寸按照低壳内径的大小,也就是铁心的横断面积(见本刊1957年1期14页图3),在木心中间穿一个直径约1公分的孔,以便穿入绕线车如图3。
3.把绝缘油绸、牛皮纸、白蜡纸(或牛油纸)裁成4公分宽的长条。
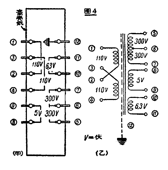
4.接线板 按图4甲式样用青壳纸和铆钉焊片做好接线板,在绕制线圈时,按接线板号码的顺序出头。

5.将线圈壳套在木心上,外面绕两层牛皮纸,在两层牛皮纸中间再夹一层绝缘油绸,固定在绕线机上见图5。

6.现在可以开始绕制初级圈,用30号漆包线,由①头开始绕,接出①头的方法是把白布带折成双层,将①头压在白布带折头内,白布带再压在漆包线下顺序的绕下去见图6。

7.绕完第一层后,垫一层薄蜡纸,再绕第二层,蜡纸的搭头处最好木心的上下两个狭面上,以免两侧因搭头太多变厚而影响硅铜片的嵌入。每绕完一层线圈就垫一层蜡纸,这样一层一层的顺序绕下去,绕到457圈时再垫入一条白布带,准备抽②头,绕到462圈处由所垫的白布带中把②头抽出,如图7。第一个462圈绕完后,垫两层牛皮纸,在两层牛皮纸中间夹一层绝缘油绸。将计数表拨回“0”,再按原绕法绕第二个462圈,抽头接③④。这时,初级圈已经绕完了,再在初极圈外边垫两层牛皮纸,在纸中间夹绕两层绝缘油绸。绕完后即可开始绕静电隔离。静电隔离用薄铜片绕制,在薄铜片的一端焊一软线出头,接到接线板上的(12)、这一圈薄铜片的搭头处不可接触,中间要夹一牛皮纸条如图8。因为静电隔离层与铁底板接通,它与初级以及次级高压之间电位差很高,需要良好绝缘。所以在静电隔离的外面再垫两层牛皮纸,在两层牛皮纸中间夹绕两层绝缘油绸。
8.高压线圈用38号线绕,绕法相同,开始时抽⑤头,在1260圈处抽⑥头,绕完后抽⑦头。各头均应先焊接软接线, 再将软线接到接线板去。以免线细折断。
9.灯丝线圈用19号线绕,先绕5伏绕圈,抽头为⑧⑨,再绕6.3伏绕圈。抽头为⑩这几个线头可直接引出到接线板。次线各个线圈之间及最外层均垫两层牛皮纸并在两层纸间夹绕两层绝缘油绸。
在抽头时应注意,要把抽头绕在随圈壳搭头的一面,也就是要露在收音机底板下面的一面,见图9。在绕线时,线与线之间要绕得平,不要有空隙,以免太松会增加层数,因而绕不下。但也不可使线与线相互叠压,以免发生擦破漆皮而短路。线圈绕完后,将初次级引出的线头按号码接在接线板上焊牢。这时线圈部分就绕好了,可只把线圈从绕线架上取下;把木心取出,准备嵌铁心。

四、嵌铁心
为了减低涡流损失,最好每一铁片交叉镶嵌,如图10。铁心一定要嵌紧,以免产生叫声。在嵌铁心以前,线圈的两侧装两只绝缘纸圈以增加线圈与铁心间的绝缘。绝缘纸圈形状如图11。
五、初步校验
嵌好铁心后可开始初校验,检查各线圈电压是否准确。将②与③相联(参照图4甲、乙),①与④接上220伏交流电源,用0-500伏交流电压表测量⑤、⑥两端及⑥、⑦两端是否各为300伏,是否相等。再测①、②两端及③、④两端是否各为110伏,是否相等。再用0-10伏交流电压表测量⑧、⑨两端及⑩、端是否各为5伏及6.3伏。如电压不符时,即表示圈数绕错,须拆去重绕。
六、热处理
如各线圈电压均正常,即可进行热处理。热处理是为了使变压器增加防潮能力及绝缘强度。因为空气中有水份存在,会使变压器中的铜线受潮,所以要进行烘干,把变压器放入烘箱,在100℃的温度下烘四小时(最好用热风烘箱)经过烘干后,立即把变压器侵入绝缘漆中,绝缘漆的温度以80℃左右为宜。漆桶要用热水加热;不可用火直接加热,以免发生火灾。绝缘漆的浓度以能侵入变压器为宜,如绝缘漆太浓时,可酌量加入汽油调稀一些。浸过一小时后,再放入烘箱,直到把绝缘漆烘干为止(约12小时)。如无浸漆设备,可用煮蜡方法,将70%白蜡(石蜡),与30%的松香用锅熔化,将变压器放入,直到不冒泡时为止。(参考本刊1957年2期13页)。
七、最后校验
浸漆烘干以后再作最后校验。照初步校验的程序再重复校验一次,检查在浸漆、烘干以后是否有短路及断头现象。电压都正常时,就进行耐压试验。
1.②与③相接,在①与④两端接上1500伏高压,持续1分钟。
2.铁心相接,在①与端接上200O伏持续一分钟。
3.在⑤与端接上2000伏持续一分撞。
4.在⑧与端接上2000伏持续一分钟。
5.在⑧一⑩两端接上2000伏持续一分钟。
每次校验后,需将暂时连接线拆除。如均未打穿,各线圈电压又都正常,那么这只变压器合乎规格,可以使用。(白燕)