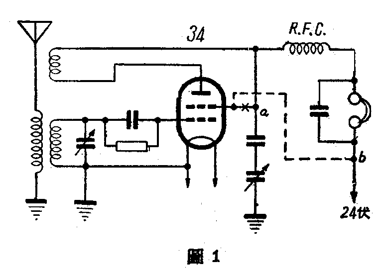
[问]:自己做一架单管收音机,线路如图1,发现无论怎样调整,在刻度盘的中间部分总有一段不能起再生作用,未知何故?(贾福海)

[答]:是线路错了,帘栅极不应该接在a点,如接到a点,就会使屏流通过由RFC听筒和再生电容器所组成的回路时发生回授作用。当这回路的特性使在某段频率中形成负回授时,就不能起再生了,所以,帘栅级应该接到b点。有时,由于天线回路谐振的影响也能使某一频率附近不起再生,即所谓“哑点”,这时可在天线中串联一小电容器(20-200μμF)来消除。
[问]:一般收音机上用的舌簧喇叭阻抗大约是多少?(陕坝镇广播站)
[答]:目前我国市面上出售的舌簧喇叭没有一定规格,一般直流电阻约为1000欧,在200周时的阻抗约为4500欧,1000周时约为10000欧。
[问]:自己装了一架4灯外差收音机,但不论长短波,都受中央台第一种节目干扰,未知何故? (何书)
[答]:因为中央台第一种节目的频率最低的为570千周,它与中频相近。所以若将中频变压器的谐振点调得太高,接近570千周时,那末中央台第一种节目信号就会漏过中频变压器而进入第二检波级,经检波后在喇叭中就会听到第一种节目。避免方法可调低中频或加前置选择回路。
[问]:一部25瓦扩音器在使用时输出变压器初级圈绝缘纸被打穿,同时输出管6L6的第二脚及第三脚间的管座亦被烧坏,不知是什么原因? (杨法福)
[答]:这是因负荷太小,即扬声器的总阻抗太大的缘故,因而使输出电压过高,将输出变压器及输出管屏极(第3脚)及地(第2脚)间的绝缘击穿了。可以加接假负荷如电阻或电灯泡等使负荷加大。
[问]:有两架外差式收音机,若分别使用时都很好,但一起使用时当调整甲机至某处时会使乙机发生啸叫声,且愈来愈大。若把乙机调至另一位置,啸声即消减,但当甲机调至另一位置时又会使乙机发生叫声,且各对应点的频率差几乎是固定的。(沈和平)
[答]:这是甲乙两机的本机振荡在混频级中发生差周,若刚好是中频时就相互激励,所以发生叫声了。
[问]:有一架直流外差收音机,甲乙电全新,但声音很小。当用手碰B\(_{+}\)则声音宏亮,未知何故?(王金永)
[答]:恐怕是由于地线接线(机内或机外)断线,或者是某一接B\(_{+}\)的傍路电容器断线。
[问]:我有一直流收音机,乙电90伏,用两节45伏的乙电池串联。新电用三月左右声音低落,且忽高忽低。经拿下测量,其中一节仍有45伏,但另一节只有30伏。后来拿去一节较坏的,只用45伏的一节,奇怪,声音倒比用两节时好得多。我们以为两节时有45+30伏=75伏,一节只有45伏,为什么一节反比两节好呢?(周恩科)

[答]:当电池用完时,极化现象非常严重,也就是说他本身的内电阻很大,所以在没有电流流通时或电流很小时,即它的开路电压可能仍与额定电压差不多 (用电表测量时),但当一有较大电流流过时(接上收音机时),就在这内电阻上发生很大的电压降,就是说很大一部分电能被消耗在电池本身的内阻上面了。所以接两节电时,坏的那一节电池不但不起好作用,相反的却等于加上一个电阻一样(图2乙),反而消耗了一部分那一节好电池发出的电能,所以还不如不加那节坏电池。
[问]:为什么有许多矿石收音机线路中将矿石的一头接在调谐回路线圈的抽头上(图3)而不接在线圈顶头上?(许可)

[答]:这样接时等于一个降压的自耦变压器,减小负荷对调谐回路的影响,亦即使调谐回路的Q值(品质因数)增大。这样虽然降低了一些音量,但可提高选择性。因为选择性是和回路的谐振曲线有关,而谐振曲线又决定于Q值的。
[问]:在有些收音机中没有单独的天地线线圈,而是经过一介小电容器直接接到调谐回路上的,这电容器有什么作用?(李新)

[答]:主要有下列几个作用:1.因天线实际上可看成一个由电容和电感组成的电抗元件,若直接把天线接到调谐回路上,等于在调谐回路上并联一个电抗元件,会影响收音机的正常调谐。若天线改变,收听电台在收音机度盘上的位置也将随之变动。接上一个小电容器就可大大减小这种影响,亦可防止再生“哑点”。2.因高频电流经过电容器时有电压降,电压降的大小随电容量而定,故选择适当的电容量,可以达到调节信号强弱或适应长短不同的天线的目的。一般这样接法常并联有两个或三个大小不同的电容器(图4)。3.由于减弱了一些外来信号,故比不用电容器时的选择性有所提高。4.在底盘带电(指交流市电)的无变压器式收音机中,加上这电容器还可防止天线带电。
[问]:为什么功率较大的扩音机和发信机的灯丝开关以及高压开关必须分开,并且先开灯丝后开高压?(李琴)
[答]:有两种原因:1.一般的整流管多为直热式,它的灯丝比它的负荷(其他电子管)热得快。也就是说刚开机时等于没有负荷,如果把高压与灯压同时加上,第一个滤波电容器上的电压就会过高,而被击穿;2.一般大功率的整流管多为汞气管,刚开机时灯丝不太热,管内温度不高,因之汞气压力很低,整流管内阻增大。如果立即加高压,大部分电源电压都作用在电子管的两极间,这样一来使正离子冲击阴极的速度增大,以致打坏阴极的表面。