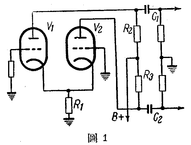
(沈铭宏)在许多种音频放大器倒相电路中有一种地栅式倒相电路如图1所示:

在图1中, V\(_{1}\)及V2的阴极都接在一起,当信号电压的正半周输入于V\(_{1}\)栅极时,V1屏流增加,C\(_{1}\)放电,输出信号电压是负半周。而同时由于屏流增加,R1电压降增加,V\(_{1}\)V2阴极对地电位增高,也就是说,V\(_{2}\)栅极电位负值增加,故V2屏流减小,C\(_{2}\)充电,输出一个正半周电压。反之,当信号电压在负半周时,V1屏流减小,C\(_{1}\)充电,输出正半周电压。同时由于V2栅负压减小,故V\(_{2}\)屏流增加,C2 放电,输出一个负半周电压,电路的倒相作用就是这样完成的。
但是R\(_{1}\)不仅要作V1V\(_{2}\)交连之用,而且还要当作产生栅偏压的电阻,故不能用得太大。通常不超过5千欧。由于R1电阻数太小,故V2栅极所得到的信号电压及V\(_{2}\)输出的电压也很小。因此通常只能将R2用得比R\(_{3}\) 小很多,以求得V1V\(_{2}\)两管输出平衡,结果使得整个线路电压增益降得很低。根据上述理由可以看出,要想提高整个电路的电压增益,就需要先加大R1的阻值,但R\(_{1}\)加大后,电压降就会增加,形成了V1V\(_{2}\)栅偏压的增加。随着栅偏压的大大增加,V1V\(_{2}\)的电子管放大特性工作点就会下移,引起了严重的失真。这也就是很少有人采用地栅倒相的原因。
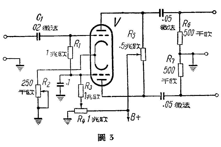
为了提高电路增益和栅偏压增加会失真的矛盾,可将地栅倒相电路作如下的改进,见图2。

当V采用电子管ECC40时,零件数值如下:
R\(_{l}\)l兆欧R240千欧R\(_{3}\)、R4100千欧R\(_{5}\)47千欧R6200千欧R\(_{7}\)1兆欧Cl0.1微法(或更大)C\(_{2}\)、C30.05微法。
在这个线路中,阴极电阻R\(_{2}\)用得很大,是个40千欧的电阻,当然这就会造成很大的电压降,假设它是30伏,这就也等于给了栅极一个负30伏的偏压。但同时通过R5、R\(_{6}\)的降压电路及R7、C\(_{1}\)的退耦电路,我们给两个栅极又加上了一个正电压,例如说是+27伏,这样一来栅偏压的实际有效数值就成了-3伏,于是就解决了提高增益和栅偏压增高的矛盾。
在理论上讲,当R\(_{3}\)=R4时,只要R\(_{2}\)-R6和R\(_{5}\)阻值选用适当,就能达到提高增益及两屏输出平衡的目的。但在实用上,当我们采用中放大系数三极管(例如6SN7等)时,我们可以采取一个折衷的办法,就是一方面提高R2的阻值,另一方面将R\(_{4}\)用得略大于R3,以期获得平衡。因为如果单从提高R\(_{2}\)阻值着手,就会使栅极及阴极对地的电位悬殊过大,容易造成极间闪火、产生杂音和减低有效电源电压的毛病。高放大系数三极管由于灵敏度高,R2不必太大,所以不必考虑这一问题。
我试验时的方法(见图3)是先将0.5兆欧电位器(R\(_{5}\))动臂校正于中点,使两屏负荷电阻相等,经电容器C1输入400周信号,将R\(_{2}\)及R4电位器的动臂同时由地向上调整,并保持阴极电压比栅极电压略高,这个差值应当近于该管甲类放大时的栅偏压数值,同时再观测两屏输出电压,调整到两屏输出平衡为止,然后记录各极电压及各电位器两部分的阻值,再换用同样数值的固定电阻就行了。

在这个电路中,电源电压及零件数值有些误差时并不影响整个电路的特性,因为当栅极正电压升高时,屏流增大,阴极电阻的电压降也会增大,故阴极正电压与栅极正电压间仍能保持一定差值,变化总是跟踪的,不会产生失调现象。下表是作者根据实验所得数据,可供参考。
附表:(参照图2)
