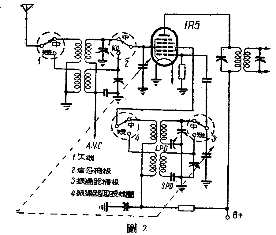
一般收音机中变换中、短波用的波段开关,大都是采用四刀双掷式的,按照所要收听的是中波或是短波,把收音机变频级中的四个变换点——1.天线、2.信号栅极、3、振荡栅极、4.振荡屏极或阴极——分别连接到中波线圈或短波线圈上(见图1、图2)。用这种接法时,每只中波或短波线圈都要先接到波段开关上,经过了开关以后才接到相关的各极上去,使这些接线拉得很长,增加了潜布电容量,又减弱了灵敏度,对短波的影响尤其显著。而且,每个波段的电路都是要经过波段开关来完成的,如果波段开关的质量较差就常常会因接触不良的原故而使收音机发生故障。


我们看到有一种较好的波段开关接法,现在介绍出来,供大家参考。
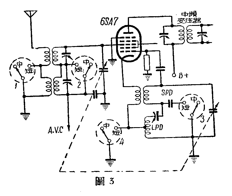
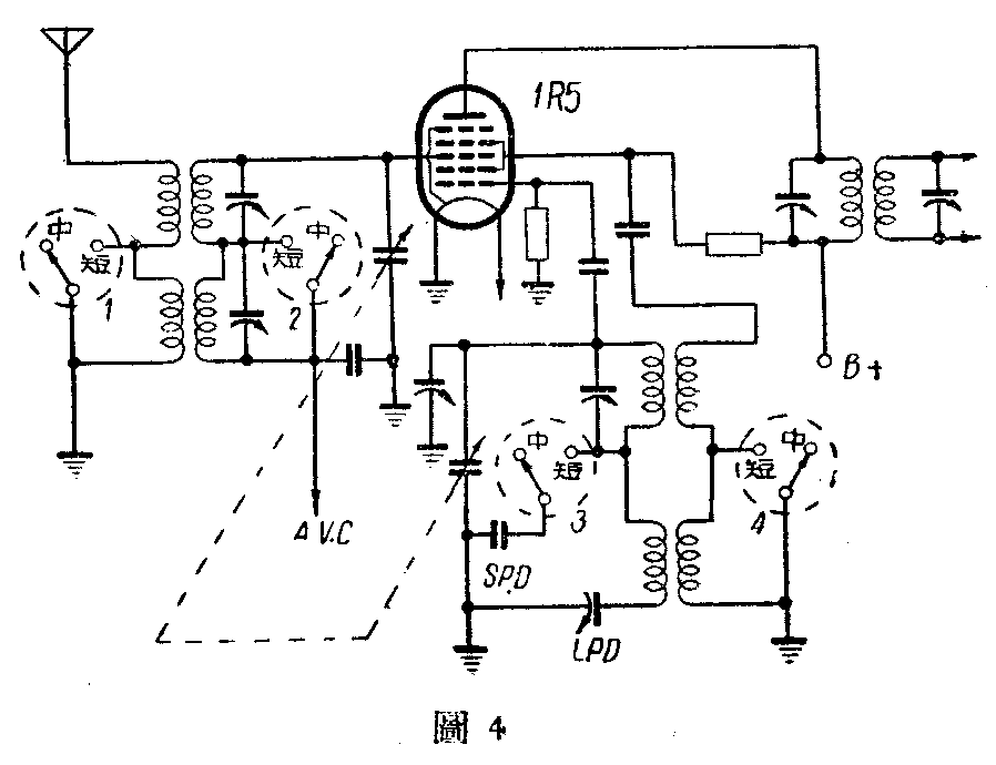
线路如图3(用6SA7交流电子管)和图4(用1R5电池式电子管),图中的波段开关是在中波广播的位置,这时实际上是根本未利用波段开关上的任何接触点,因此即使是波段开关坏了,对收听中波的广播来说,是没有一点影响的。这是第一个优点。


这种线路的第二个优点,是短波线圈的上端(高频电压高的一端)直接连到相关的各极上,不经过波段开关,缩短了接线长度,减少了损失,增加了灵敏度。
这种线路的第三个优点,是在用电池式收音机的时候。图4中振荡部分的屏回路线圈是采用并联馈电式,直流帘栅电流不经过回授线圈,这就大大延长了线圈的寿命。一般的电池收音机最常发生的毛病就是振荡屏线圈霉断,因为它们都是采用图2的线路,线圈上有高电压。经验告诉我们,带有高压直流电的细线圈由于长期的电解作用最容易霉断。
第四个优点,就是这种线路只用了四刀双掷开关的一半,实际只要四刀单掷就行了,另外的一半未用。在使用日久以后,假若这一半坏了,可把接线统统改接到另一半上去,等于另换了一只新的开关。(罗鹏搏)