1LN5是锁式八脚电子管,它的构造与一般的五极管有些不同,大多数五极管的抑制栅极都在电子管内部连到灯丝上,而1LN5的抑制栅极却是单独连到电子管第4脚,见图1。(图1是1LN5的反视管座图,看电子管管脚编号的方法是把电子管翻过来,头向下,脚向上,由对正键左边的脚开始做为第1脚,顺时针方向数过去,到8为止)。因为抑制栅极离屏极最近,所以可以用低屏压,即可使电子管工作。

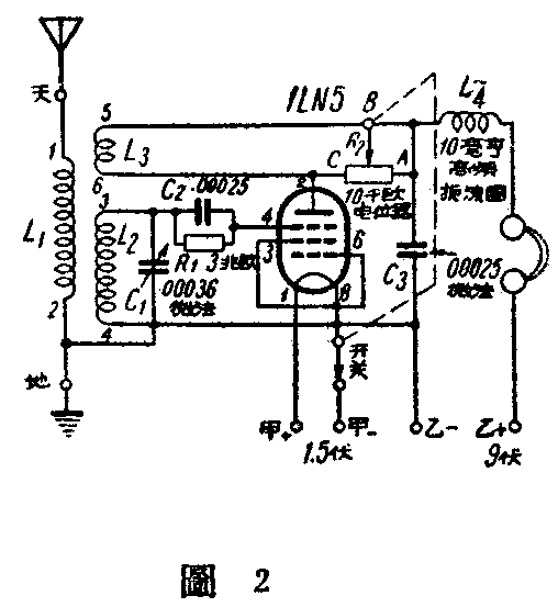
图2是单管机的线路图。

图2中L\(_{1}\)、L2、L\(_{3}\)是普通用的三回路再生线圈。如愿自己绕制,可以用一个直径38公厘,长80公厘的圆筒(纸筒或胶筒均可)。在筒的下边按好6个焊片,分别注好1、2、3、4、5、6六个号码。用38号漆包线(0.16公厘直径)先从圆筒顶部5公厘处开始向下绕约50-80圈,线头接第5只焊片,线尾接第6只焊片,这个线圈就是再生线圈L3。相距L\(_{3}\) 3公厘处开始绕次级圈80-100圈即L2。L\(_{2}\)的线头接第3只焊片,线尾接第4只焊片。相距L2 3公厘处开始绕初级圈40-5O圈即L1。L\(_{1}\)的线头接第1只焊片,线尾接第2只焊片。见图3。绕线时注意绕线方向应当一致,接焊片不要接错。

为了装置方便,可以用一只由面板和底板组成的机座,见图4。面板和底板用较薄的干燥木板,底板下面的垫木可以稍厚。底板的尺寸如图4。底板用两块宽窄不同的木板并钉在垫木上,中间留出一道30公厘宽的缝隙以便安放电子管座及线圈。垫木的后面两端钉一块木条,在这块木条上钻6个小孔,以便安放天线、地线及甲电、乙电的接线柱。并注明天、地、甲\(_{+}\)、甲-、乙\(_{+}\)、乙-等字样以免接错。在面板上钻两小孔,以便安装可变电容器C\(_{1}\)及电位器R2。面板下面再钻两个小孔,以便安装听筒接线柱(图4上未画)。

做好底座,配齐零件以后,即可按照图2接线。先将零件在底座上排列好,底板上面装可变电容器C\(_{1}\),电位器R2。电子管的管座和线圈跨在底板的缝隙上,其他零件可以装在底板下边。接线时注意不要接错,焊接要好,接线要短。
如果买不到电位器R\(_{2}\),可以改变部分线路,如图5。图5中加添的可变电容器C4的容量是0.0001微法或0.00025微法均可。如再生力太强时,可以适当减少再生线圈L\(_{3}\)的圈数。

本机的电源可以用7节小电池,用1节小电池作甲电,用6节小电池串连起来做乙电。
接好天地线以后,这架收音机就可以开始收音了。(俞嘉生)