收、扩音机里交流哼声的产生原因是多种多样的,但大多数是由于整流器滤波部分的滤波电容器容量不足,或扼流圈电感量不够所引起的。
增加滤波电容器的电容或扼流圈的电感,常常由于底板太小而不能采用,同时这个办法也不够经济。
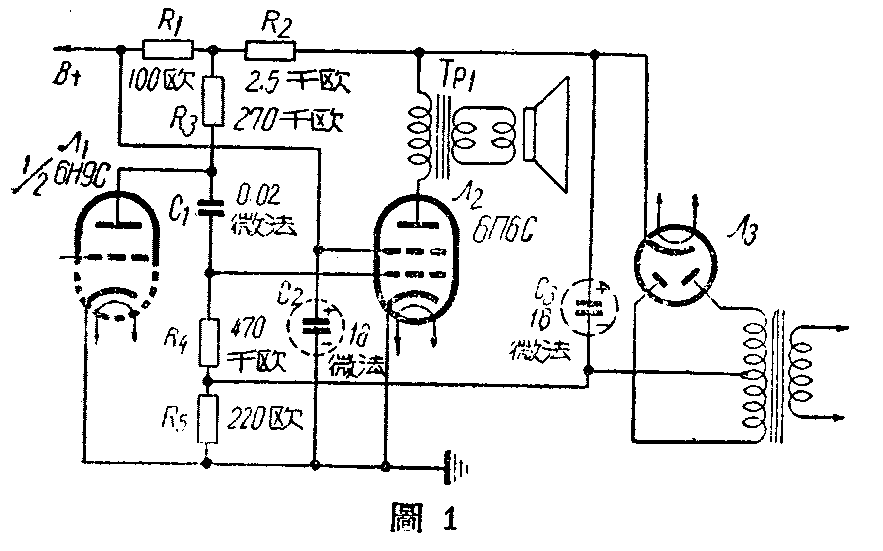
下面介绍的是另一种经济的办法。

这个办法的优点是可以省去一只低频扼流圈,而只增加三只电阻(R\(_{1}\)、R2、R\(_{5}\))。其中R5接在整流器的B-回路中,它两端的电压降,作为强放管л\(_{2}\)的栅偏压。R1、R\(_{2}\)串联在B+ 回路中,而电压放大管л1的负荷电阻R\(_{3}\)就接在R1和R\(_{2}\)的中点(图1)。这样, C1、C\(_{2}\)、R1、R\(_{3}\)、R4和R\(_{5}\)就组成了一只电桥(图2)。

当桥臂零件的数值,特别是C\(_{1}\)和R1的数值选择得准确,使电桥完全平衡时, C\(_{3}\)两端电压的交流成份便加不到л2的栅阳极间,达到了清除交流哼声的目的。在输出变压器Tp\(_{1}\)次级所测得的哼声电平等于-63分贝。
从图中可见,R\(_{1}\)、R2和R\(_{5}\)还起到了代替笨重的扼流圈的作用(图3),但必须注意到,全部乙电流都流过R5;除去л\(_{2}\)的屏流外,其它乙电流都流过R1、R\(_{2}\),故应选用瓦数较大的电阻。(邵本钰根据苏联“无线电”杂志1956年第3期编写)