最近我试装了一架二管的外差机,装置简单,性能也很好,现将它的线路及装置要点介绍给大家。
线路
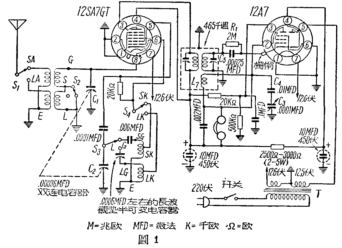
线路是一级变频(用12SA7,若电源变压器灯丝有抽头,也可用6SA7)一级再生检波(用12A7的五极部分)及整流(用12A7的二极部分)。
整个线路见图1,信号自天线进入后,经过调谐选择回路,进入12SA7,而和该管振荡部分所产生的本机振荡混合产生“混频”作用而变成中频(465千周)。

中频信号经过中频变压器交连到检波管12A7的栅极。12A7栅帽上的2兆欧电阻R\(_{1}\)是栅漏,0.00025微法的电容器C5是高频信号的通路。这一电阻和电容器是使12A7管能起检波作用的主要零件。为了提高灵敏度和音量,在检波级中还装有再生回路。由L\(_{7}\)、C4、C\(_{3}\)组成。
接线
零件齐全之后,就可开始安装。首先将各种应用工具如小刀、剪子、钳子、烙铁、松香、焊锡等准备好,将各主要零件安在底板上(图2),然后将各管座应该接地的接头焊到底板上,再将灯丝接线接好。此后按照整流、检波、变频级的次序依次焊接。

在接线时,要算波段开关和二波段线圈那一部分比较困难。一般二波段开关都是单层的,其中S\(_{1}\)、S2、S\(_{3}\)、S4的接片都在里圈,它的活劫接片就在它的外圈上,每一组成三角形排列(如图3)。

校验
所有线路焊好后,就对着线路图仔细校核几遍,保证没接错后,插上耳机和电子管(注意,这线路中耳机是不许拿下的,否则要烧坏电子管),接上电源及天线,转动双连电容器(C\(_{1}\)、C2),即可听见电台广播声音,然后用胶柄螺丝刀慢慢地左右转动中频变压器顶上的二个半调整电容器,至声音最大。但应注意,不要转得太多,要慢慢转,否则会把它调乱。其次是校验信号和本机振荡的跟踪,这部分比较困难。但好在售品的线圈是都已配好的,所以就是不动它也差不多,若要仔细调整,可参阅本刊1956年11期文章。
还有再生线圈,它是要自己用漆包线绕在中频变压器铝壳内两线圈的下面,它的圈数要刚好使再生电容器旋进十分之七八时开始振荡(即有叫声)为度,装置时若不振荡,且电容器愈旋进去时声音愈小的话,说明再生线圈的两头接反了,必须倒接过来。
收音机装好后可以用一木箱将它装起来(图4)。

效能
这架收音机的效能,在重庆试听时,只接了一根3尺长的天线,试听结果,白天收本地电台可推动75公厘的永磁喇叭,声音很宏亮;在晚间可收中央人民广播电台的几个波长以及湖北、安徽、四川、湖南等电台。若接上较好的户外天线,效率当然会更好些。(白克荣)