这是多么有趣啊!一架小飞机在运动场的上空飞翔,或者一只小汽艇在公园的池水中航行。它们的大小不过一公尺左右,既不能乘人,更谈不到有人驾驶,可是你看,它们俯冲、爬升和转弯却完全听从我们的指挥。
这就是无线电操纵的模型飞机。
发信机装在地面上,操纵者用操纵器控制发射机工作,向空中发射电磁波。接收机装在模型飞机上,接收由发信机发来的电磁波,使继电器工作,接通或切断另一组电池,控制电磁铁擒纵器工作,带动杠杆机构使操纵面(如飞机的尾舵)动作,从而使模型改变航行方向。
发射机
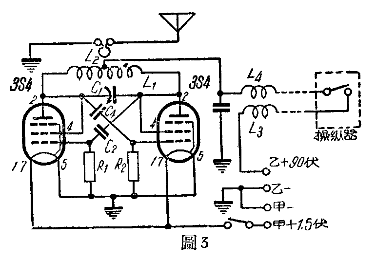
发射机是用两个3S4管组成的推挽式振荡线路(图3)。输出虽小,但制作和调整得合适,操纵距离将超出500公尺。

制作 发信机振荡频率是27兆周,可由L\(_{1}\)和C1的配合得到。振荡线圈L\(_{1}\)是一个直径26公厘的空心线圈,用1.0公厘直径(18号)的漆包线或裸铜线绕8圈,中心抽头。绕成后长度为26公厘,把它装在胶木板或有机玻璃板上。胶木板上铆上空心铆钉或鞋扣眼,然后将线圈的头焊牢在鞋扣眼里(图4)。L2用同样直径的铜线弯成一个只有一圈的线圈,架空套在振荡线圈L\(_{1}\)的外面,不要相碰。L2两头用同样方法固定在胶木板上。C\(_{1}\)是3—30微微法的半调整电容器,要求体积小,调节精细。C2和C\(_{4}\)是磁质或云母电容器,它们的电容量要求相差不大。R1的阻值在调整机件时可增减。接到操纵器去的是相当长的导线,为了防止高频电流的辐射,所以串联了两个扼流圈L\(_{3}\)和L4。这两个线圈可照图5方法,用0.32公厘(28号)丝包线在直径15公厘的圆管上各绕50圈。底板可用厚1.5公厘的铝板,尺寸如图6。



因为频率比较高,接线要短,R\(_{1}\)、R2可直接焊在电子管座上,导线不要太细,以免电能损失。
操纵器是一个揿扭开关,用较长导线接到L\(_{2}\)、L3的两个接头上。开关闭合时,发射机就发出信号,反之,就停止工作。所以操纵器实际上就是控制发射机的“发”与“不发”。
天线是发射机非常重要的零件,可用1/4波长的垂直天线,长约2.7公尺,最理想的是可以伸缩的天线杆。地线可用铁棒或长螺丝刀插在地上即可。
发射机电他可用两个45伏乙电池串联成90伏。

整个发信装置如图7照片所示。振荡器可用4个长螺钉高架起来,天线杆视具体情况用胶木板支架起来。箱板上穿过天线的洞眼要挖得大些,天线杆与箱壁离远些,不要相碰。

调整 用一只0—50毫安的直流电流表串联在屏回路内。再准备一个如图8所示的拾电圈。
调整方法如下:1.暂时不接天线,接上电源后用拾电圈平行靠近L\(_{1}\),如小电珠发光,表示线路已经振荡。2.调节C1,寻求振荡最好的一点。当C\(_{1}\)转动到某一点,拾电圈最亮,表示振荡最佳。但电流表的读数却不是最大(约15毫安)。3.将拾电圈移开,此时屏流下降,但接上天线后屏流又升到15毫安,表示天线已吸收电能向外发射信号。天线的长度是否恰当,可以用手靠近或接触天线杆,观察电表的读数有无变动。譬如说:手靠近时屏流由15毫安减至12毫安,手移开后重又升到15毫安,表示天线长度恰当,否则可以适当的增减天线长度。
接收机
接收机线路和普通的再生式一灯机一样简单,不过在接耳机的位置换上一个继电器,这种线路和再生式单管机略有不同,多了两个○熄线圈L\(_{3}\)和L4,叫做超再生式(见图9)。

接收机是装在被操纵的模型上的,因此,要尽可能选用小型零件,尽可能装得紧凑,以减小体积和重量。
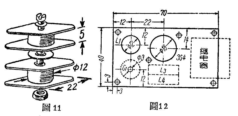
制作 L\(_{1}\)的铁粉心可以用有些收音机线圈的铁粉心。铁粉心选直径约8—9公厘,长约20公厘的(图10),把它塞在L1里,利用它一端的螺丝旋牢在线圈管底板上。调节铁粉心在L\(_{1}\)里的高低位置,可以配合接收频率。因此,省掉一只调谐电容器。

L\(_{1}\)是铁粉心线圈。用0.57公厘直径(22号)漆包线在直径10公厘,长约25公厘的线圈管上间绕15圈(圈与圈间间隔等于导线直径),中心7.5圈处抽头。
高频扼流圈L\(_{2}\)可以用0.1公厘(38号)直径的漆包线直接绕在直径约6公厘,阻值在1兆欧以上的电阻上,共绕70—80圈。两个线头分别焊在电阻的两个接线上,再涂上一层快干胶。
淬熄线圈L\(_{3}\)和L4是两个相同的线圈,用0.1公厘漆包线分别绕在图11的木架子里。各绕750圈。绕好后用螺丝钉装在一起,中间放一垫圈,互感量可以改变垫圈的厚薄,加以调节。
C\(_{1}\)是半调整电容器,它是一个用来调整灵敏度的零件,调整后的容量约8微微法。

天线长度约60公分,视模型尺寸可以增减,用较细的绝缘导线。
接收机的底板用2公厘厚的胶木板或有机玻璃裁成,尺寸及零件安排如图12。电子管座用套有弹簧的螺丝装在底板下面约1公分处,这样做为的是当模型不幸撞击时,可避免电子管损坏。底板四角4个小孔穿入橡筋后吊在模型机舱内,这样,模型上发动机强烈的震动就不至影响继电器工作了。由于所用零件不能完全相同,图上尺寸仅供参考。
接收机甲电可用手电筒电池,乙电可用上海久信牌电池,67.5伏电池只重240公分,可惜质量很差,不耐久。北京新兴工业社出产的22.5伏电池,重105公分,但性能尚待考验。
调整 在说明接收机调整以前,先要了解它的工作情况。在没有收到信号时,电子管有一屏流值,当收到信号时,栅负压增加,屏流降低,继电器就是利用这个屏流的变化工作的。因此,接收机要调整到在收到发射机发出的信号时,使屏流降低得到最小值。
调整时在接收机乙正回路内串联一只0—5毫安的直流电流表。再按下述步骤调整。1.灵敏度调整:缓旋灵敏度电容器C\(_{1}\)到某值(约8微微法)时,屏流突然从2.25毫安降到1.1毫安(乙电用45伏),这是线路已开始振荡的表示,再将C1放回少许,屏流又突然升到2.25毫安。这就是它的最尖锐的灵敏点。2.波长调整:开好发射机,慢慢旋转线圈L\(_{1}\)的铁粉心,使电流表读数降到最小,乙电用45伏时约0.9毫安(视接线和淬熄线圈情况而定)。此时表示已和发信机频率谐振。如果断开发信机操纵揿钮,屏流重又上升,假如不能恢复电表原来读数,表示调谐太尖锐,可将C1容量再稍微增大一些,但此时接收频率也因而有少许改变,要再调整铁粉心。如此反复调整,直至最满意为止。3.淬熄线圈调整:改变L\(_{3}\)和L4间垫片的厚薄,使屏流降落最大,开始时垫片的厚度可用1公厘左右。4.调整继电器:当乙电为45伏时屏流变化约2.2-0.9=1.3毫安,可将继电器调节到在1.9毫安时吸住; 1.4毫安时释放。乙电用67.5伏,屏流的变化由3-1.2=1.8毫安,可将继电器调整在2.6毫安时吸住,2.1毫安时释放。(待续)(陶考德)

