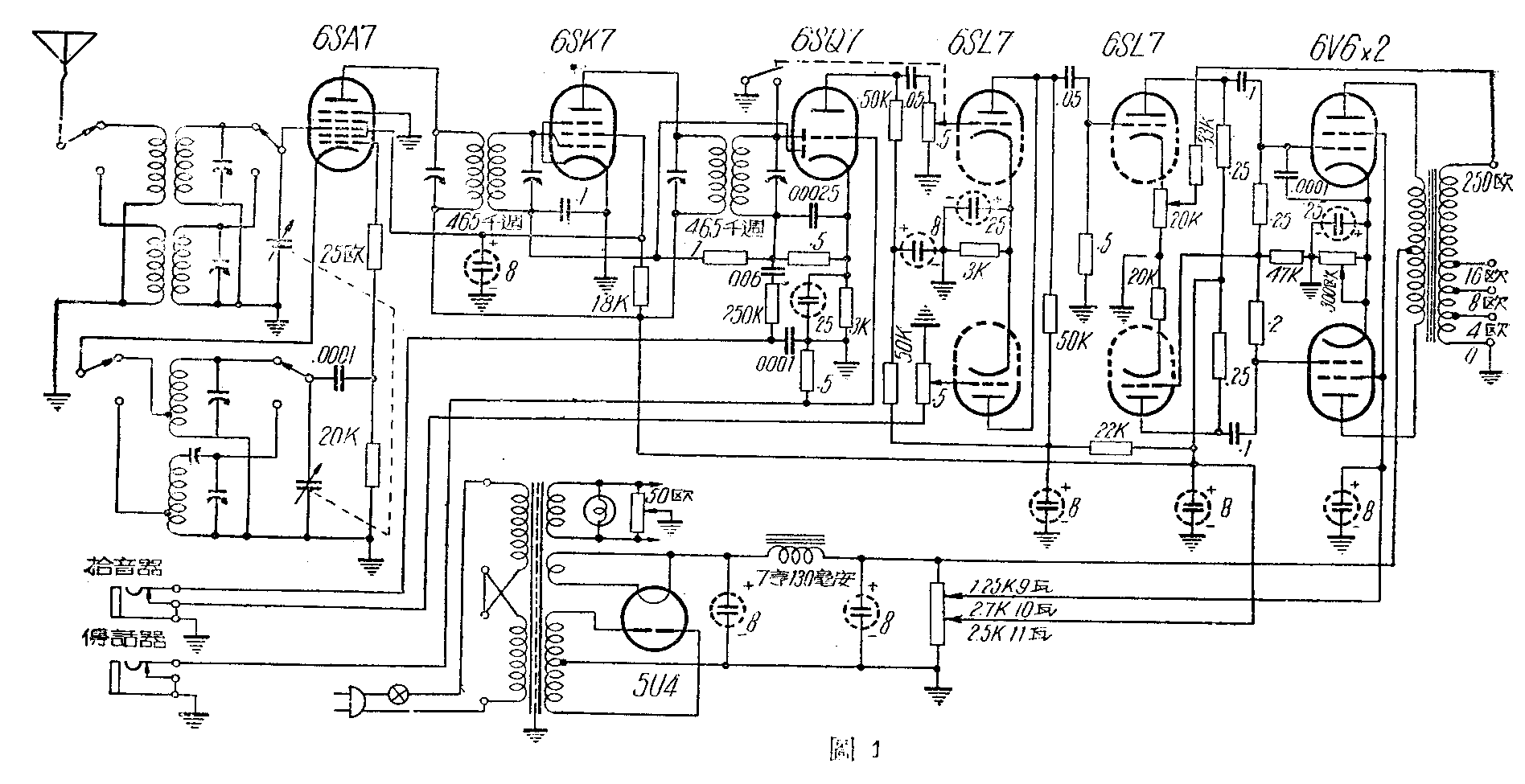
1.电源电压:110/220伏;
2.消耗电力: 100瓦;
3.输入阻抗:高阻抗式:
4.输入电平:微音器——-54分贝±1分贝(0.0034伏),拾音器——-24分贝±1分贝(0.11伏);
5.频率响应:70—9,000周,不超过±1分贝,55——14,000周,不超过±2分贝;
6. 失真度:400或5,000周输入,14瓦输出时,不超过2%;
7.最大不失真输出:不低于15瓦(5%失真度);
8.交流声:不超过0.3%;
9.收音频率范围:530—1,620千周,6—18兆周;
10.电源电压比规定值下跌10%时,输出电力不低于额定值之80%。



