一般的扩音机都附有收音设备,在准备播放无线电节目时,往往把收音机在寻找电台时的杂音也放送出去,听起来很不悦耳。
下面介绍两个不同的方法来解决以上的问题。
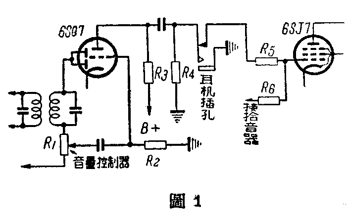
一、在第二低放级(例如6SJ7)的输入回路中加一个耳机插孔,见图1。当播放无线电节目时,先插入耳机,此时6SJ7的栅极回路被塞孔断路,低频信号不能进入6SJ7栅极。等到把电台找到,调谐以后,再拔出耳机让收音信号进入6SJ7栅极。不过要注意,在用耳机收听时往往嫌声音太小而把音量控制器旋到音量很响的位置,所以在拔出耳机以前要把音量旋小,拔出耳机以后再适当旋大,以避输出音量过大失真。

二、把R\(_{4}\)改用0.5兆欧电位器,见图2。这时耳机可串联一个0.01微法的电容器改接到检波管(例如6SQ7)屏极上。先把R4旋到音量最小位置,这时选择所要收听的电台,找好电台以后,再旋转R\(_{4}\)使喇叭放出适当的音量。采用这个办法还可以监听。(卓康湧)
