普通的收音机在同一个时间里只能收一个电台的节目。恰巧有两位同志住在一起,一个人想听京剧,另一个人想听音乐。而房间里只有一架收音机,怎么办呢?现在让我们来解决这个问题。
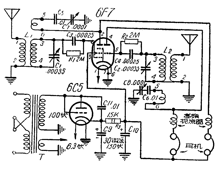
附图是一架交流二灯再生式收音机线路图。用电子管6C5作半波整流,6F7作检波。6F7是一只三极、五极复合管,我们可以把它当作两只电子管使用,所以图上的线路是等于两架再生机,所以也就能够同时供给两个人收听不同的节目。

图中L\(_{1}\)、L2是三回路再生线圈,C\(_{7}\)是五极部分再生调节电容器,C8是三极部分再生调节电容器。在安装时可以把两组调节部分分别装在在面板两侧,以免调节电台时弄混。在初学安装时,可以首先动手装好整流部分和三极部分试听成功以后,再继续装五极部分,这样容易避免接线时发生错误。
这架机器装好后试听的结果很好,各人可以任意收听心爱的节目,互不干扰。(祥康)