前些时候,有些报刊上曾报道过关于“压缩空气式扬声器”的新闻,叙述比较夸大一些,许多人都很感兴趣,并且希望了解一下它的内容。因此搜集了一些有关它的资料向大家作一个简单的介绍。
压缩空气式扬声器并不是新的创造发明,它的首次出现约在30年以前,在1933年上海出版的“中国无线电”杂志上曾有关于它的说明,当时把它叫做“司担吐风”(Stentorphone)扬声器。现在把那篇报导图样一并摘录如下供大家参考。
司担吐风扬声器放音的能量由压缩空气供给。成音电流仅控制放气的舌门,使放气面积随音量而增减。舌门用金属制成,形状像木梳。压缩空气压力,每平方公分为0.7公斤;压入箱内的空气,可由出气孔逃出。出气孔的启闭,由舌门控制;舌门动作,由电磁铁控制,所以低周率电流,通过电磁铁时,扬声器即能发生声音。用这种方法,能以微弱的电流,发生强大声音如图1。

30年前的“司担吐风”扬声器,实在太简陋了,远不能满足一只扬声器的起码要求,因之还没有成商品就被当时比较优秀的“平衡簧舌磁铁式”扬声器所淘汰了,等到“动圈式”扬声器在市场上出现以后,其他种类的扬声器也逐渐被淘汰,“新奇”的“司担吐风”式扬声器,也和它某些同类一样,连名称也淹没无闻了。如此长眠了20年,直到第二次世界大战后期,由于军事上需要 简单、坚固、轻便和效率高的扩音设备,在这样的场合下,对扬声器的音质要求是很低的,于是“司担吐风”扬声器才重新出头被注意起来,并很快地改进成为一种比较完善的商品,在战场上发挥了它独特的优点。可是由于它的喉咙虽然嘹亮,毕竟还不适于放音乐,因此,大战结束它又重复被人们遗弃了。


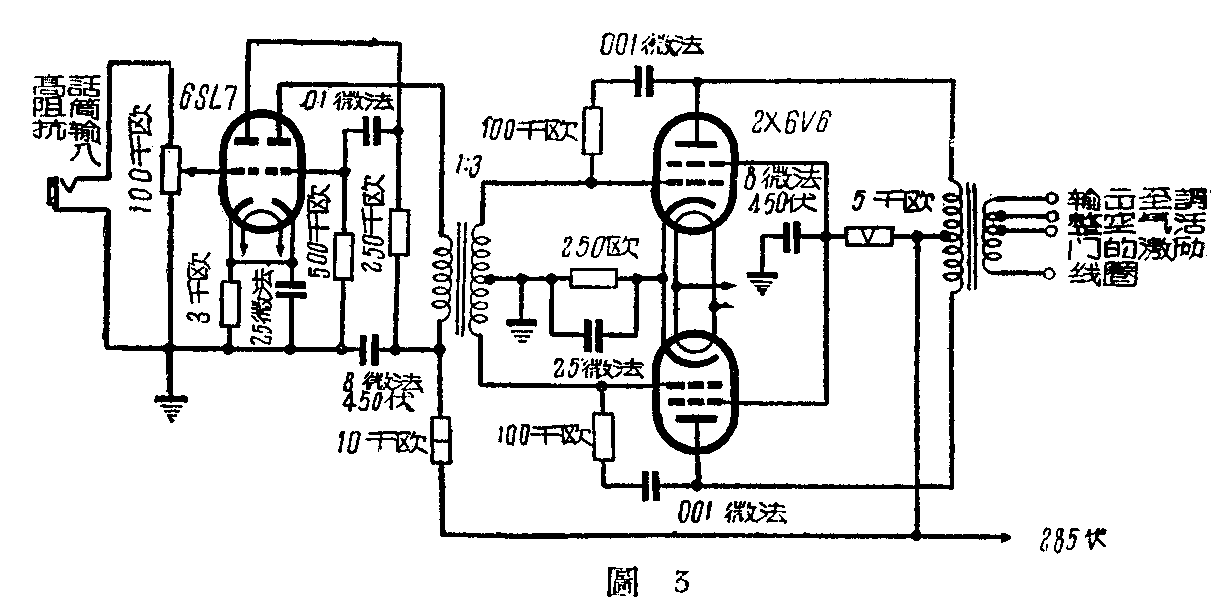
大战期间所使用的压缩空气式扬声器在性能方面比“司担吐风”要完美得多。全套扩音设备由三个部分组成(图2),第一部分是空气压缩机,由汽油引擎或马达带动,这部分构造和普通喷漆或车胎打汽用的“帮浦”差不多。第二部分是音频放大器,它的功率输出约十几瓦,是用来把话筒的输出放大后控制“空气调制活门”的。它的构造很简单,线路如图3,所需电源可由汽油引擎傍附带的小型发电机供给。第三部分是“控制舌门组”和扩音喇叭,这部分是全机的心脏。控制舌门组的构造很精密(图4),它包括一个U形用铝镍磁铁合金,(铝镍钴V)制成的强磁铁,一个音频激励线圈和一个多孔簧舌活门。这些东西装在一个外形好像电唱头的密闭的金属壳内,它的工作情况和老式的平衡簧舌式扬声器差不多,所不同的是簧舌的振动并不用来推动纸盆发音,而是控制出气小孔的面积,使得经过“控制舌门”的空气按照话筒的音频电流方式而变化。由上面所述,可以知道,发生声音的主要动力是“帮浦”所供给的压缩空气,放大器的输出电力仅仅作为控制,和输出的声音大小没有直接关系,如果“控制舌门”对通过它的空气能控制得很有效,那么,即使一个很大的扬声器,它所需要的控制电力也是很小的,这是和普通的扩音机根本不同的地方。它的效率是非常明显的。拿输出功率同样是300瓦的两种扩音设备作比较,重量方面,电子管式的约重340公斤,空气压缩式的只有36公斤重,管理维护方面也简单得多。空气压缩式扬声器还有一个很大的优点,它的发射器(喇叭筒)构造上可以很简单紧凑。普通动圈式装有反射式喇叭的扬声器,(高音喇叭)要做到每只能输出100瓦以上是很困难的,因此,在需要大功率的场合,不得不把很多只同样的扬声器接起来一同使用,这就使得设备复杂,效率也达不到理想的那么高超。特别当需要把音波集中成小角度播送的时候,例如在战地上对敌军阵地广播或喊话时,由于扬声器分散,音波不能集束播送,容易受气流等自然环境的影响,不能传播得很远。压缩空气式扬声器就没有这些问题,它用一支反射式喇叭就可以很容易的供给数百瓦的功率,并且可以用很小角度播送出去,在每平方公分0.7公斤的压力和每分钟0.283立方公尺的气流速度下,用一支45公分长25公分口径的喇叭,在一般的气候情况下,在十华里外可以很清晰地听到它的宏亮的声音。

它的音质比起通用的动圈式扬声器来要差得远了。因此,在广播或其他室内使用需要功率不大,音质要求高的场合下,它是没有立足余地的。(珣)