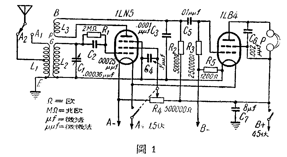
住在农村或市郊的无线电爱好者,都希望能装一架省电的再生式收音机。现在我把自己试制的一架2灯机介绍给大家。这架收音机在杭州可以收听到不少远地电台,如中央台、北京台、上海台等。在收听本地电台时,可以用喇叭代替耳机,声音也足够响亮。收音机线路见图1。

在选用电子管时,检波管可以选用灵敏度较高的五极电压放大管,如1N5、1T4、1LN5等。我采用的是1LN5,如果换用1N5或1T4时,线路不需要改动,只要把电子管管座的接头焊线改动一下就行了。电力放大管可以选用1Q5、1S4、1LB4、1T5等。其中1LB4及1T5比较省电,所以我采用的是1LB4。如换用其他电力放大管时亦需改动管脚接线。以上各电子管管脚的接线见图2。

图1中电位器R\(_{4}\)控制着1LN5的帘栅电压,它起着控制再生力的作用。R4可以选用5万欧、10万欧甚至50万欧的。
图1中电阻R\(_{5}\)是串连在乙电负极回路上的,它是电力放大管1LB4的代丙电阻,阻值是1200欧。如果检波管用1T4,放大管用1S4,R5的阻值是510欧;如果检波管用1N5,放大管用1Q5,R\(_{5}\)的阻值是360欧。计算的方法是用两只电子管的屏流与帘栅电流之和去除强力放大管的规定栅负电压,例如用1LN5作检波管,用1LB4作放大管时的算式如下:电阻=\(\frac{电压}{电流}\)=9;0.0015+0.006=1200欧。式中0.0015安是1LN5屏流和帘栅电流之和,0.006安是1LB4屏流与帘栅电流之和,9伏是1LB4所需栅负电压。
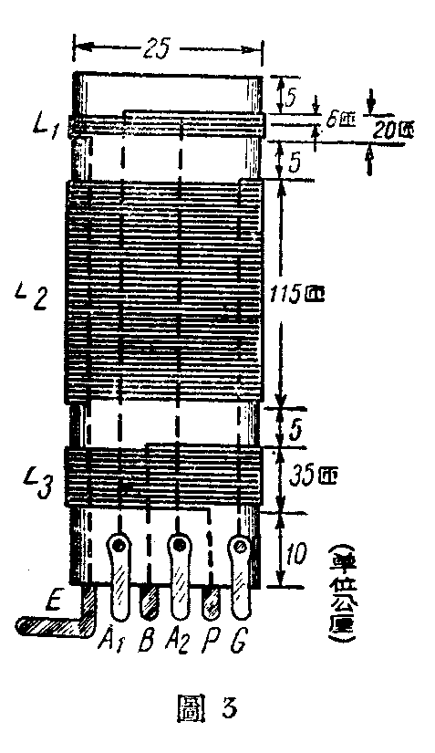
图3是本机的线圈。为了把收音机装得小巧一些,所以线圈管的体积较小,它的直径是25公厘,长度是70公厘。线圈管可用胶管或硬纸管。L\(_{1}\)L2L\(_{3}\)都是用38号漆包线(0.16公厘)。L1绕20圈,在第6圈处抽头接A\(_{2}\)。L2绕115圈,L\(_{3}\)绕35圈。L1与L\(_{2}\)之间、L2与L\(_{3}\)之间均相距5公厘。注意在绕线时方向应该一致,焊片接头不要弄错。

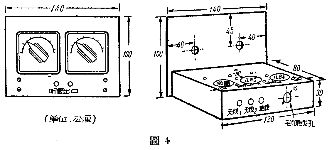
图4是本机底板图。底板可以采用厚度为2—3公厘的铝板或三夹板制作。底板上开洞位置应根据采用的电子管及零件来决定,图上的三个大洞,两个洞是安装电子管管座的,一个是装线圈管的。

此机甲电池可用一节手电筒电池,大约可用25小时左右。用听筒收听远地电台,乙电池用45伏。如果用舌簧喇叭收听本地电台,乙电池就要用90伏。
装好后的收音机见照片。(沈伟成)