在没有市电的农村里,要收听广播,必需用直流收音机。直流收音机的主要电源是甲电和乙电,也叫做“A”电和“B”电。这两种电源一般都采用干电池。因为干电池携带轻便,管理简单。但每因疏忽,或者不知道干电池的特性和接法,便会使收音机不能收音,甚至把收音机内全部电子管烧毁。下面便谈谈干电池的构造、使用方法和维护方法。
(一)干电池的构造
甲电中的一种是手电筒所用的小型干电池,直径是32公厘,高是61公厘,重量是75公分。收音机上所用的甲电是比手电筒所用干电池要大得多,所以它的容量也大得多,它的直径是63—66公厘、高是165—167公厘、重量约等于812公分。图1是它的剖面图。

a—是锌皮制的圆筒状外壳,也就是电池的负极(阴极)。
b—是渗透了电解质的纸壳,电解质的成分是氯化锌、氯化铔、氯化汞和淀粉等混成糊状胶体。
c—是含锰的去极剂,它含有二氧化锰、石墨粉、氯化铔等混合物。组成一个厚层包围着炭精棒的外围。
电池的极化作用是炭精棒的表面由于化学作用后附着有氢,这样就会使炭精棒的有效接触面积减少了,因此,电池的内阻就会增加,这样就会缩短电池的寿命。去极剂可以减轻电池的极化作用。
d—是敷盖着的一层沥青封口。
e—是铺着的一层细砂,有的电池是铺一层干锯木屑。
f—是炭精棒,也就是电池的正极(阳极)。
在电池正负极间的开路电压约为1.65伏,加上负荷后电压略有降低,约在1.5伏上下。在收音机里甲电电压假使降至了1.2伏以下时,这电池就已接近失效了。
(二)干电池的使用方法
1.并联接法 两个或两个以上的电池的正极和正极相接,负极和负极相接,如图2甲。并联的结果电压不变,电量增加,也就是说用两个电池并联供电,接到同一部收音机上使用时,每一个电池只要供给一半的电流,这样就可以延长电池的寿命。这正像两部或者两部以上的抽水机并联抽水一样,水位H和使用一部抽水机相同,但是抽水水量比一部抽水机大,如图2乙。


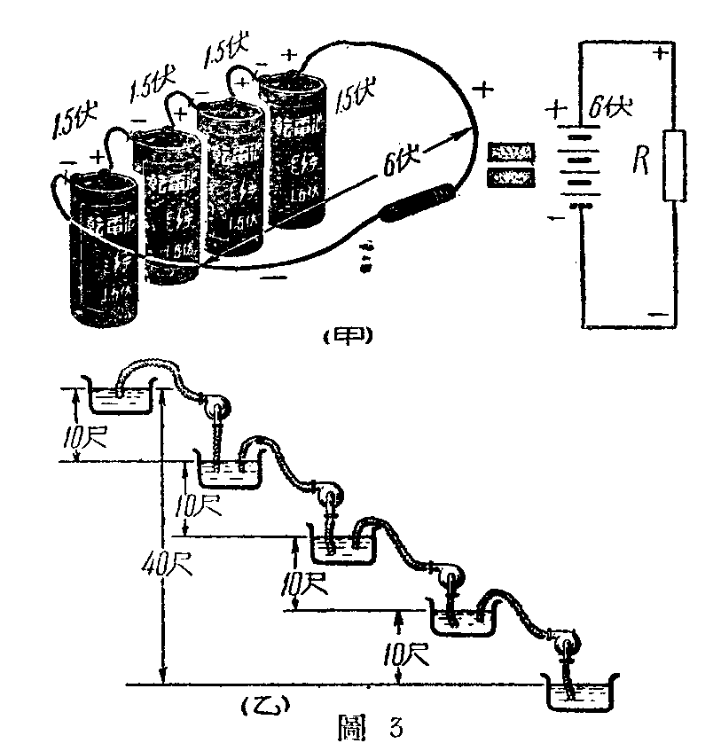
2.串联接法 一个电池的正极和另一个电池的负极相接是串联接法,如图3甲。串联的结果,电压相加,电量不变。例如四个电池串联结果,电压增为1.5伏×4=6伏。可是电流的输出还是一样的。这正像四部抽水机串联抽水一样。水位一部比一部提高。例如A比B高10尺,B比C高10尺,C比D高10尺,D比E高10尺,所以E比A共高40尺,可是水流量还是和一部抽水机相同。如图3乙。
3.并串联接法 如图4,把两个电池串联为一组,两组电池再并联。这样并串联的结果使得电压和电量都会增加,两个电池串联电压是3伏。例如负荷是100欧,它的电流是(电池的内阻不计算):
I=\(\frac{E}{R}\)=3;100=0.03安即是30毫安。
因此,每组电流是30÷2=15毫安。
4.收音机的甲、乙电:
直流收音机的灯丝电压是1.4伏,有的是2.0伏。所以可用两只电池并联,供给1.4伏灯丝电源。假使灯丝电压是2伏的,那就需要两只电池串联还需要串接一个可变的降压电阻来调节。假如一架三灯直流收音机所使用的电子管是两只30、一只34,每只电子管灯丝电压是2伏,灯丝电流是0.06安,三只电子管的灯丝并联后,总电流为0.18安。所以要把串联起来的两个电池的电压由3伏降为2伏,假使不考虑电池的内阻,灯丝降压电阻应为:
R=\(\frac{E}{I}\)=3-2;0.18=5.6欧

根据计算结果,要接上5.6欧的电阻,就可以把3伏的电源降为2伏。所以我们可以采用0—10欧的可变电阻来调节。为了减轻每组电池的输出电流,可用四只电池用并串联接法如图4,每组的输出电流可减为0.09安。

收音机上所用的乙电池是长方块的,这种乙电池是用30个小电池串联组成的,电池有三个接头。A接头是45伏,B接头是22.5伏,C接头是电池的负极,见图5。收音机的乙电源多采用90伏的,所以我们需要把两只45伏的乙电池串联应用。

在收音机里甲电和乙电的接法要特别小心,最好接在一个四孔的插头上,避免由于接错而把电子管烧毁。见图6。试机的时候,在接上电源之前,先把电子管全部取下,用2.5伏小电珠一只接到每个电子管灯丝插孔里,然后接上电源,假使小电珠的亮度正常,然后再把电子管装上,再进行试机。如果在用小电珠试验时,发现小电球被烧毁,那就是表示电源错接,应重行检验更正。

(三)干电池的维护方法
1.干电池不要放置在潮湿的地方,周围的温度不可过高或过低。绝不可晒太阳。
2.干电池不可大量放电,如负荷电流大时,应采用并联接法。例如一组电池可用30小时,两组并联后使用就可以超过60小时。
3.一只电池或一组电源的正负两极,不要短路,以免大量消耗电力。
4.已经失效的电池不可和好的电池在一起合用,因为失效的电池不仅不能供给电能,而且增加整个电路的电阻,就会消耗好电池的电能。
5.干电池的两极间应保持清洁,以免漏电,减低电池寿命。
6.如收音机停用时间较长,应将接到负荷的导线拆开,并将并联的接线拆开。
7.并联使用的各个电池的电压差愈小愈好,电压差不应超过10%。
8.电池失效以后,可将纸壳去掉,在锌皮底部钻几个小孔,浸在氯化铔(或食盐)溶液中,这样就还可使用些时候。(波流)